
5 of 42 ISSUED: 02-15-10 SHEET #: 095-9316-2 08-02-11
Installation to Solid Concrete or Cinder Block
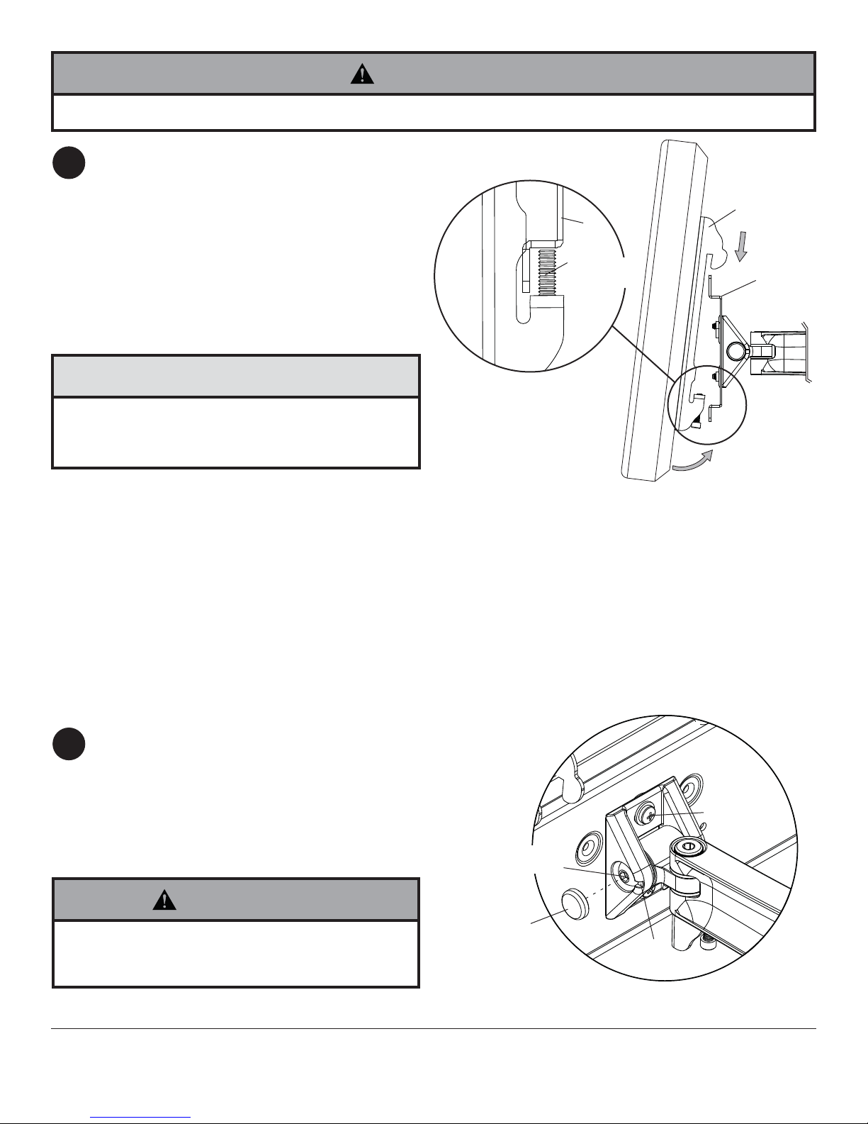
Make sure that adapter plate (A) is level, use it
as a template to mark four mounting holes. The
top mounting slots should be located 3.4" (86
mm) above the desired display center as shown
in figure 1.1 on page 4. Drill two 5/16" (8 mm) dia.
holes to a minimum depth of 2.5" (64 mm). Insert
anchors (D) in holes flush with wall as shown
(right). Place wall plate (A) over anchors and
secure with two #14 x 2.5" screws (C). Level, then
tighten all fasteners.
Insert two screw covers (L) into screw heads.
SOLID CONCRETE CINDER BLOCK
1
• Tighten screws so that wall plate is firmly attached,
but do not overtighten. Overtightening can damage
screws, greatly reducing their holding power.
• Never tighten in excess of 80 in. • lb (9 N.M.).
• Always attach concrete expansion anchors directly to
load-bearing concrete.
• Never attach concrete expansion anchors to concrete
covered with plaster, drywall, or other finishing
material. If mounting to concrete surfaces covered
with a finishing surface is unavoidable (not evaluated
by UL), the finishing surface must be counterbored
as shown below. Be sure concrete anchors do not
pull away from concrete when tightening screws. If
plaster/drywall is thicker than 5/8" (16 mm), custom
fasteners must be supplied by installer (not evaluated
by UL).
WARNING
1
3
2
D
Drill holes and insert anchors (D).
Place wall plate (A) over anchors (D) and secure with screws (C).
Tighten all fasteners.
A
D
C
concrete
surface
CUTAWAY VIEW
INCORRECT CORRECT
wall
plate
wall
plate
plaster/
drywall plaster/
drywall
concrete concrete LC
D
WALL PLATE (A)
ADAPTER PLATE (A)
• When installing Peerless wall mounts on cinder block, verify that you have a minimum of 1-3/8" (35 mm) of actual
concrete thickness in the hole to be used for the concrete anchors. Do not drill into mortar joints! Be sure to mount
in a solid part of the block, generally 1" (25 mm) minimum from the side of the block. Cinder block must meet ASTM
C-90 specifications. It is suggested that a standard electric drill on slow setting is used to drill the hole instead of a
hammer drill to avoid breaking out the back of the hole when entering a void or cavity.
• Concrete must be 2000 psi density minimum. Lighter density concrete may not hold concrete anchor.
• Make sure that the wall will safely support four times the combined load of the equipment and all attached hardware
and components.
WARNING