IMI 66-031 Installation
jacks, it is a good practice to connect them to earth
ground. Doing this may help prevent them from induc-
ing radio frequency and/or AC interference into the
SYS-
tern
The polarity between the individual wires in a par-
ticular voice or data pair is not critical; however do
not connect the voice circuits to the data
CirCuits.
Cable
CIips
Each cabinet-mounted
50-pin
male connector is
equipped with a retaining clip. This clip is designed to
secure the matted connection once it is made. The clip
does this by snapping into a slot on the cable-mounted
connector when it is pressed together with the cabinet-
mounted connector. This retaining clip must be pulled
back slightly to un-snap it before the connectors can be
separated.
DSSIBLF
Console Connection
The optional DSS/BLF console may be installed at any
station port to work in conjunction with a companion sta-
tion connected to the adjacent port (e.g.; port 10 for sta-
tion and port 11 for console).
The installed distance limit between the KSU and a con-
sole is the same as that specified for a regular station.
Connect all four wires (voice pair and data pair) of the
console cable to the station connector block.
The voice pair connections of the console can be used
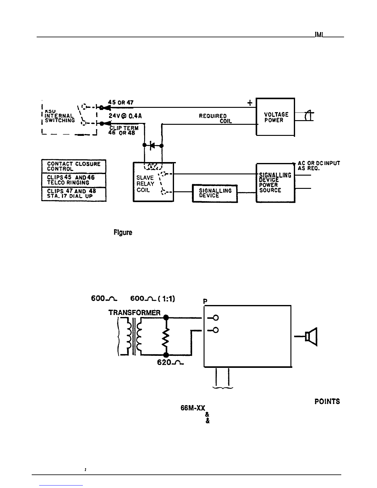
simultaneously to enable a PA port function. Refer to
the paragraph in this chapter headed Area Paging In-
terface
-
Station PA Port. Per that discussion, wire a PA
amplifier input to the DSS/BLF console voice-pair at the
connector block clip terminals. Use an audio matching
transformer, as discussed in the referenced paragraph
and Figure 2-3, to provide isolation. If an enable signal
is required with the particular PAequipment being used,
the console and PA equipment connections are limited
to station ports 23 and 25.
The DSS/BLF console port must be programmed as a
DSSIBLF port (see Chapter 3 for programming details)
before console operation can take place. The console
port must be also programmed as a PA port if a PA
amplifier has been connected to the voice pair as part
of the system.
Busy Lamp Field Stations
An optional keyset is available which is equipped with
a 14 station Busy Lamp Field (BLF). Up to eight BLF
stations can be connected to the system. A BLF station
f
can be connected to any odd or even station port in the
system per the following guidelines.
The installed distance between the KSU and the
BLF station must be limited to 1000 feet or less.
The data-line paired station port cannot be used as
a BLF station connection or as a regular station
connection. Data-line pairing is: 1 O-l 1,12-13,
14
15,16-17,18-19,20-21,22-23, and 24-25.
The overload paired station port cannot be used as
a BLF station connection but can be used as a
regular station connection. Overload pairing is: 1
O-
12, 1%13,14-16,15-17, 18-20,19-21,22-24, and
23-25.
A port, paired in either manner with a BLF station,
can be used as a PA port if desired.
Power Failure Station Connection
The system provides a tip and ring-pair connected to
line 1 as an emergency power failure circuit. This power
failure pair is available at clip terminals on connector
block J-l as detailed on Table 2-l and Figure 2-4. A
power failure pair is only active durfng a commercial
AC
power failure. An industry standard, single-line
telephone, such as a Comdial model 2500-xx, can be
connected to a power failure pair and used to provide
communications capability until the AC power to the
system is restored.
A-Lead Control Device Connection
The KSU can detect an A-lead
(A
and Al) control sig-
nal when it is applied to lines 7 and 8. An A-lead con-
trol device can be bridge-connected to these lines via
clip terminals on connector block J-2 as detailed on
Table 2-1 and Figure 2-4.
Data Device Connection
When a serial data printer is used for SMDR and COS
printout, connect it to clip terminals on connector block
J-l as detailed on Table 2-1 and Figure 2-4.
The distance between the device and the KSU can be
up to 500 feet in a quiet electrical environment.
Shielded cable may be required at some sites for long
runs. For longer distances, a limited distance modem
must be used to relay the data communications be-
tween the KSU and the data device.
When preparing a cable for connection to a data device,
refer to the manufacturer’s manual for the equipment
being interfaced, and make the following wiring connec-
tions:
*
Wire the KSU RD line (data from printerto wmmon
equipment) to the device TD (transmit data) output
pin,
2-3