
2 of 50 ISSUED: 01-05-11 SHEET #: 061-9062-7 03-22-12
Note: Read entire instruction sheet before you start installation and assembly.
Table of Contents
Parts List.............................................................................................................................................................................3, 4
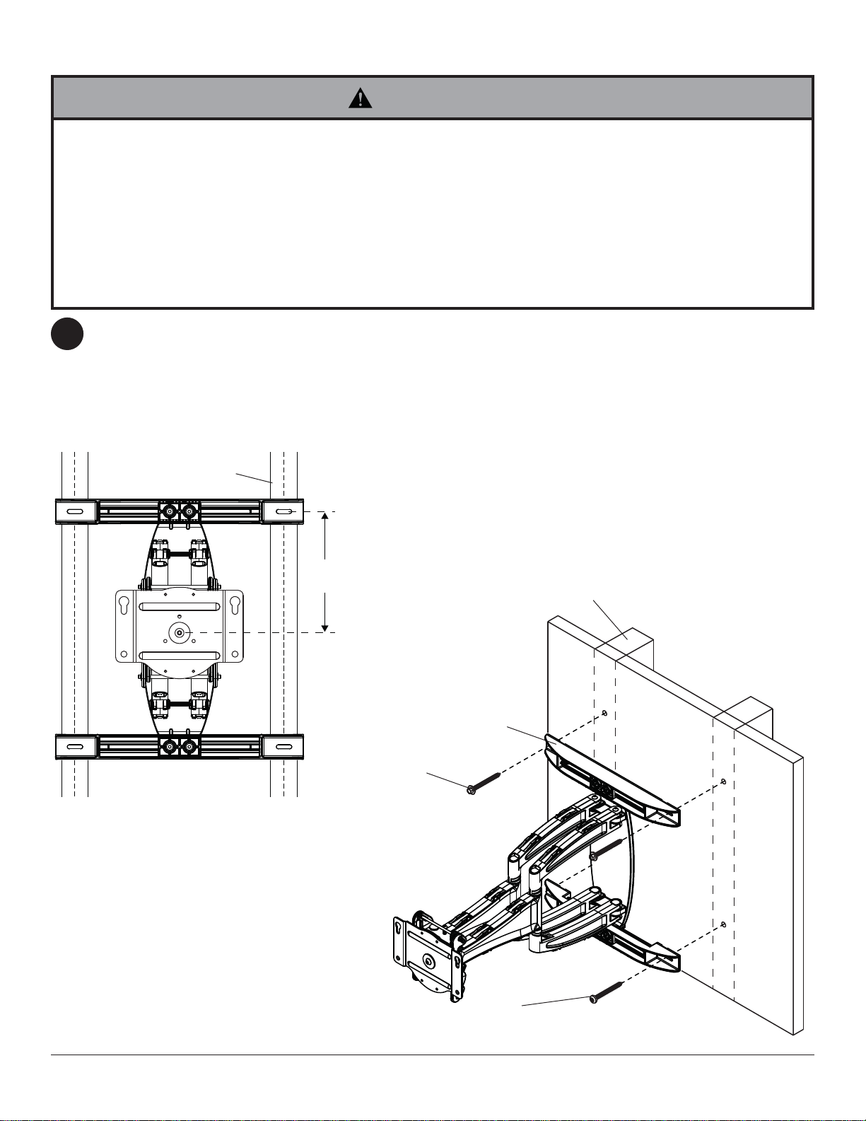
Wall installation...................................................................................................................................................................6, 7
Installing Adapter Brackets to Display...............................................................................................................................8-13
Mounting Flat Panel Display.................................................................................................................................................14
Cable Management..............................................................................................................................................................16
Tools Needed for Assembly
• stud finder ("edge to edge" stud finder is recommended)
• phillips screwdriver
• drill
• 3/16" (5mm) drill bits for wood studs, 13/32" (10mm) drill bits for concrete
• level
• Do not begin to install your Peerless product until you have read and understood the instructions and warnings
contained in this Installation Sheet. If you have any questions regarding any of the instructions or warnings, for US
customers please call Peerless customer care at 1-800-865-2112, for all international customers, please contact
your local distributor.
• This product should only be installed by someone of good mechanical aptitude, has experience with basic building
construction, and fully understands these instructions.
• Due to outdoor environmental conditions such as heavy snow, hail, rain, etc. the environmental mount and
hardware must be inspected at least once a year. This product should not be exposed to high winds.Aqualified
installer or inspector must check for signs of rust, loose fasteners, bent metal, etc. If evidence of excessive wear,
deterioration or any unsafe condition is observed, this product must be taken out of service immediately. Direct all
inquiries to customer care if you have any questions.
• Make sure that the supporting surface will safely support the combined load of the equipment and all attached
hardware and components.
• Never exceed the Maximum UL Load Capacity. See page one.
• If mounting to wood wall studs, make sure that mounting screws are anchored into the center of the studs. Use of
an "edge to edge" stud finder is highly recommended.
• Always use an assistant or mechanical lifting equipment to safely lift and position equipment.
• Tighten screws firmly, but do not overtighten. Overtightening can damage the items, greatly reducing their holding
power.
• This product was designed to be installed on the following wall construction only;
WALL CONSTRUCTION HARDWARE REQUIRED
• Wood Stud Included
•Wood Beam Included
•Solid Concrete Included
•Cinder Block Included
•Metal Stud Contact Qualified Professional (not evaluated by UL)
•Brick Contact Qualified Professional (not evaluated by UL)
•Other or unsure? Contact Qualified Professional
WARNING