Minolta RP609Z Manuel utilisateur
Autres manuels Minolta Imprimante

Minolta
Minolta magicolor 330 Manuel utilisateur

Minolta
Minolta MAGICOLOR 2 PLUS Manuel utilisateur

Minolta
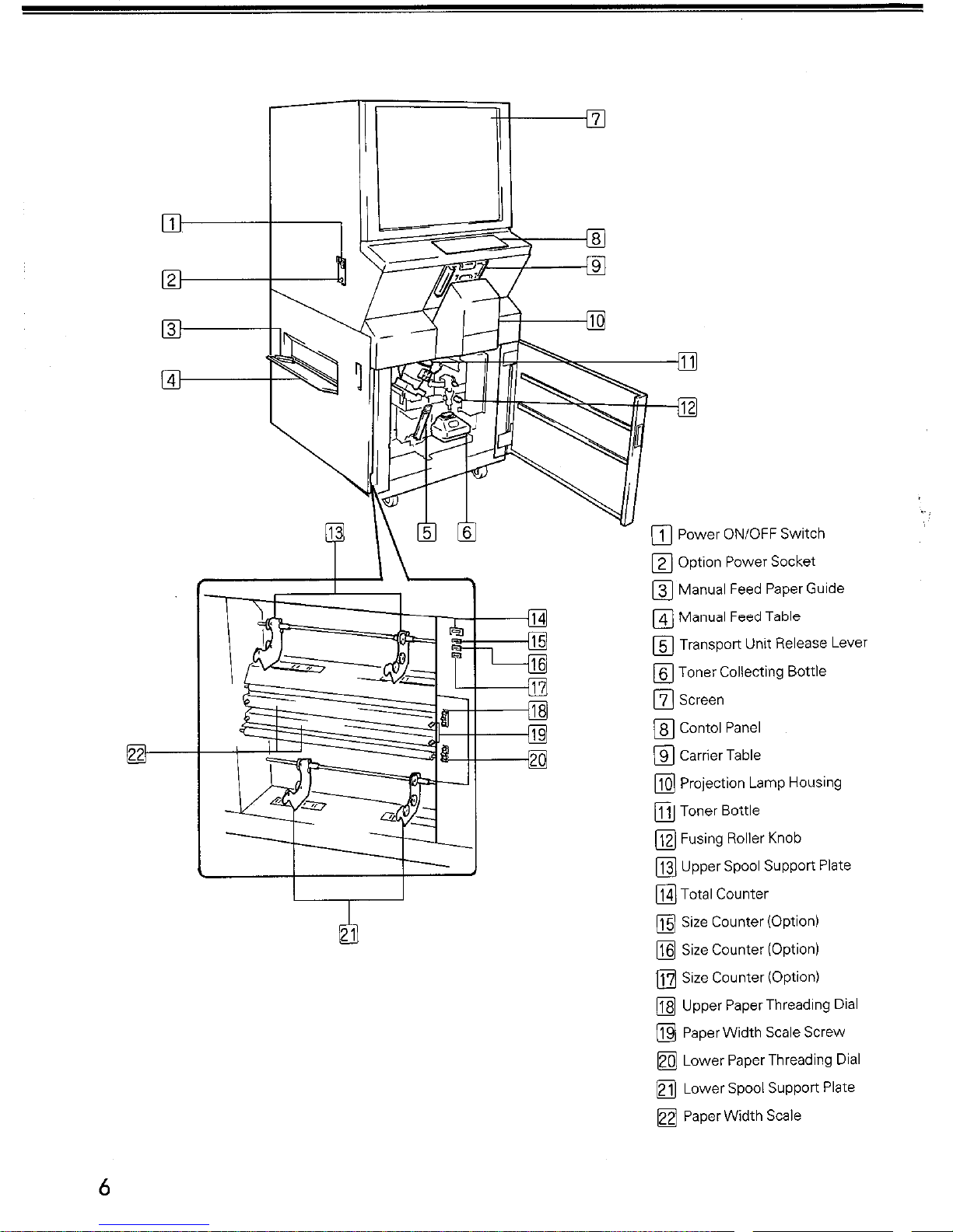
Minolta CF2002 Manuel utilisateur

Minolta
Minolta Magicolor 3100 Series Manuel utilisateur

Minolta
Minolta Universal Carrier UC-6 Manuel utilisateur

Minolta
Minolta Magicolor 2200 Manuel utilisateur

Minolta
Minolta Di251 Manuel utilisateur

Minolta
Minolta PagePro 1200W Manuel utilisateur

Minolta
Minolta PageWorks Pro 25 Manuel utilisateur

Minolta
Minolta Demand Print System C6501 Manuel utilisateur

Minolta
Minolta EP1054 Manuel utilisateur

Minolta
Minolta PagePro 1100L Manuel utilisateur

Minolta
Minolta Di181 Manuel utilisateur

Minolta
Minolta PageWorks Pro 20 Note de version

Minolta
Minolta PageWorks Pro 18 Manuel utilisateur

Minolta
Minolta PAGEPRO PS PLUS Manuel utilisateur

Minolta
Minolta PageWorks Pro 18L Manuel utilisateur

Minolta
Minolta PageWorks Pro 18 Manuel utilisateur

Minolta
Minolta DEClaser 2200 Manuel utilisateur

Minolta
Minolta PageWorks Pro 18N Manuel utilisateur































