
1
VPL-FX52/FX52L
Table of Contents
4. Spare Parts
4-1. Notes on Repair Parts ..................................................... 4-1
4-2. Exploded Views .............................................................. 4-2
4-3. Electrical Parts List .......................................................4-13
5. Block Diagrams
Overall (1/2) .............................................................................. 5-1
Overall (2/2) .............................................................................. 5-2
QA ............................................................................................. 5-3
B (1/4), C (1/3), H, NR, QB (1/2) ............................................. 5-4
B (2/4), QB (2/2) ....................................................................... 5-5
B (3/4) ........................................................................................ 5-6
C (2/3) ........................................................................................ 5-7
B (4/4), C (3/3) .......................................................................... 5-8
GA ............................................................................................. 5-9
GB ........................................................................................... 5-10
6. Diagrams
6-1. Frame Schematic Diagrams ............................................6-2
6-2. Schematic Diagrams and Printed Wiring Boards ........... 6-3
Schematic Diagrams
QA (1/4) .......................................................................... 6-4
QA (2/4) .......................................................................... 6-5
QA (3/4) .......................................................................... 6-6
QA (4/4) .......................................................................... 6-7
QB ................................................................................... 6-9
B (1/13) ......................................................................... 6-13
B (2/13) ......................................................................... 6-14
B (3/13) ......................................................................... 6-15
B (4/13) ......................................................................... 6-16
B (5/13) ......................................................................... 6-17
B (6/13) ......................................................................... 6-18
B (7/13) ......................................................................... 6-19
B (8/13) ......................................................................... 6-20
B (9/13) ......................................................................... 6-21
B (10/13) ....................................................................... 6-22
B (11/13) ....................................................................... 6-23
1. Service Information
1-1. Board Layout .................................................................. 1-1
1-2. Disassembly .................................................................... 1-2
1-2-1. Top Cabinet Assy Removal ................................... 1-2
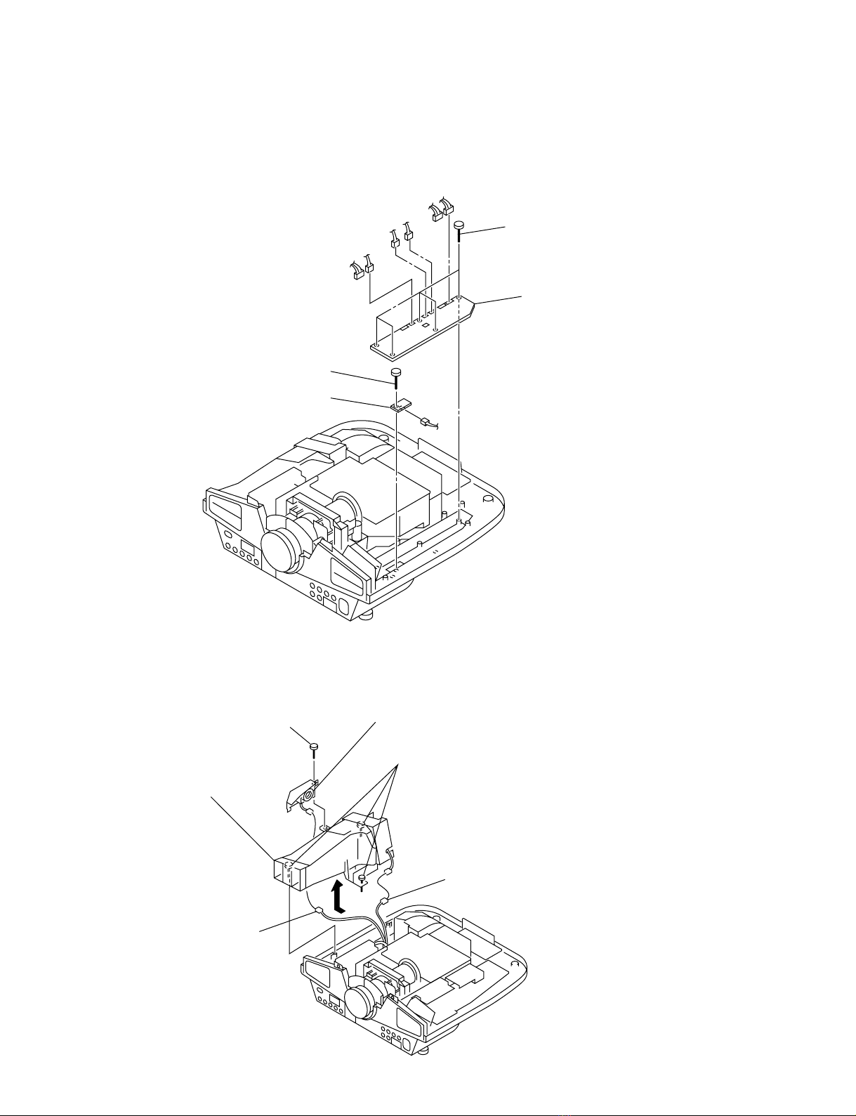
1-2-2. H Board Removal ..................................................1-3
1-2-3. GA Board Removal ............................................... 1-3
1-2-4. GB and S Boards Removal .................................... 1-4
1-2-5. Lamp Fan Duct Assy Removal ............................. 1-4
1-2-6. C Board Removal ..................................................1-5
1-2-7. Prism Block (G) Assy and Out-polarization
Assy Removal ....................................................... 1-5
1-2-8. B Board Removal ..................................................1-6
1-2-9. Lamp Power Supply Removal ............................... 1-7
1-2-10. Lens Assy Removal (VPL-FX52) .........................1-7
1-2-11. Optical Block (G) Assy and S Board Removal .....1-8
1-2-12. DC Fan Removal ................................................... 1-8
1-2-13. Front Panel Assy Removal .................................... 1-9
1-2-14. Connector Block Assy Removal ........................... 1-9
1-2-15. Extension Boards and Extension Cables ............. 1-10
1-2-16. Extension Board Connection ............................... 1-11
1-2-17. Warning on Power Connection ........................... 1-12
2. Electrical Adjustments
2-1. Preparation ...................................................................... 2-1
2-1-1. Required Equipment .............................................. 2-1
2-1-2. How to Enter the Factory Mode ............................ 2-1
2-2. V COM Adjustment ........................................................ 2-1
2-3. Initial Values of Adjustment Items ................................. 2-2
2-4. Service Know-How ........................................................ 2-9
2-4-1. When the Prism Block is Replaced .......................2-9
2-4-2. When the Board is Replaced ................................. 2-9
2-5. White Balance Adjustment ............................................. 2-9
2-5-1. LOW Mode of INPUT-C Computer ..................... 2-9
2-5-2. HIGH Mode of INPUT-C Computer .................. 2-10
2-5-3. LOW Mode of VIDEO ........................................ 2-10
2-5-4. HIGH Mode of VIDEO .......................................2-10
2-6. Memory Structure ......................................................... 2-11
3. Semiconductors