
INFOSEC UPS SYSTEM –4 rue de la Rigotière –44700 Orvault –France –www.infosec-ups.com
Hot
Line
T
el
:
+33
(0)2
40
76
15
82
–fax : +33(0)2 40 94 29 51 –[email protected] –03
16
AA
59
203
26
Table des matières
1. CONSIGNES IMPORTANTES DE SECURITE ET INSTRUCTIONS CEM ............................................... 3
1-1. TRANSPORT ........................................................................................................................................... 3
1-2. PREPARATION ........................................................................................................................................ 3
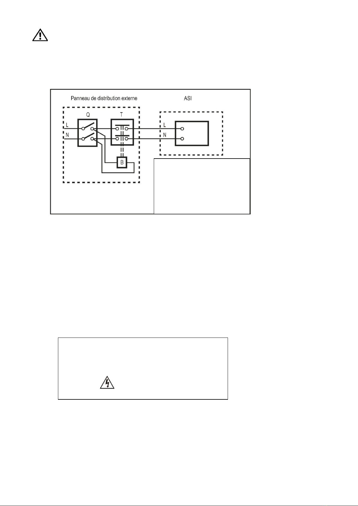
1-3. INSTALLATION ......................................................................................................................................... 3
1-4. UTILISATION ........................................................................................................................................... 4
1-5. ENTRETIEN, REVISION ET DEFAUTS ......................................................................................................... 4
1-6. NORMES : .............................................................................................................................................. 5
1-7. À PROPOS DES BATTERIES : .................................................................................................................... 6
1-8. CONFORMITE CE : ................................................................................................................................. 7
2. INSTALLATION ET UTILISATION ............................................................................................................. 8
2-1. DEBALLAGE ET INSPECTION .................................................................................................................... 8
2-2. VUE DE LA FACE ARRIERE........................................................................................................................ 9
2-3. INSTALLATION D'UN ONDULEUR SEUL ....................................................................................................... 9
2-4. INSTALLATION DU LOGICIEL ................................................................................................................... 10
3. UTILISATION ............................................................................................................................................ 12
3-1. FONCTIONS DES BOUTONS ................................................................................................................... 12
3-2. VOYANTS DEL ET ECRAN LCD .............................................................................................................. 12
3-3. ALARME SONORE ................................................................................................................................. 15
3-4. UTILISATION D'UN ONDULEUR SEUL ....................................................................................................... 16
3-5. INDEX DES ABREVIATIONS DE L'ECRAN LCD ........................................................................................... 18
3-6. CONFIGURATION DE L'ONDULEUR .......................................................................................................... 18
3-7. DESCRIPTION DU MODE ET DE L'ETAT D'UTILISATION ............................................................................... 24
3-8. CODES DE DEFAUTS ............................................................................................................................. 25
3-9. INDICATEURS D'AVERTISSEMENT ........................................................................................................... 25
4. DEPANNAGE ............................................................................................................................................ 27
5. STOCKAGE ET ENTRETIEN ................................................................................................................... 28
5-1. STOCKAGE ........................................................................................................................................... 28
5-2. ENTRETIEN .......................................................................................................................................... 28
6. STOCKAGE ET ENTRETIEN ................................................................................................................. 289
7. SPECIFICATIONS .................................................................................................................................... 30