Contents Page
Exploded-View Diagram 1 ......................................................................................................................... 4
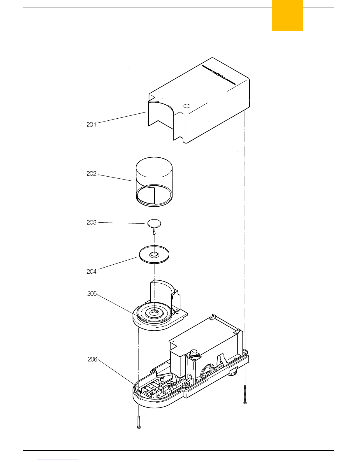
Exploded-View Diagram 2 ......................................................................................................................... 6
Exploded-View Diagram 3 ......................................................................................................................... 8
Exploded-View Diagram 4 ....................................................................................................................... 10
Exploded-View Diagram 5 ....................................................................................................................... 12
Additional Service Tools and Equipment ................................................................................................. 14
Accompanying Literature......................................................................................................................... 14
General Information................................................................................................................................. 15
Installation Instructions............................................................................................................................ 16
Application Programs .............................................................................................................................. 17
Key Functions ......................................................................................................................................... 18
Display Overview..................................................................................................................................... 18
Accessing the Balance Operating Menu and Setting Menu Codes ......................................................... 19
Displaying the Hardware and Software Version of the MC5 Microbalance ............................................. 20
Displaying the Model Name and the Serial Number................................................................................ 20
Activating the BPI Mode.......................................................................................................................... 21
Standard Service Tools and Equipment - Repair Policy.......................................................................... 22
Adjustment Data Sheet ........................................................................................................................... 22
Adjusting the Microbalance ..................................................................................................................... 23
Adjustment Sequence ............................................................................................................................. 23
Reproducibility......................................................................................................................................... 24
Null Indicator ........................................................................................................................................... 25
Checking the Null Indicator ..................................................................................................................... 25
Preload .................................................................................................................................................... 25
Checking and Adjusting the Preload ....................................................................................................... 25
Checking and Adjusting the Overload Stops ........................................................................................... 25
Indifferent Equilibrium.............................................................................................................................. 26
Checking the Indifferent Equilibrium (Tilt)................................................................................................ 26
Adjusting the Indifferent Equilibrium ........................................................................................................ 26
Off-Center Load (Eccentricity)................................................................................................................. 27
Checking the Off-Center Loading Tolerances ......................................................................................... 27
Adjusting the Off-Center Loading Tolerances ......................................................................................... 27
3-Point Coarse Adjustment ..................................................................................................................... 27
5-Point Fine Adjustment .......................................................................................................................... 27
Linearity................................................................................................................................................... 28
External Linearization .............................................................................................................................. 28
Checking the Linearity............................................................................................................................. 28
Adjusting the Linearity ............................................................................................................................. 29
External Calibration ................................................................................................................................. 30
Overwriting the Internal Linearity Weight................................................................................................. 31
Overwriting the Internal Calibration Weight ............................................................................................. 32
Internal Calibration .................................................................................................................................. 33
Internal Self-Calibrating Function ............................................................................................................ 33