8
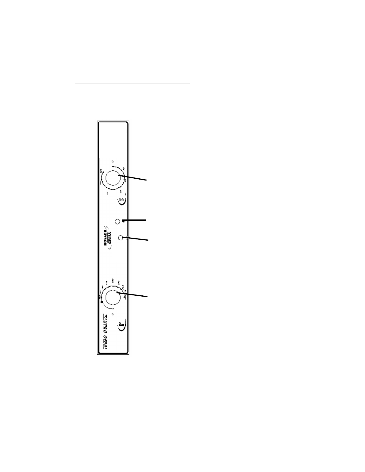
Déta l des fonct ons du four FC 60 TQ
L’air, chauffé par une résistance indépendante et pulsé par une turbine réversible,
se repartit uniformément et permet une cuisson homogène sur 1 à 4 niveaux .
Il est également doté de la fonction Turbo Quart ®. Connue des rôtisseurs traiteurs
depuis plus de 30 ans, la technologie du quart infrarouge permet une cuisson sans
odeur et sans fumée des poissons, volailles, grillades, gratins, pâtisseries, identique
à la braise de bois. Pour la première fois, cette technologie est associée à la convec-
tion.
La chaleur est transmise aux aliments par le rayonnement des tubes quart qui attei-
gnent une température de 1050°C et émettent un rayonnement de même longueur
d’onde que la braise.
Cette technologie permet d’atteindre 250°C en moins de 10 minutes, supprimant tout
préchauffage et par la même réduisant considérablement la consommation d’éner-
gie. La ventilation permet une excellente répartition de la chaleur. Cette fonction est
idéale pour griller, dorer ou gratiner.
Ce mode de cuisson permet de conserver aux aliments leurs qualités nutritives ainsi
que leurs saveurs, sans diminution de poids.
Convection
La chaleur provient de la résistance arrière intégrée au système de ventilation réver-
sible. Elle est parfaitement répartie dans l’ensemble du four et régulée très finement
par le thermostat. Renouvelé en permanence, l’air ne stagne pas dans le four, il ne
véhicule donc aucune odeur. Cette position permet de cuire en même temps plu-
sieurs plats différents, idéale aussi pour garder au chaud, réchauffer et décongeler
tout en douceur.
Four pâtissier ventilé
Dans cette position la sole fonctionne en permanence à plein régime, elle n’est pas
régulée par le thermostat.
C’est la position idéale pour cuire les tartes salées et sucrées, le pain ou démarrer la
cuisson des gâteaux qui doivent gonfler. Vous pouve utiliser les tubes quart en fin
de cuisson, régulés par le thermostat, pour dorer, glacer ou croustiller. La ventilation
permet une meilleure répartition de la température ainsi qu’une plus grande préci-
sion de régulation.
Turbo Quart ®
Dans cette position les tubes quart fonctionnent simultanément avec le ventilateur
et sont régulés par le thermostat. Votre four fonctionne exactement comme un four
classique. Les aliments ont cuits par le bas grâce à la sole et dorés ou grillés par le
haut grâce aux tubes quart . La ventilation permet une meilleure répartition de tem-
pérature ainsi qu’une plus grande précision de régulation.
Gril quart
Seules les tubes quart fonctionnent, régulés par le thermostat. La cuisson par
rayonnement se fait en milieu froid.