
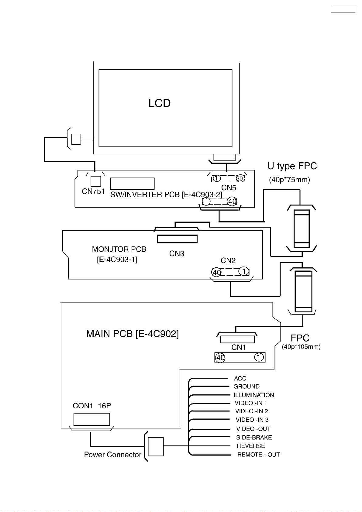
7.1. Main Block
Ref.
No. Part No. Part Name & Description Remarks
U3 YEAM78F0058
Pin
No. Port Descriptions I/O Vol.(V)
1 P15 N.C. ----
2 P16 N.C. ----
3 P17 N.C. ----
4 Avss GND ----
5 P130 N.C. ----
6 P131 DIM(Dimmer Control) O 1.5
7AVref1 5V Power I 5
8 P70 RxD I 0
9 P71 TxD O 5
10 P72 N.C. ----
11 P20 N.C. ----
12 P21 N.C. ----
13 P22 N.C. ----
14 P23 N.C. ----
15 P24 OSDS(OSD IC Chip Select ) O 4.9
16 P25 N.C. ----
17 P26 OSDD(OSD IC Serial Data ) O 4.9
18 P27 OSDC(OSD IC Shift Clock ) O 4.9
19 P40 SW8(PWR Key) I 5
20 P41 SW7(ASPECT Key) I 5
21 P42 SW6(PICT Key) I 5
22 P43 SW5(BRIGHT Key) I 5
23 P44 SW4(MENU Key) I 5
24 P45 SW3(Down Key) I 5
25 P46 SW2(Up Key) I 5
26 P47 SW1(ENTER Key) I 5
27 P50 ZOOM Mode Select O 0
28 P51 JUST Mode Select O 0
29 P52 SIDE Mode Select O 0
30 P53 N.C. ----
31 P54 BP(Back Light Power
Control) O 5
32 P55 MP(Main Power Control) O 5
33 Vss1 GND ----
34 P56 N.C. ----
35 P57 N.C. ----
36 P60 SCL O 4.8
37 P61 SDA I/O 4.8
38 P62 N.C. ----
39 P63 N.C. ----
40 P64 N.C. ---- 0
41 P65 REM(Remote Output) O
42 P66 N.C. ----
43 P67 N.C. ----
44 P30 N.C. ----
45 P31 MBLK(Main Screen Blanking) 0
46 P32 N.C. ----
47 P33 N.C. ----
48 P34 N.C. ----
49 P35 N.C. ----
50 P36 N.C. ----
51 P37 N.C. ----
52 P120 REV(Reverse Sense) I 0
53 P121 N.C. ----
54 P122 N.C. ----
55 P123 ILS(ILLUMINATION Sense) I 0
56 P124 VIS(Video Control Input) I 0
57 P125 CTC(ChaneL Control C) O 0
58 P126 CTB(ChaneL Control B) O 0
59 P127 CTA(ChaneL Control A) O 0
60 RESET RST(RESET) I 5
61 P00 RMD(Remote Input Detect) I 4.8
62 P01 VSY(Vertical Sync) I
63 P02 SW0( Monitor open/close
SW) I 5.2
Ref.
No. Part No. Part Name & Description Remarks
64 P03 SBR(Side Brake Detect) 1.6
65 P04 CS(Composite Sync) I
66 P05 N.C. ---- 5
67 Vss0 GND ----
68 Vdd1 5V Power I 5
69 X2 Crystal Terminal 2 I
70 X1 Crystal Terminal 1 I
71 IC(Vpp) IC(Vpp) 0
72 XT2 N.C. ----
73 XT1 N.C. ----
74 Vdd0 5V Power I 5
75 AVref0 5V Power I 5
76 P10 Power Operating Range
Detect I
77 P11 N.C. ----
78 P12 N.C. ----
79 P13 N.C. ----
80 P14 N.C. ----
7.2. Display Block
Ref
.
No.
Part No. Part Name & Description Remarks
U7 YEAMTC200G02
I/O Vol.(V)
1 SYNC IN GND __ 0
2 HD IN HD Input I 0
3 SIDE 2 GND __ 0
4 SIDE 1 Side 1 Signal Input I 0
5 VD IN VD Input I 3.1
6 HD OUT Horizon Same Time Signal Out O 2.9
7 VD OUT Vertical Same Time Signal
Out O 3.1
8 BLK BLK Signal Output O 0
9VPOS3 Vertical Expression
Possition I 3.2
Cuts Terminal 3
10 VPOS2
(NC) __ __ __
11 VPOS1 Vertical Expression
Possition I 3.2
Cuts Terminal 1
12 ZOOM ZOOM Signal Input I 0
13 U/D (NC) __ __ __
14 POL Image Vertical Cuts Terminal
1O 1.6
15 INT/EXT GND I 0
16 CPV Gate Driver Clock Pals O 0.5
17 OEV3 Gate Output O 0
18 OEV2 Gate Output O 0
19 OEV1 Gate Output O 0
20 STV1 Gate Driver Seek Start Pals
1I/O 0
21 OEH Source Driver O 0
22 ZOOMC ZOOM Seting I 0.4
23 STH1 Source Start Pals 1 I/O 0
24 STH2 Source Start Pals 2 I/O 0
25 CPH3 Source Driver Clock Pals 3 O 1.6
26 STV2 Gate Driver Seek Start Pals
1I/O 0
27 CPH2 Source Driver Clock Pals 2 O 1.6
28 R/L Connection 3.3V I 3.2
29 CPH1 Source Driver Clock Pals 1 O 0
30 HDOT2 HDOT 1 Seting Input I 3.2
31 JUST (NC) __ __ __
32 POS SET Expression Possition Setting I 3.2
33 PD Phase Compared to Output
Terminal O 1.6
34 OVD (NC) __ __ __
35 A Vdd Power Terminal(Analog) 3V 3.2
7 TERMINALS DESCRIPTION
5
CY-VM6880H