
2AQUAMASTER4 | ELECTROMAGNETIC FLOWMETER TRANSMITTER | OI/FET400-EN REV. D
Contents
1 Health, safety and cybersecurity............. 4
Document symbols ................................ 4
Safety precautions ................................ 4
Cybersecurity ..................................... 4
Disclaimer....................................4
Communication protocol specific..............5
Improper use.......................................5
Potential safety hazard ............................ 6
AquaMaster4 transmitter – electrical ..........6
Safety standards .................................. 6
Battery hazard, handling, shipping and recycling/
disposal .......................................... 6
Waste Electrical and Electronic Equipment (WEEE) ...7
Product recycling and disposal (Europe only) ........7
End-of-life battery disposal ...................7
Information on ROHS Directive 2011/65/EU and
2015/863 ..........................................7
Product symbols ...................................7
2 Transmitter overview ........................8
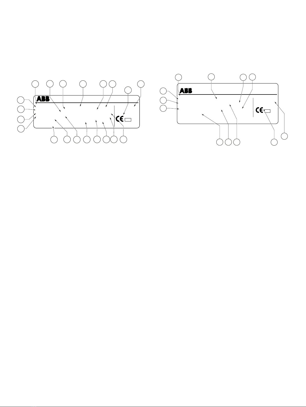
3 Product identification labels .................9
Nameplate – FET41X/43X .......................... 9
Integral transmitter...........................9
Remote-mount transmitter....................9
Nameplate – FET45X...............................10
Integral transmitter..........................10
Remote Transmitter..........................10
4 Transport and storage ......................11
Inspection ........................................11
Transport .........................................11
Storing the flowmeter/transmitter .................11
Storage temperature......................... 11
5 Installation.................................12
Installation conditions – FET 410/430...............12
Installation conditions – FET 450 ...................14
Dimensions – FET410/430..........................16
Dimensions – FET450 ..............................17
Dimensions – Power supply unit for FET452 .........18
Antenna installation – FET45X ......................19
Connecting a remote antenna..................... 20
Installing the SIM card – FET45X ....................21
Grounding – FET410/430.......................... 22
Grounding – FET450 .............................. 23
Connections ..................................... 24
Power supply connections ........................ 24
Mains power supply (remote transmitter) .....24
Renewable energy supply ....................25
Battery power supply ........................26
Installing internal batteries – FET41X/43X .....27
Installing internal batteries – FET45X..........28
AquaMaster4 remote sensor connections ......... 29
Integral sensor connections ..................30
Input/Output connections ........................ 30
Input/Output connection socket .............30
Pulse outputs................................31
Alarm interface ..............................31
MODBUS connection ..............................31
Pressure transducer (optional) ...............32
Transmitter protective cover ...................... 32
Fitting the transmitter protective cover.......32
Near Field Communication (NFC).................. 33
NFC wall-mount coupler......................33
Fitting the configuration/reading interface and
connecting the NFC wall-mount coupler.......34
6 Commissioning ............................ 36
Safety instruction ................................ 36
Checks prior to commissioning ................... 36
MID/Anti-tamper seals. . . . . . . . . . . . . . . . . . . . . . . . . . . . 36
Integral transmitter –
tamper-detection seals/locking screws.............37
Remote transmitter –
tamper-detection seals/locking screws.............37
Fitting the tamper-detection seal (FEX45X)........ 38
Establish cellular 4G communication .............. 38
Establish cellular NB-IoT communication ..........40
7 Operation ................................. 41
Start-up ..........................................41
Operating display .................................41
Factory-configuration/calibration................. 43
Security and password access ....................44
User account 1 to 3 – standard level privileges .44
Data transmission via cellular 4G (FEX45X)......... 45
Data transmission via cellular NB (FEX45X) ........46
Data report for FEX45X ...........................46
Summary report .............................46
Detail report.................................47
Velox user interface app ..........................48
Process values ................................... 49
Logger data .................................49
Configuration ....................................50
8 Diagnostics ............................... 56
Diagnostic error messages ....................... 56
Flow Measurement ..........................56
Totalizers . . . . . . . . . . . . . . . . . . . . . . . . . . . . . . . . . . . 56
Maintenance Operating Modes ...............56
Other errors/required action...................... 57
9 Legacy support.............................57
10 Audit logger............................... 58
Exporting the audit log ........................... 58
Clearing the audit log............................. 59
11 Firmware upgrade via NFC ................. 60