Thankyou for purchasing the IBX Command Centre. Please read these
instructions carefully before starting the installation.
FEATURES
•Audible & visual indication of
detection by a PIR sensor for one
zone of lighting.
•Internal sounder bleeps whenever
movement is detected.
•Manual lights-on feature.
•Touch sensitive buttons.
•Timed Lights feature.
•12V dc 4-wire connection.
•Additional sounders can be
wired into the IBX.
• Multiple IBX Command
Centres can be used.
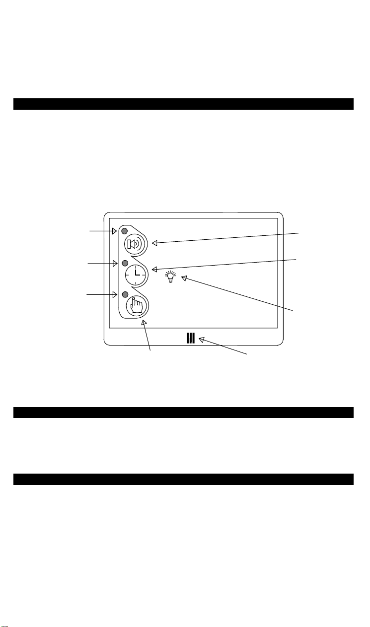
Sounder On/Off
Indicator
Movement
Lights On
Manual Override
Indicator
Sounder On/Off
Timed Lights
Automatic /
Button
Manual Override
IBX
SECURILITE Button
Indicator
ButtonIndicator
Sounder
Aperture
SITING THE UNIT
The unit may be installed at any convenient indoor location where the device
will not be subject to excessive heat or moisture.
INSTALLATION
1. Pull the lid off the back part of the enclosure using your fingers.
2. Fix the back part of the enclosure to the chosen surface.
3. Run a 4 core alarm cable from the Securilite Lighting Control Unit to the IBX
Command Centre and connect as shown over.
+
_
S
R
+
_
S
R
B-
1809
IBX Command Centre
Securilite Mains Control Board
1800 or 1802 or 1803
Additional Sounder
12V dc 60mA (max)
4. Push the front enclosure back into position carefully.
UNIT OPERATION
The Securilite system is a security system and therefore this command centre
will not allow you to disable the outside lighting. If an intruder walks in front of
a PIR sensor, the lights will always come on.
Sounder On/Off Button - Press this to arm or disarm the internal sounder
and any additional sounders connected to the B- terminal. When armed,
indicated by the Sounder LED being ON, the sounders will activate whenever
movement is sensed by a PIR detector, day or night.
Timed Lights Button - This will turn on the external lights and hold them on
for the duration of the timer set in the lighting control unit, after which time the
lights will automatically turn off. (Night time only)
Manual Override Button - Press this button to manually switch the lights on.
The lights will stay on until the manual mode is switched off. The manual
override indicator shows when this feature is on.
Movement Indicator - This will light up whenever a PIR detector is sensing
movement, regardless of whether it is day or night or if the sounder is on or off.
Lights On Indicator - This will indicate to you that the outside lights are on.
Sounder Time Adjustment - The internal and external sounders (if fitted) will
stay on for as long as a person is moving in front of a PIR sensor. Turn this
adjustment to increase the duration of the sounder time. up to 10 seconds after
movement has stopped.