
4
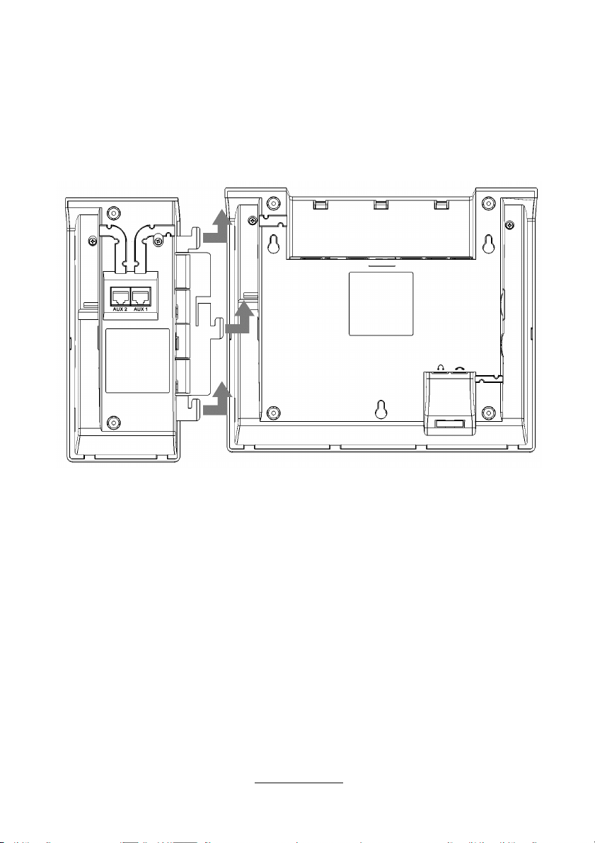
Anschluss des Verbindungskabels
Zur Verkabelung Telefon mit angestecktem Beistellmodul umdrehen. Verbindungs-
kabel am Telefon in Buchse AUX einstecken und durch Kabelkanal in Richtung Bei-
stellmodul verlegen. Verbindungskabel in Kehre [D] im rechten Winkel falten, hinter
den Rastnasen zur Buchse AUX1 führen und einstecken.
Anschluss weiterer Module
Am tiptel 3110, tiptel 3120 und tiptel 3130 können jeweils bis zu drei Erweiterungs-
module tiptel KM 27 betrieben werden.
Zum Anschluss eines weiteren Moduls schieben Sie dessen Befestigungslasche in
die entsprechende Aussparung des ersten Moduls und schieben dieses dann zum
Einrasten in Richtung Rückseite der Module.
Zur Verkabelung Telefon mit angesteckten Beistellmodulen umdrehen. Verbindungs-
kabel mittig mit Blick auf Kontakte des rechten Steckers aufnehmen. Verbindungska-
bel beginnend bei [B] durch den Kabelkanal in Richtung Beistellmodul 1 verlegen, in
der Kehre [C] im rechten Winkel falten, hinter den Rastnasen zur Buchse AUX2 füh-
ren und dort einstecken. Verbindungskabel bei [B] eine halbe Umdrehung wenden.
Die Kontakte des linken Steckers zeigen jetzt nach oben. Verbindungskabel begin-
nend bei [B] durch den Kabelkanal in Richtung Beistellmodul 2 verlegen, in der Keh-
re [A] im rechten Winkel falten, hinter den Rastnasen zur Buchse AUX1 führen und
dort einstecken.