Torridon HS Lite Drive Control Module - Technical Manual
Revision 1.0 ©Quarch Technology Page 3 of 28
Contents
Introduction ..........................................................................................................................4
Technical Specifications .........................................................................................................5
Switching Characteristics: ...................................................................................................................5
Mechanical Characteristics:....................................................................................................8
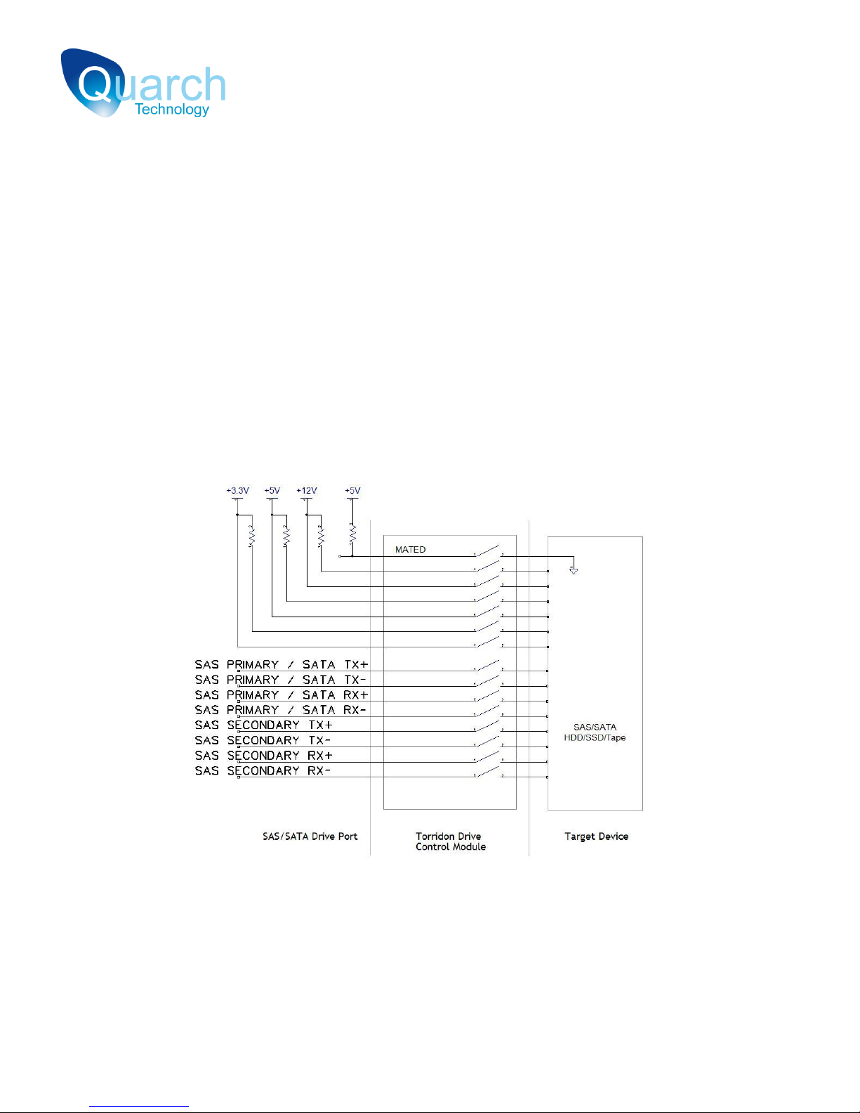
Control Interfaces ..................................................................................................................9
Drive Presence Support........................................................................................................10
GND pin P4 detection....................................................................................................................10
GND pin P6 detection....................................................................................................................10
P1/P2 continuity detection ........................................................................................................... 10
Basic Concepts .....................................................................................................................12
Signal Configuration.......................................................................................................................... 14
Power Up vs. Power Down Timing....................................................................................................15
Voltage Measurements..................................................................................................................... 16
Default Startup State ........................................................................................................................17
Controlling the Module ........................................................................................................18
Serial Command Set..........................................................................................................................18
SCPI Style Commands....................................................................................................................18
Control Register Map ...........................................................................................................23
Register Definitions........................................................................................................................... 24
Control Register ............................................................................................................................24
Source Enable Registers................................................................................................................ 24
Source Registers............................................................................................................................25
Signal Registers ............................................................................................................................. 25
Appendix 1 - Signal Names ...................................................................................................28