
4
Before using this equipment, obey the following warnings:
Read and understand the complete Manual. Keep the Manual for future reference.
Read and understand all warnings on this machine. If at any time the Warning labels become loose,
unreadable or dislodged, contact your local distributor for replacement labels.
To reduce the risk of electrical shock or unsupervised usage of the equipment, always unplug the
power cord from the wall outlet and the machine and wait 5 minutes before cleaning, maintaining or repairing the
machine. Place the power cord in a secure location.
• Children must not be let on or near to this machine. Moving parts and other features of the machine can be dangerous
to children.
• Not intended for use by anyone under 14 years of age.
• Consult a physician before you start an e[ercise program. Stop e[ercising if you feel pain or tightness in your
chest, become short of breath, or feel faint. Contact your doctor before you use the machine again. Use the values
calculated or measured by the machine’s computer for reference purposes only.
• Before each use, e[amine this machine for damage to power cord, power receptacle, loose parts or signs of wear. Do
not use if found in this condition. Contact your local distributor for repair information.
• Ma[imum user weight limit: 156.kg ( 350 lbs. ). Do not use if you are over this weight.
• Do not wear loose clothing or jewelry. This machine contains moving parts. Do not put ¿ngers or other objects into
moving parts of the e[ercise equipment.
• Always wear rubber soled athletic shoes when you use this machine. Do not use the machine with bare feet or only
wearing socks.
• Set up and operate this machine on a solid, level, horizontal surface.
• Use caution when you step on and off the machine. Use the supplied foot support platforms for stability before walking
on the moving belt.
• Disconnect all power before servicing this machine.
• Do not operate this machine outdoors or in moist or wet locations.
• To prevent injury, stand on the Foot Platforms before you start the machine or end a workout. Do not dismount the
machine by standing on the moving Walking Belts and e[iting off the rear of the unit (or machine).
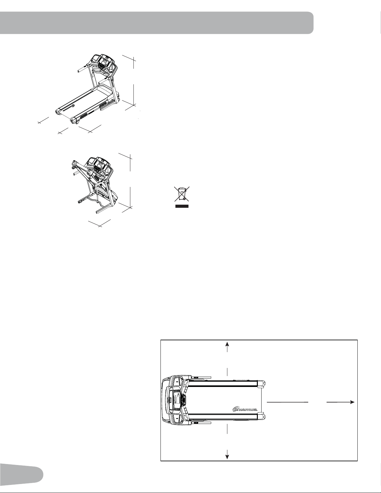
• Keep at least 0.6 m ( 24” ) on each side of the machine and 2 m ( 79” ) behind the machine clear. This is the
recommended safe distance for access and passage around and emergency dismounts from the machine. Keep third
parties out of this space when machine is in use.
• Do not over e[ert yourself during e[ercise. Operate the machine in the manner described in this manual.
• Perform all regular and periodic maintenance procedures recommended in the Owner’s Manual.
• Read, understand, and test the Emergency Stop Procedure before use
• Keep the walking belt clean and dry.
• Do not drop or put objects into any opening of the machine.
• Do not stand on machine motor cover or front trim cover.
• Keep power cord away from heat source and hot surfaces.
• This machine must be connected to an appropriate, dedicated electrical circuit. Nothing else must be connected to the
circuit.
• Always connect the power cord to a circuit capable of handling at least 10 amperes with no other loads applied.
• Connect this machine to a correctly earthed outlet; consult a licensed electrician for assistance.
• Do not let liquids touch the electronic controller. If it does, the controller must be inspected and tested for safety by an
approved technician before it can be used again.
• Do not remove the machine motor cover or the rear roller cover, dangerous voltages and moving parts are present.
The components are serviceable only by approved service personnel.
• The electrical wiring for the residence in which the machine will be used must obey the applicable local and provincial
requirements.