
5
1. Select TV Screws and Spacers / Choisissez les écrous et
entretoises de télé / Seleccione los tornillos y espaciadores
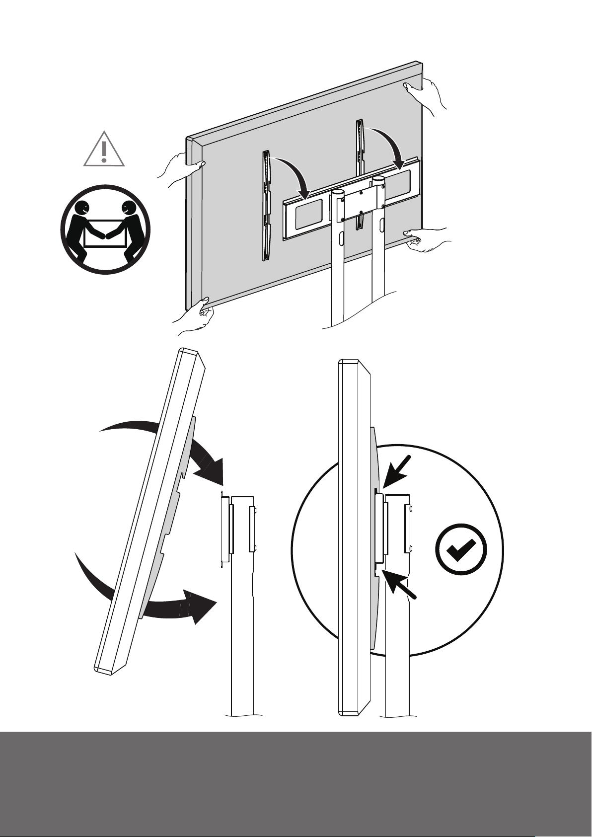
The back of your TV has 4 screw holes in a
square or rectangular pattern. This is where
the MTM82PL will attach to your TV. Kanto
provides dierent screw sizes in dierent
lengths. This guide will help you select the
right screws for your TV. You will only use 4
of the provided screws to attach your TV–
the rest are not needed.
L’arrière de votre télé possède 4 trous
d’écrou en forme d’un carré ou d’un
rectangle. Le MTM82PL s’attachera à
votre télé en utilisant ces trous. Kanto
fournit écrous des tailles diérentes, tous
en diérentes. Ce guide vous aidera de
choisir les bons écrous pour votre télé.
Vous utiliserez seulement 4 des écrous
fournis pour attacher le télé au support.
Le restant des écrous ne seront pas
utilisés.
La parte posterior de su televisor cuenta
con 4 oricios en un patrón cuadrado o
rectangular. Aquí es donde el MTM82PL
se montará en el televisor. Kanto ofrece
tamaños de tornillos diferentes a través
de diferentes. Esta guía le ayudará a
seleccionar los tornillos adecuados para
su televisor. Se deben usar sólo 4 de los
tornillos provistos para montar el televisor,
no se necesita el resto.
Plastic spacers are also provided to allow
the mount to work with TVs that have
recessed mount holes, protrusions, or
inputs in the way. They can also be used to
prevent the TV screws from going too deep
and damaging your TV. You may not need
spacers for your TV.
Des entretoises en plastique sont aussi
fournies en pour permettre l’utilisation de
ce support avec des télés qui possèdent
des trous de montage enfoncés, des
saillies, ou des entrées qui rendent
l’installation plus dicile. Les entretoises
peuvent aussi être utilisées pour assurer
que les écrous n’entrent pas trop loin dans
votre télé et causent des dommages. C’est
possible que vous n’aurez pas besoin des
entretoises, et ça va.
Separadores de plástico también se
proporcionan permitir el montaje con los
televisores que tienen agujeros de montaje
empotrado, salientes, o que cuente con
entradas de conexiones en el camino.
También se pueden utilizar para evitar que
los tornillos vayan demasiado profundo
y puedan dañar su TV. Puede que no
necesite separadores para su televisor, eso
está bien.
1.1 A–G Bolt /Screw Selection
1.1 A–G Boulon/Sélection des vis
1.1 A–G Selección de Bulón y Tornillo
1.2 I– JSpacer Selection
1.2 I–JSélection des entretoises
1.2 I–JSelección de espaciador