Jung 1731JE Manuel utilisateur

LB management
Universal blinds insert
Universal blinds insert
Art. no.: 1731JE
Operating instructions
1 Safety instructions
Electrical devices may only be mounted and connected by electrically skilled persons.
Serious injuries, fire or property damage possible. Please read and follow manual fully.
Danger of electric shock. Always disconnect before carrying out work on the device or load. In
so doing, take all the circuit breakers into account, which support dangerous voltages to the
device and or load.
Danger of electric shock. Do not mount the device on unearthed, electrically conductive sub-
strates or let it come into contact with them.
Risk of injury. Use the device only for controlling Venetian blind and roller shutter motors or
awnings. Do not use it to switch other loads.
For parallel connection of several motors to an output it is essential to observe the correspond-
ing instructions of the manufacturers, and to use a cut-off relay if necessary. The motors may be
destroyed.
Use only venetian blind motors with mechanical or electronic limit switches. Check the limit
switches for correct adjustment. Observe the specifications of the motor manufacturers. Device
can be damaged.
Danger of electric shock. Damaged covers may no longer be operated. Disconnect the device
immediately.
These instructions are an integral part of the product, and must remain with the end customer.
2 Device components
Figure1: Device components
(1) Venetian blind insert
(2) Frame
(3) Cover
(4) Terminals
(5) Button TEST
1 / 6
82595623 28.01.2020
J0082595623

LB management
Universal blinds insert
3 Intended use
– Controlling electrically driven blinds, rolling shutters and awnings
– Automatic time controller using the cover or extension inputs
– Operation only with suitable cover from LB management
– Mounting in appliance box according to DIN 49073
Product characteristics
– Extension inputs for integration into group controls or master controls
– Operation as a main device or extension unit
– Wind alarm interlock via the extension unit input
– Saving of a ventilation position
– Test operation for function testing
– Reverse function of outputs for simplified commissioning
4 Operation
Moving the blind/shutter
■ Press top or bottom button for longer than one second.
The blind/shutter moves in the desired direction to the end position or stops when the but-
ton is pressed again.
If a ventilation position has been saved, the blind stops in the ventilation position when
moving down from the top end position (see Saving the ventilation position).
Adjusting the slats
■ Press top or bottom button for less than 1 second.
Saving the ventilation position
To save and execute the ventilation position, the Venetian blind must be moved to the upper
end position and switch off automatically there after 2 minutes.
■ From the top end position, press the bottom button for longer than second.
The blind/shutter moves in the lower end position direction.
■ Press and hold down the top and bottom buttons.
The blind/shutter remains stopped, but continues to move after 4 seconds.
■ As soon as the desired ventilation position has been reached, release the buttons and
press the top button within the next 4 seconds.
The ventilation position is saved. The blind/shutter moves back to the upper end position.
If the ventilation position is saved again, the old value is overwritten.
5 Information for electrically skilled persons
DANGER!
Mortal danger of electric shock.
Before carrying out work on the device or load, disengage all the corresponding cir-
cuit breakers. Cover up live parts!
2 / 6
82595623 28.01.2020
J0082595623

LB management
Universal blinds insert
Connecting and mounting venetian blind insert
Figure2: Control with extension
Figure3: Terminal-specific cable cross-section:
■ Connecting venetian blind insert (1) (Figure 2). Note clampable cable cross-sections
(Figure 3). Optional: Connection of an extension (6). A mechanical venetian blind push-
button or venetian blind switch can also be used as an extension instead of the venetian
blind insert.
■ Install Venetian blind control in appliance box, terminals must be at the bottom. Recom-
mendation: Use deep appliance box.
■ Switch on mains voltage.
The TEST button also allows activation of the connected motor without a cover, e.g. to be able
to set the end positions of the motor.
■ Press the TEST button for less than one second.
Blind/shutter moves in the bottom end position direction.
■ Press button TEST longer than 1 second.
Blind/shutter moves in the upper end position direction.
If the blind/shutter moves in the wrong direction, you can use the reverse function of the
insert.
■ Reverse function: Press the TEST button for more than 10 seconds.
The insert signals successful reversing of the outputs through quick activation in the
Down direction and then in the Up direction. The new direction of travel is saved to power
failure-proof memory.
■ Attach the frame and the cover.
If multiple circuit breakers supply dangerous voltages to the device or load, couple the
miniature circuit breakers or label them with a warning, to ensure disconnection is guaran-
teed.
As long as an Up command is active on extension unit input 2 (wind alarm), the Venetian
blind cannot be operated either manually or automatically.
3 / 6
82595623 28.01.2020
J0082595623

LB management
Universal blinds insert
Integrating the device into a group control
The venetian blind insert can be integrated into a group control (Figure 4), either for local control
(1) or as a master unit (7).
Figure4: Connection example of group control
■ Connect the venetian blind inserts according to the connection example (Figure 4). The
venetian blind inserts can also be connected to different phase conductors.
Implementing Venetian blind control via various residual current devices
In order to prevent undesirable triggering of the residual current devices (9), the electric circuits
must be decoupled by means of a Venetian blind cutoff relay (10).
Figure5: Connection example of two RCD circuits
■ Connect the devices according to the connection example (Figure 5).
4 / 6
82595623 28.01.2020
J0082595623

LB management
Universal blinds insert
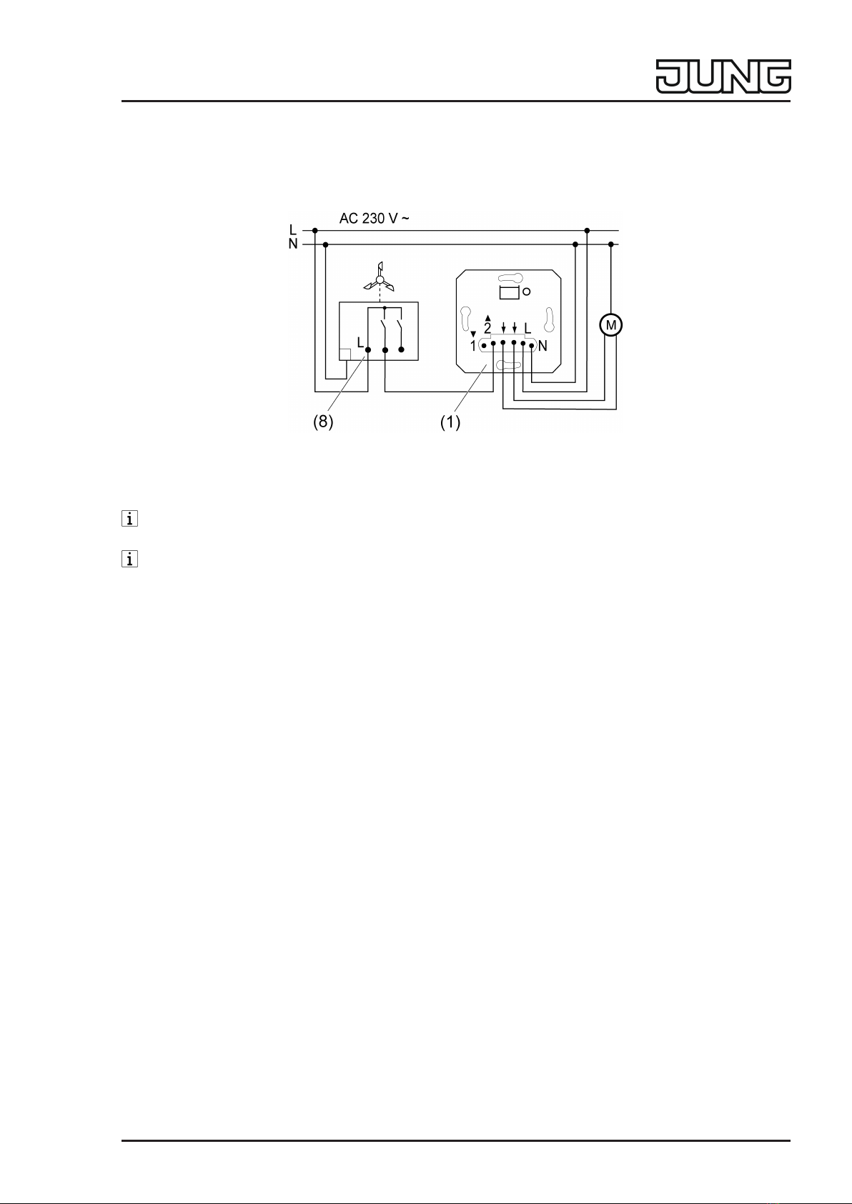
Implementing a wind alarm
Wind sensors serve to protect a Venetian blind from being destroyed by a strong wind. The
Venetian blind is moved to a safe end position and locked there until the wind drops below the
set threshold value.
Figure6: Connection example of wind sensor
■ Connect the wind sensor (8) according to the connection example (Figure 6). The wind
alarm is implemented via extension input 2.
In order to use the wind alarm for all external Venetian blinds of a building, the wind
sensor must be connected to extension unit input 2 of the master control.
As long as an Up command is active on extension unit input 2, the Venetian blind cannot
be operated either manually or automatically.
6 Technical data
Rated voltage AC 230 V~
Mains frequency 50 / 60 Hz
Standby load: 0.1…0.5W, depending on the cover
Ambient temperature -5 ... +45 °C
Storage/transport temperature -20 ... +70 °C
Running time approx. 120 s
Connected load
Motors 700 W
Data according to EN 60730-1
Action 1.B
Degree of soiling 2
Measured surge voltage 4000 V
7 Warranty
The warranty is provided in accordance with statutory requirements via the specialist trade.
5 / 6
82595623 28.01.2020
J0082595623

LB management
Universal blinds insert
ALBRECHT JUNG GMBH & CO. KG
Volmestraße 1
58579 Schalksmühle
GERMANY
Telefon: +49 2355 806-0
Telefax: +49 2355 806-204
www.jung.de
6 / 6
82595623 28.01.2020
J0082595623
Autres manuels pour 1731JE
1
Table des matières
Manuels Store vénitien populaires d'autres marques

Domondo
Domondo PureNight Manuel d'instructions d'installation

rollease acmeda
rollease acmeda Easy Spring Air Guide de configuration

IKEA
IKEA KADRILJ Manuel utilisateur

Hallis Hudson
Hallis Hudson Rolls Super glide Manuel utilisateur

Benthin
Benthin P1614 Manuel utilisateur

MV LINE
MV LINE CLARA 015 Mode d’emploi











