
IMPORTANT
Installer and Users please note:
These instructions should be read carefully and left with the user of the product for future
reference.
BEFORE USE
Inspect the product for any signs of damage. If the product is damaged, DO NOT use it,
and contact your supplier immediately
PRODUCT SAFETY
• Prior to the installation of this product, the installation instructions should be read
and completely understood. The installation instructions must be read to prevent
personal injury and property damage. Keep these installation instructions in an easily
accessible location for future reference.
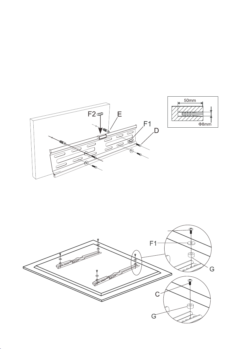
• CAUTION: The maximum load capacity is 45Kg. Use with products exceeding the
maximum load capacity may cause serious injury. See appliance instructions.
• Do not install on a structure that is prone to vibration, movement or chance of impact.
Failure to do so could result in damage to the display and/or damage to the stand.
• Do not place near heater, replace, air conditioning, in direct sunlight, or any other
heat producing source. Failure to do so may result in damage to the display and could
increase the risk of re.
• It is recommended that two people perform the installation. Injury and/or damage can
result from dropping or mishandling the display.
• The enclosed instructions are an aid to installation and cannot cover all eventualities,
if you have any concerns regarding the mounting of the frame or brackets you should
consult an expert.
• CAUTION: Before installation the mounting area should be checked that it is suitable
for the weight of the bracket and screen and is free from pipes, electric cables or any
other obstructions.