
TABLE OF CONTENTS - CONTENIDO
Click Any Diagram Description BelowToViewThat Diagram
Chasque cualquier descripcion del diagrama abajo para ver ese diagrama
Covers..................................................................................................................................................................3
Cubiertas
Fuel System.........................................................................................................................................................4
Sistema de combustible
Fan Case, Clutch.................................................................................................................................................5
Carcasa del ventilador, embrague
Starter -- i-30........................................................................................................................................................6
Arrancador -- i-30
Intake....................................................................................................................................................................7
Admisión
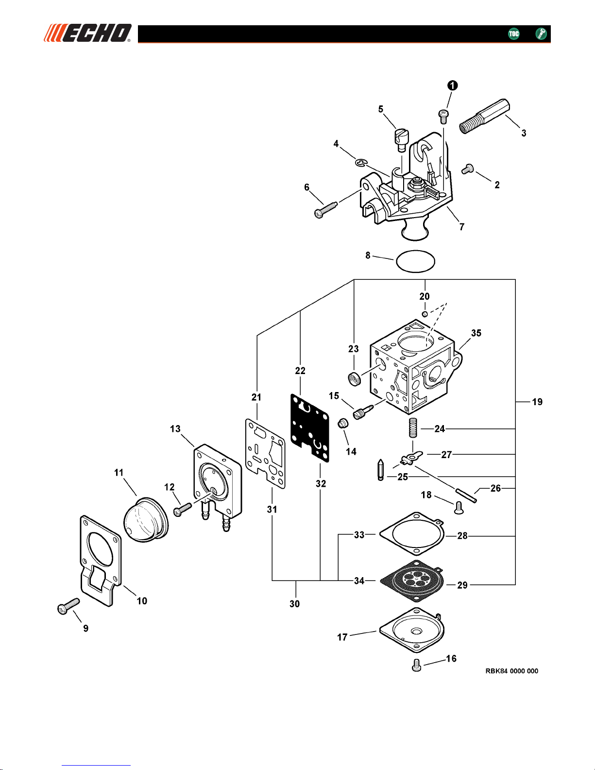
Carburetor -- RB-K84...........................................................................................................................................8
Carburador -- RB-K84
Exhaust..............................................................................................................................................................10
Escape
Flywheel, Ignition..............................................................................................................................................11
Volante, ignición
Engine, Short Block -- SB1090.........................................................................................................................12
Motor, bloque corto -- SB1090
SRM ECHOmatic Pro Head...............................................................................................................................13
Cabeza ECHOmatic Pro (SRM)
Debris Shield - Plastic.......................................................................................................................................14
Protector contra residuos - Plástico
Gear Case...........................................................................................................................................................15
Caja de engranajes
Handles, Throttle Control..................................................................................................................................16
Mangos, control del acelerador
Main Pipe Assembly, Driveshaft.......................................................................................................................17
Conjunto del tubo principal, eje de mando
Labels.................................................................................................................................................................18
Etiquetas
Part Number Index.............................................................................................................................................19
Indice Del Numero De Parte
- 1 -
SRM-265 TRIMMER
Recortadora S/N: S79612001001 - S79612999999