230RB
Air Cooled liquid chillers
t This air conditioner adopts HFC refrigerant (R410A) which
does not destroy ozone layer.
t R-410A refrigerant operates at high pressures. Be sure
that servicing equipment and replacement components
are designed to operate with R-410A.
t R-410A refrigerant cylinders have a dip tube which allows
liquid to ow out with the cylinder in a vertical position
with the valve at the top.
t R-410A systems should be charged with liquid
refrigerant. Use a commercial type metering device in the
manifold hose in order to vaporize the liquid refrigerant
before it enters in the unit.
t As for other HFC, R-410A refrigerant is only compatible
with oils recommended by the compressor manufacturer.
t A vacuum pump is not enough to remove moisture from oil.
t Oils absorb moisture rapidly. Do not expose oil to atmosphere.
Use this unit only for factory approved applications.
The capacity and unit code are stated on the nameplate data.
R-410A - General info
POSITIONTHE UNIT
INSTALLATION
Contents Page
WATER CONNECTIONS
CONTROLWIRING (Optional)
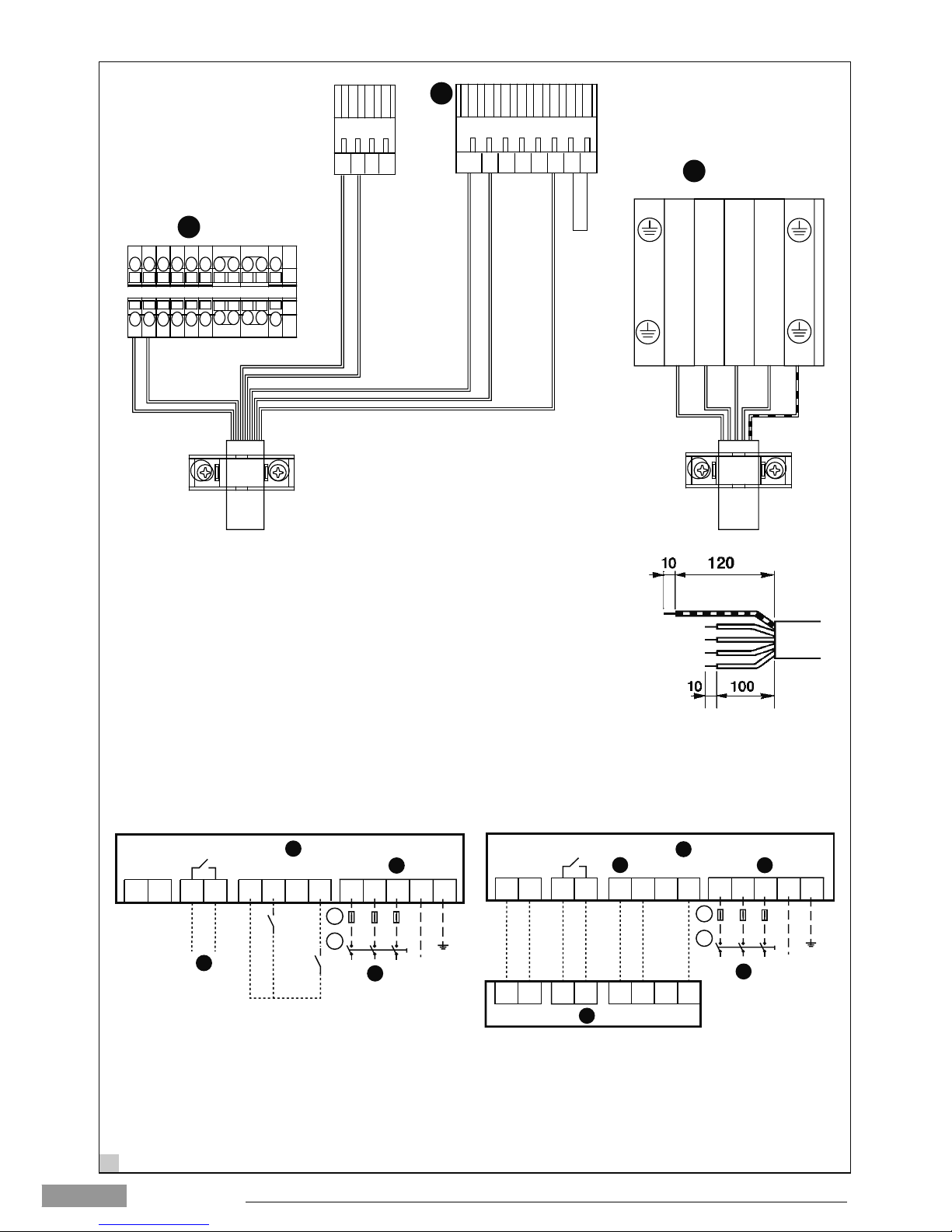
ELECTRICAL CONNECTIONS
POWERWIRING
FILLTHE SYSTEM
FLUSH WATER AND AIR
CHECK FORWATER LEAKS
CONFIGURE AND CHECKTHE SYSTEM
CAUTION:
t %POPUMFBWFTZTUFNPQFOUPBUNPTQIFSFBOZMPOHFS
UIBONJOJNVNSFRVJSFEGPSJOTUBMMBUJPO
MODELS WITH HYDRONIC
MODULE
MODELS WITHOUT
HYDRONIC MODULE
30RB008-9 30RB008X9
30RB012-9 30RB012X9
30RB015-9 30RB015X9
R-410A - General info........................................................... 2
Safety procedures................................................................. 3
Installation.............................................................................. 4
Dimensions and clearances............................................... 5
Safety procedures - Servicing and maintenance......... 5
Technical data........................................................................ 5
Water connections ............................................................... 6
Electronic Control................................................................. 9
Electrical connections......................................................... 9
Auxiliary accessories connection .................................... 11
Unit circuit diagram ............................................................. 12
Maintenance.......................................................................... 12
Diagnostic............................................................................... 13
Troubleshooting,guidefortheownerandaccessories...... 14
Service instructions ............................................................. 15