
41-151.1H Type D-3 Direct Current Relay
6
contacts is not recommended because of the danger
of embedding small particles in the face of the soft
silver and thus impairing the contact.
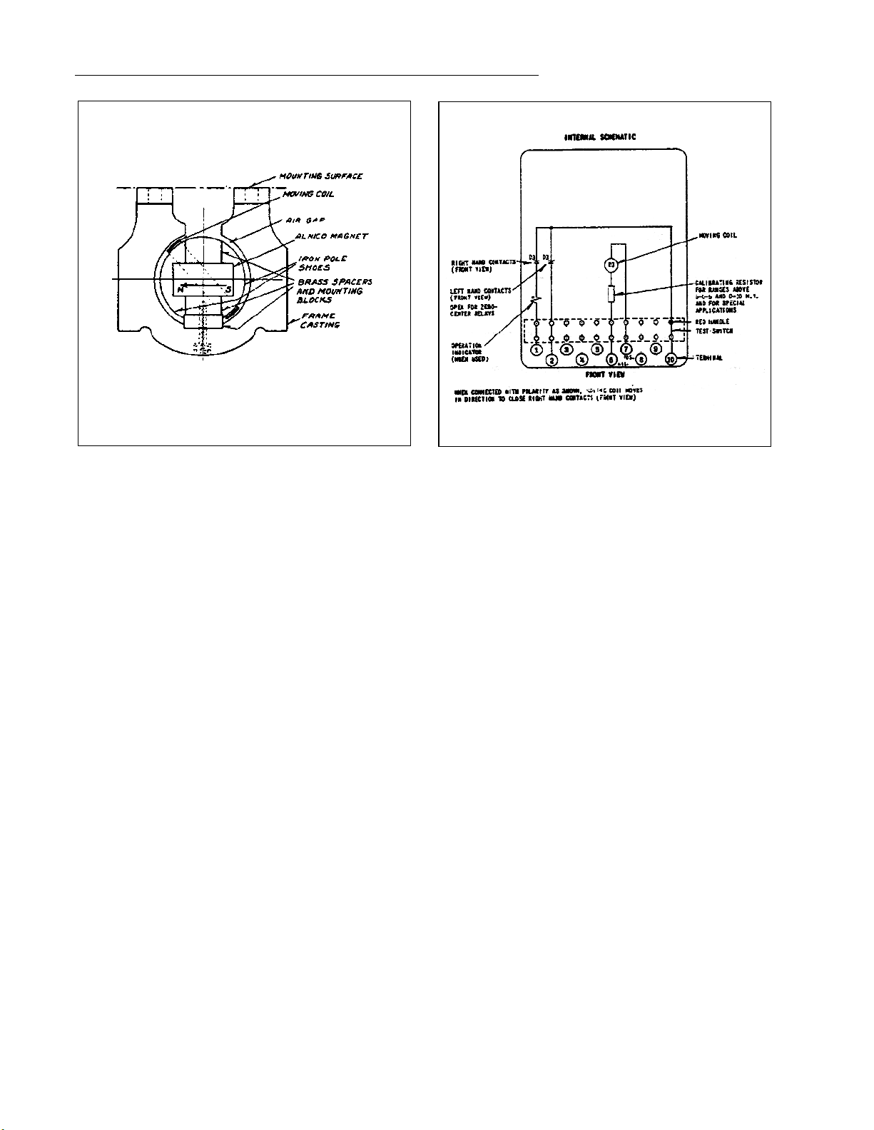
If the moving element should be removed, the bear-
ing end-play should be checked when replacing it.
This should be from .020 inch to .025 inch, and can
be measured by inserting a feeler gauge between the
upper bearing screw and the shoulder on the moving
element shaft.
The core and moving coil assembly should not be
removed from the frame casting of the D-3 relay
unless a keeper having the same radius on the core
is placed on the core in such manner as to bridge the
iron pole pieces as the core is withdrawn from the
bore of the casting. It is necessary also to insert
spacers in the air gap so that the core will remain
approximately centered when the mounting screws
are removed, to prevent damaging the coil winding
when sliding the assembly out of the casting.
7.3 AUXILIARY SWITCH (CS-1)
Adjust the stationary core of the switch for a clear-
ance between the stationary core and the moving
core when the switch is picked up. This can be done
by turning the relay upside-down. Then screw up the
core screw until the moving core starts rotating. Now
back off the core screw until the moving core stops
rotating. This indicates the points when the play in
the assembly is taken up, and where the moving core
just separates from the stationary core screw. Back
off the core screw approximately one turn and lock in
place. This prevents the moving core from striking
and sticking to the stationary core because of resid-
ual magnetism. Adjust the contact clearance for
3/64”by means of the two small nuts on either side of
the Micarta disc.
Block main contacts closed and energize trip circuit
with rated voltage. Contacts of auxiliary switch
(CS-1) should make.
7.4 OPERATION INDICATOR
The operation indicator (when used) consists of a
small solenoid coil mounted in a steel frame, a spring
restrained armature and a white flag. The indicator is
reset by a push rod in the cover. Block the CS-1 aux-
iliary relay contacts closed and pass 0.2 amperes AC
or DC through the indicator. The white target should
fall into view.
The coil has a dc resistance of approximately 2.8
ohms and a continuous current carrying capacity of
0.6 amperes.
8.0 REPAIRS AND RENEWAL PARTS
Repair work can be done most satisfactorily at the
factory. However, interchangeable parts can be fur-
nished to the customers who are equipped for doing
repair work. When ordering parts, always give the
complete nameplate data.