
©
3M 2005. All Rights Reserved. 33M™ Overhead Projector 1700 Series
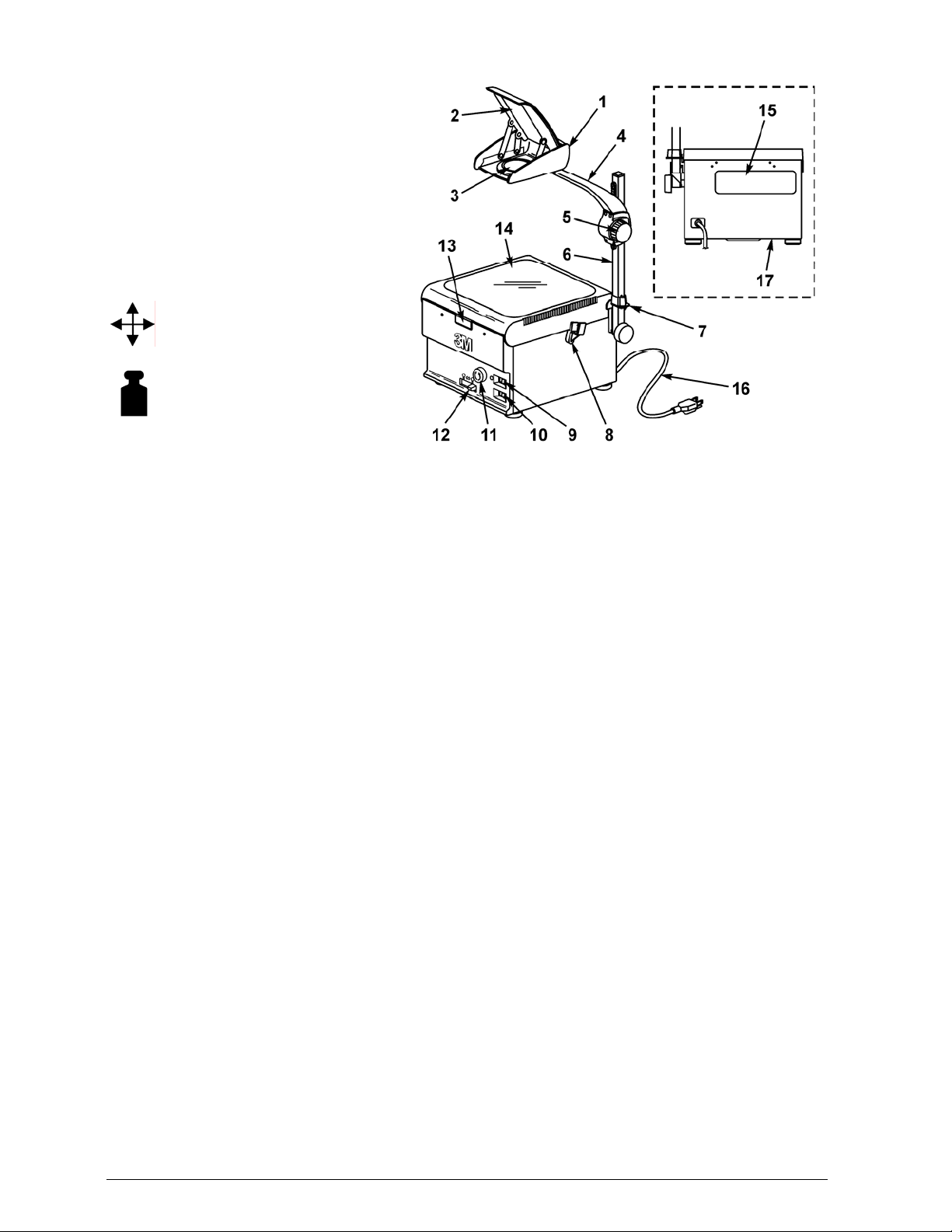
Names of Parts
Noms des Éléments
Bezeichnung der Teile
Nombres de Piezas –
Denominazione dei pezzi
Delarnas namn
Namen van de onderdelen
Nomes das peças
English
1. Open Projection Head 2. Projection Mirror 3. Singlet Lens (1705, 1708), Triplet Lens (1720, 1750) 4. Arm 5. Focus Knob 6. Post
7. Post Latch 8. Post Cradle 9. On/Off Power Switch 10. High/Low Brightness Switch (1708, 1720, 1750) 11. Color Tuning Knob (1708,
1720, 1750) 12. Lamp Changer (1708, 1720, 1750) 13. Top Cover Release Latch (with interlock) 14. Top Cover Stage Glass
15. Cord Storage 16. Power Cord 17. Machine Identification Plate.
Français
1. Tête de projection ouverte 2. Miroir de projection 3. Lentille de projection unique (1705, 1708), Lentille de projection triple (1720, 1750)
4. Bras 5. Bouton de mise au point 6. Tige 7. Loquet de la tige 8. Socle de la tige 9. Commutateur d'alimentation 10. Commutateur de
luminosité Faible/bas (1708, 1720, 1750) 11. Bouton de réglage des couleurs (1708, 1720, 1750) 12. Commutateur d'éclairage (1708,
1720, 1750) 13. Loquet de blocage du couvercle supérieur (avec verrouillage) 14. Plateau de projection du couvercle supérieur
15. Rangement du cordon 16. Cordon d'alimentation 17. Plaque d'identification de l'appareil.
Deutsch
1. Offener Projektorkopf 2. Projektionsspiegel 3. Singulett-Projektionslinse (1705, 1708),Triplet-Projektionslinse (1720, 1750) 4. Arm
5. Fokusknopf 6. Ständer 7. Ständerverriegelung 8. Ständerverankerung 9. Netzschalter 10. Hoch/Niedrig Helligkeitsschalter (1708,
1720, 1750) 11. Farbeinstellungsknopf (1708, 1720, 1750) 12. Lampenauswechselvorrichtung (1708, 1720, 1750) 13. Löseklinke für
obere Abdeckung (mit Sicherheitssperre) 14. Auflageglas der oberen Abdeckung 15. Aufbewahrungsfach für Netzkabel 16. Netzkabel
17. Geräteidentifikationstafel.
Español
1. Cabezal abierto de proyección 2. Espejo de proyección 3. Lente de proyección simple (1705, 1708), Lente de proyección triple (1720,
1750) 4. Brazo 5. Perilla de enfoque 6. Poste 7. Seguro del poste 8. Soporte del poste 9. Interruptor de la alimentación 10. Interruptor
de aumento/disminución del brillo (1708, 1720, 1750) 11. Perilla de ajuste del color (1708, 1720, 1750) 12. Cambiador de lámpara (1708,
1720, 1750) 13. Seguro de liberación de la cubierta superior (con cerrojo) 14. Vidrio portaobjetos 15. Compartimento para el cable de
alimentación 16. Cable de alimentación 17. Placa de identificación de la máquina.
Italiano
1. Testa da proiezione aperta 2. Specchio da proiezione 3. Obiettivo da proiezione ad una sola lente (1705, 1708) Obiettivo da proiezione
a tre lenti (1720, 1750) 4. Braccio 5. Bottone per la messa a fuoco 6. Barra 7. Dispositivo di bloccaggio della barra 8. Culla oscillante
della barra 9. Interruttore di alimentazione 10. Interruttore per la luminosità High/Low (Alto/Basso) (1708, 1720, 1750) 11. Bottone per la
regolazione dei colori (1708, 1720, 1750) 12. Dispositivo per la sostituzione delle lampade (1708, 1720, 1750) 13. Chiusura a scatto del
coperchio superiore (con bloccaggio) 14. Vetro piano del coperchio superiore 15. Scomparto per cavo 16. Cavo di alimentazione
17. Piastra di identificazione della macchina.
Svenska
1. Öppet projektorhuvud 2. Projektionsspegel 3. Enkel projektorlampa (1705, 1708) Triplett projektorlampa (1720, 1750) 4. Arm
5. Fokuseringsratt 6. Stolpe 7. Spärrhake för stolpe 8. Hållare för stolpe 9. Strömbrytare 10. Knapp för hög/låg ljusstyrka (1708, 1720,
1750) 11. Ratt för färgjustering (1708, 1720, 1750) 12. Lampväxlare (1708, 1720, 1750) 13. Frigöringsmekanism för övre höljet
14. Glasskiva på övre höljet 15. Utrymme för förvaring av sladd 16. Nätsladd 17. Apparatens identifieringsskylt.
Nederlands
1. Open projectiekop 2. Projectiespiegel 3. Eéndelige projectielens (1705, 1708) Driedelige projectielens (1720, 1750) 4. Arm 5. Knop
voor scherpstelling 6. Stijl 7. Stijlslot 8. Stijlhaak 9. Stroomschakelaar 10. High/Low (hoog/laag) helderheidsschakelaar (1708, 1720,
1750) 11. Knop voor kleurbijstelling (1708, 1720, 1750) 12. Lampenverwisselaar (1708, 1720, 1750) 13. Ontkoppelslot voor de
bovenkap (met koppel) 14. Glasplatform van de bovenkap 15. Bergruimte voor de stroomkabel 16. Stroomkabel 17. Identificatieplaatje
van het apparaat.
Português
1. Cabeçote de projeção aberto 2. Espelho de projeção 3. Lente de projeção singular (1705, 1708) Lente de projeção tripla (1720, 1750)
4. Braço 5. Botão de ajuste de foco 6. Suporte 7. Trava do suporte 8. Apoio do suporte 9. Interruptor 10. Ajuste de brilho alto/baixo
(1708, 1720, 1750) 11. Botão de ajuste de cores (1708, 1720, 1750) 12. Trava de desengate da tampa (com interloque) 13. Trocador de
lâmpada (1708, 1720, 1750) 14. Vidro de apresentação da tampa 15. Local para armazenamento do cabo 16. Cabo de alimentação
elétrica 17. Plaqueta de identificação do aparelho.
854mm x 401mm x 373mm
1705
10,3 kg
1708 – 11,4 kg
1720 – 11,8 kg
1750 – 13,1 kg