Worksite DPR102 Manuel utilisateur

DRILL PRESS
SAVE THIS MANUAL
You will need this manual for safety instructions, operating procedures and warranty.
Put it and the original sales receipt in a safe dry place for future reference.
Operator’s Manual
MODEL:DPR102
350W

EN
DE
FR
ES
PT
IT
CS
PL
RU
RO
Original instructions 18
Übersetzung der Originalbetriebsanleitung 9
Traduction de la notice originale 7
Traducción del manual original 12
Tradução do manual original 14
Traduzione delle istruzioni originali 16
P
Instructiuni originale
ĝeklad SĥYRGQtKR náYodu k pouætYánt
Tâumaczenie instrukcji oryginalnej 24
Ɋɠɫɠɝɩɟ ɣɬɰɩɟɨɶɰ ɣɨɬɭɫɮɥɱɣɤ 21
29
TR Orijinal talimatlarÖn çeYirisi 32
7
7
27





PERCEUSE A COLONNE
MISE EN GARDE
Pour votre propre sécurité, lisez préalablement ce manuel
d’utilisation avant d’utiliser la machine.
CONSIGNES DE SÉCURITÉ
Lors d’emploi de la machine, observez toujours scrupuleusement
les consignes de sécurité fournies ainsi que les consignes de
sécurité complémentaires ci-dessous.
Dans ce manuel sont employés les pictogrammes suivants :
Risque de lésion corporelle ou de dégâts matériels.
INSTRUCTIONS DE SECURITE SUPPLEMENTAIRES POUR LES
PERCEUSES A COLONNE
■Connectez uniquement la machine à une alimentation secteur
de terre. Utilisez uniquement des rallonges avec un noyau en
arborescence.
■Portez toujours des lunettes de protection et couvrez-vous la
tête avec un filet si vous avez les cheveux longs.
■Ne portez pas de gants, de cravates ou de vêtements amples.
■Pendant que vous percez, ne tenez jamais la pièce à la main,
mais fixez-la fermement à la table de perçage à l’aide d’un étau
par ex. Ne laissez jamais vos doigts à un endroit où ils
pourraient toucher la perceuse si la pièce bougeait de manière
inattendue.
■N’utilisez pas la machine avant qu’elle ait été complètement
montée et installée conformément aux instructions.
■N’allumez pas la machine tout en bougeant la tête relative à la
table ou vice versa. N’allumez pas la machine avant d’avoir vérifié
que la tête et la table ont été fermement fixées au support.
■N’utilisez pas la machine si une pièce est endommagée ou
fonctionne mal.
■Réglez la table ou la butée de profondeur pour éviter que la
perceuse n’entre dans la table. N’effectuez aucune activité de
conception, d’assemblage ou de construction sur la table alors
que la machine fonctionne.
■Veillez à ce que la clé de mandrin (si elle existe) a été retirée
avant d’allumer la machine.
■Avant d’allumer la machine, veillez à ce que le mandrin ait été
correctement monté, que le foret de perçage ait été installé
fermement dans le mandrin et que le dispositif de sécurité ait
été fermé.
■En cours de fonctionnement, utilisez la vitesse recommandée
pour les accessoires de perçage et le matériel.
■Eteignez le courant, enlevez le foret et nettoyez la table avant
de quitter la machine.
■Verrouillez l’interrupteur marche/arrêt lorsque vous quittez
la machine.
SÉCURITÉ ÉLECTRIQUE
Vérifiez si le voltage mentionné sur la plaque
signalétique de la machine correspond bien à la
tension de secteur présente sur lieu.
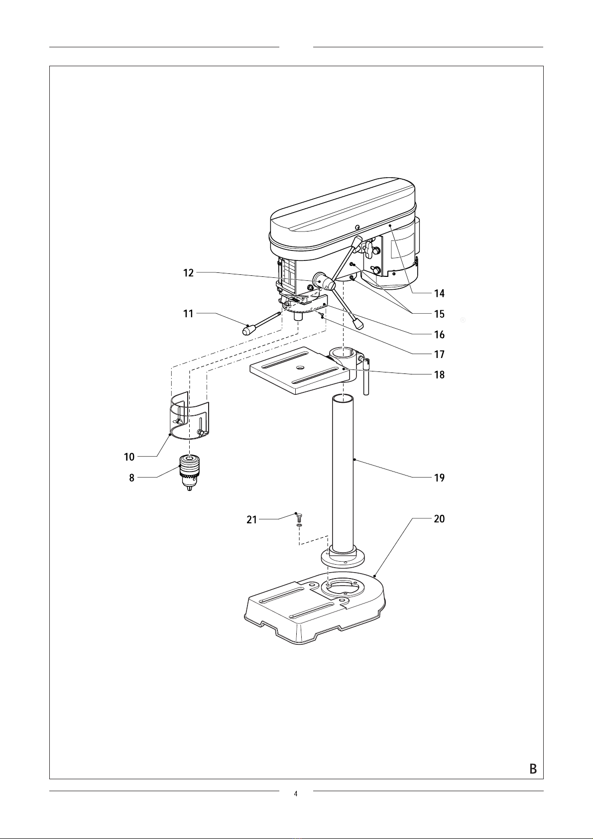
DESCRIPTION (fig. A)
Votre perceuse à colonne a été conçue pour percer des trous
dans le bois, le métal et le plastique.
1 Bouton marche/arrêt
2 Capot système de poulie
3 Vis
4 Vis tige coulissante
5 Tige coulissante
6 Poignée verrouillage support
7 Ecrou verrouillage table
8 Mandrin
9 Collet de serrage
10 Dispositif de sécurité
11 Poignée de soulèvement
12 Monteur foret
13 Butée de profondeur
Assemblage de la machine (fig. B)
Installez la machine sur une surface solide et plane.
■Montez le support (19) sur le pied (20) à l’aide des boulons (21).
■Faites glisser la table (18) sur le support.
■Placez la tête (14) au-dessus du support. Serrez fermement
les vis Allen (15) pour maintenir la tête en place.
■Faites glisser la clé de mandrin (8) sur le manche de la perceuse.
■Insérez le dispositif de sécurité (10) aussi loin que possible
dans le support (16) et vissez les vis (17) dans les trous.
Serrez les vis.
■Vissez les poignées de soulèvement (11) dans le corps du
monteur foret (12).
La machine est munie des pictogrammes
suivants :
Prenez des mesures de
protection oculaire
Consultez le manuel.
■Enlevez l’huile anti-corrosion sur les parties métalliques non
couvertes à l’aide d’un chiffon et d’un peu d’huile de paraffine.
Procédez ensuite au graissage des pièces avec l’huile de
lubrification de la machine.
Si des pièces sont manquantes, n’assemblez pas la
machine, ne la branchez pas et ne l’allumez pas
avant que les pièces manquantes aient été montées
conformément aux instructions.
Vérifiez avant utilisation :
■que la table peut être déplacée en douceur ;
■que le monteur foret peut être monté et descendu
en douceur ;
■que la machine ne vibre pas lorsqu’elle est allumée.
Insertion et retrait d’un foret (fig. A)
■Ouvrez le dispositif de sécurité (10).
■Ouvrez le mandrin (8).
■Insérez le foret dans le mandrin.
■Serrez le mandrin à la main.
■Serrez le mandrin fermement en insérant la clé de mandrin
dans l’un des trous sur le côté du mandrin et en tournant dans
le sens des aiguilles d’une montre.
■Fermez le dispositif de sécurité.
■Pour retirer un foret, procédez en sens inverse.

Votre perceuse à colonne 8E113 est équipée d’un mandrin
autoserrant.
■Ouvrez le dispositif de sécurité (10).
■Ouvrez le mandrin (8) en tournant le collet de serrage (9).
■Insérez le foret dans le mandrin.
■Fermez le mandrin en serrant fermement le collet de serrage
tout en tenant l’arrière du mandrin de l’autre main.
■Fermez le dispositif de sécurité.
■Pour retirer le foret, procédez en sens inverse.
Avant d’insérer ou de retirer un foret, débranchez
toujours la machine de la prise murale.
Réglage de la profondeur de perçage (fig. A)
■Veillez à ce que les écrous de verrouillage sur le filet de la
butée de profondeur (13) soient complètement relevés.
■Utilisez les poignées de soulèvement (11) pour positionner le
mandrin (8) à la profondeur de perçage désirée.
Pour déterminer la profondeur de perçage nécessaire,
reportez-vous à la flèche sur la butée de profondeur et à la
valeur correspondante sur l’échelle.
■Tournez d’abord l’écrou de verrouillage inférieur vers le bas
jusqu’à ce qu’il ait atteint la butée de la machine, puis tournez
l’écrou de verrouillage supérieur vers le bas pour fixer l’écrou
de verrouillage inférieur.
Réglage de la table (fig. C)
La table peut être réglée en hauteur, tournée et basculée.
Réglage en hauteur :
■Desserrez la poignée de verrouillage du support (6).
■Réglez la table (18) à la hauteur désirée.
■Serrez la poignée de verrouillage du support.
Rotation :
■Desserrez la poignée de verrouillage du support (6).
■Tournez la table (18) dans la position désirée.
■Serrez la poignée de verrouillage du support.
Basculement :
■Desserrez l’écrou de verrouillage de la table (7).
■Basculez la table (18) sur la position désirée.
■Serrez l’écrou de verrouillage de la table (7).
Montage et réglage de l’étau (fig. D)
Votre perceuse à colonne 8E109 est équipée d’un étau.
■Placez l’étau (22) sur la table.
■Insérez un boulon (23) dans les fentes arrières des deux côtés
de l’étau.
■Placez le boulon sur le côté gauche de l’étau aussi près que
possible de l’avant.
■Placez le boulon sur le côté droit de l’étau aussi près que
possible de l’arrière.
■Vissez un écrou (24) sur chacun des boulons.
■Serrez les écrous à la main.
■Ouvrez la mâchoire (25) un peu plus que l’épaisseur de la pièce.
■Déterminez la position correcte de l’étau sur la table.
Pour déterminer l’endroit où la perceuse entrera dans la pièce,
orientez l’ouverture circulaire (26) au centre de la table.
■Serrez les écrous fermement.
Veillez à ce que les boulons des deux côtés de l’étau
ait été bien serrés. Lorsque la machine fonctionne,
vérifiez régulièrement que les écrous ne se sont pas
desserrés suite aux vibrations.
Réglage de la vitesse (fig. A & E)
■Enlevez la vis (3) et ouvrez le capot (2).
■Desserrez la vis de la tige coulissante (4) et poussez le capot
du moteur (30) vers l’avant pour libérer la tension sur la
courroie (27). Serrez la tige coulissante (5) en serrant la vis de
la tige coulissante.
■Alignez la courroie trapézoïdale avec la poulie du manche de la
perceuse (28) et avec la poulie du moteur (29) dans l’une des
combinaisons spécifiées à l’intérieur du capot.
■Desserrez la vis de la tige coulissante et poussez le capot du
moteur vers l’arrière pour tendre la courroie trapézoïdale.
Serrez la tige coulissante en serrant la vis de la tige coulissante.
■Fermez le capot et serrez la vis.
Eteignez la machine et attendez qu’elle se soit
complètement arrêtée pour changer la vitesse.
Réglez la vitesse en fonction du matériau à percer et du diamètre
de perçage.
■Pour percer dans le bois, choisissez une vitesse élevée.
■Pour percer dans le métal et le plastique, choisissez une vitesse
moins importante plus le diamètre de perçage augmente.
Instructions d’emploi
■Utilisez des déchets pour vous entraîner et apprendre d’abord
à utiliser la machine.
■Lorsque vous percez, réglez la table afin de faire en sorte que
la perceuse soit alignée avec l’ouverture au centre de la table.
Si nécessaire, marquez la position sur le côté avant de la
colonne et de la table au cas la table devrait être réglée à la
même position plus tard.
■Fixez bien la pièce. Le fait de la basculer, de la tourner ou de la
faire glisser n’entraîne pas seulement un mauvais perçage,
cela augmente également le risque de casser la perceuse.
■Utilisez un morceau de bois servant d’appui pour réduire le
risque d’éclatement de la pièce et pour protéger la pointe de la
perceuse.
■Placez des pièces plates sur un support en bois et fixez-les
fermement à la table pour les empêcher de tourner. Soutenez
les pièces qui ont une forme irrégulière et qui ne peuvent pas
être mises à plat sur la table.
■Lorsque vous utilisez un étau (8E109), préparez-vous à bloquer
les matériaux mous. Si nécessaire, posez des divisions pour
éviter que la pièce ne soit endommagée par les mâchoires.
■Utilisez les poignées de soulèvement pour abaisser le monteur
foret. Introduisez doucement la perceuse dans la pièce.
■Percez doucement lorsque la perceuse est sur le point de
percer la pièce pour éviter de la briser en éclat.
Mise en marche et arrêt (fig. A)
■Pour mettre la machine en marche, positionnez le bouton
marche/arrêt (1) sur ‘I’.
■Pour mettre la machine en arrêt, positionnez le bouton
marche/arrêt sur ‘0’.
NETTOYAGE ET ENTRETIEN
La machine n’exige pas d’entretien particulier.
■Nettoyez régulièrement les orifices d’aération.

Fréquence du réseau Hz 50
DEUTSCH
Lubrification
■Mettez la perceuse sur la profondeur de perçage maximum une
fois tous les 3 mois et graissez-la légèrement avec de l’huile.
SPÉCIFICATIONS TECHNIQUES
Tension du réseau V 230
Puissance W 350
Vitesse à vide min-1 580 - 2.650
Nombre de vitesses de perçage 5
Capacité du mandrin mm 13
Hauteur de la colonne mm 580
Poids kg 17
Niveau de la pression sonore mesuré sur le lieu de travail
conformément à la norme EN 61029-1 :
L (pression sonore) dB(A) < 75
GARANTIE
Pour les clauses de garantie, reportez-vous aux conditions de
garantie ci-jointes.
ENVIRONNEMENT
Si, après un certain temps, vous décidez de remplacer votre
machine, ne vous en débarrassez pas avec les ordures
ménagères mais destinez-la à un traitement respectueux de
l’environnement.
SÄULENBOHRMASCHINE
WARNUNG
Lesen Sie zu Ihrer eigenen Sicherheit diese Anleitung gründlich
durch, bevor Sie das Elektrowerkzeug benutzen.
SICHERHEITSHINWEISE
Beim Gebrauch des Elektrowerkzeuges sind die beiliegenden
Sicherheitshinweise sowie die zusätzlichen Sicherheitshinweise
zu beachten.
Folgende Symbole werden in dieser Anleitung verwendet:
Achtung: Verletzungsgefahr oder mögliche
Beschädigung des Elektrowerkzeuges.
ZUSÄTZLICHE SICHERHEITSHINWEISE FÜR
SÄULENBOHRMASCHINEN
■Schließen Sie die Maschine nur an eine geerdete
Hauptstromversorgung an. Benutzen Sie nur Dreifachleiter-
Verlängerungskabel.
■Tragen Sie immer eine Schutzbrille und bei langen Haaren ein
Haarnetz.
■Tragen Sie keine Handschuhe, Krawatten oder weite Kleidung.
■Halten Sie nie das Arbeitsstück während des Bohrens in der
Hand, sondern befestigen Sie es mit z. B. einer Spannbacke
am Bohrtisch. Halten Sie Ihre Finger niemals an Stellen, wo sie
den Bohrer berühren könnten, wenn sich das Arbeitsstück
unerwartet bewegte.
■Benutzen Sie nicht die Maschine, bis sie nicht vollständig
gemäß den Anleitungen montiert und installiert worden ist.
■Schalten Sie die Maschine nicht ein, wenn sich der Kopf
bezüglich des Tisches oder umgekehrt bewegt. Schalten Sie
die Maschine nicht ein, bis sie überprüft haben, daß der Kopf
und der Tisch fest an der Säule befestigt sind.
■Benutzen Sie nicht die Maschine, wenn ein Teil beschädigt ist
oder nicht richtig funktioniert.
■Stellen Sie den Tisch oder den Tiefenanschlag ein, um zu
verhindern, daß der Bohrer in den Tisch eindringt. Führen Sie
keine Entwurfs-, Montage- oder Konstruktionsarbeiten auf dem
Tisch aus, wenn die Maschine eingeschaltet ist.
■Stellen Sie sicher, daß der Bohrfutterschlüssel (wenn anwendbar)
entfernt worden ist, bevor die Maschine eingeschaltet wird.
■Bevor Sie die Maschine einstellen, stellen Sie sicher, daß der
Bohrfutter korrekt montiert worden ist, daß der Bohrer fest in
dem Bohrfutter montiert worden ist und der Sicherheitsschutz
geschlossen worden ist.
■Benutzen Sie während des Betriebs die für die Bohrzubehörteile
und das Material empfohlene Geschwindigkeit.
■Schalten Sie die Stromversorgung ab, entfernen Sie den
Bohrer und reinigen Sie den Tisch, bevor Sie die Maschine
verlassen.
■Verriegeln Sie den Ein-/Aus-Schalter, wenn Sie die Maschine
verlassen.
ELEKTRISCHE SICHERHEIT
Überprüfen Sie immer, ob die Netzspannung der auf
dem Typenschild des Elektrowerkzeuges angegebenen
Spannung entspricht.
Auf der Maschine finden Sie folgende
Symbole:
Tragen Sie eine Schutzbrille.
Schlagen Sie in der Anleitung
nach.

Montage der Maschine (Abb. B)
Installieren Sie die Maschine auf einer ebenen, festen Oberfläche.
■Montieren Sie die Säule (19) an dem Fuß (20) mittels der
Schrauben (21).
■Schieben Sie den Tisch (18) auf die Säule.
■Platzieren Sie den Kopf (14) oben auf der Säule. Ziehen Sie die
Innensechskantschrauben (15) fest an, um den Kopf an seinem
Platz zu halten.
■Schieben Sie das Bohrfutter (8) in den Bohrschaft.
■Führen Sie den Sicherheitsschutz (10) so weit wie möglich in
die Klammer (16) und drehen Sie die Schrauben (17) in die
Löcher. Ziehen Sie die Schrauben fest.
■Schrauben Sie die Hubgriffe (11) in den Körper des Bohrhubs
(12).
■Entfernen Sie das Korrosionsschutzöl auf den unbedeckten
Metallteilen mit Hilfe eines Tuchs und ein wenig Parrafinöl. Fahren
Sie mit dem Schmieren der Teile mit Maschinenschmieröl fort.
Montieren Sie die Maschine nicht, wenn Teile fehlen,
schließen Sie sie nicht an und schalten Sie die
Maschine nicht an, bis die fehlenden Teile gemäß den
Anleitungen montiert worden sind.
Überprüfen Sie vor dem Betrieb:
■daß der Tisch leicht bewegt werden kann;
■daß der Bohrhub leicht nach oben und nach unten
bewegt werden kann;
■daß die Maschine nicht wackelt, wenn sie
eingeschaltet wird.
Einführen und Entfernen eines Bohrers (Abb. A)
■Öffnen Sie den Sicherheitsschutz (10).
■Öffnen Sie das Bohrfutter (8).
■Führen Sie einen Bohrer in das Bohrfutter ein.
■Ziehen Sie das Bohrfutter mit der Hand fest.
■Ziehen Sie das Bohrfutter durch Einführen des
Bohrfutterschlüssels in eines der Löcher an der Seite des
Bohrfutters und Drehen im Uhrzeigersinn fest.
■Schließen Sie den Sicherheitsschutz.
■Gehen Sie in umgekehrter Reihenfolge vor, um den Bohrer
zu entfernen.
Ihre 8E113-Säulenbohrmaschine ist mit einem
Schnellspannbohrfutter ausgerüstet.
■Öffnen Sie den Sicherheitsschutz (10).
■Öffnen Sie das Bohrfutter (8) durch Drehen des Kragens (9).
■Führen Sie einen Bohrer in das Bohrfutter ein.
■Schließen Sie das Bohrfutter durch Festdrehen des Kragens,
während sie die Hinterseite des Bohrfutters mit der anderen
Hand festhalten.
■Schließen Sie die Sicherheitsvorrichtung.
■Gehen Sie in umgekehrter Reihenfolge vor, um den Bohrer zu
entfernen.
Ziehen Sie immer den Stecker aus der Steckdose,
bevor Sie einen Bohrer einführen oder entfernen.
Einstellen der Bohrtiefe (Abb. A)
■Stellen Sie sicher, daß die Gegenmuttern auf dem Gewinde des
Tiefenanschlags (13) vollständig aufgedreht worden sind.
■Benutzen Sie die Hubgriffe (11), um den Bohrfutter (8) auf die
benötigte Bohrtiefe zu bewegen. Um die benötigte Bohrtiefe zu
bestimmen, ziehen Sie den Pfeil an dem Tiefenanschlag und
den entsprechenden Wert auf der Skala zu Rate.
■Ziehen Sie zuerst die untere Gegenmutter nach unten, bis sie
den Anschlag an der Maschine erreicht hat, dann bewegen Sie
die obere Gegenmutter nach unten, um die untere Gegenmutter
zu sichern.
Einstellen des Tisches (Abb. C)
Der Tisch kann höhenverstellt, gedreht und gekippt werden.
Höheneinstellung:
■Lockern Sie den Verrieglungsgriff (6) der Säule.
■Stellen Sie den Tisch (18) auf die gewünschte Höhe ein.
■Ziehen Sie den Verrieglungsgriff der Säule fest.
Drehen:
■Lockern Sie den Verrieglungsgriff (6) der Säule.
■Stellen Sie den Tisch (18) auf die gewünschte Höhe ein.
■Ziehen Sie den Verrieglungsgriff der Säule fest.
Kippen:
■Lockern Sie die Verriegelungsmutter des Tisches (7).
■Kippen Sie den Tisch (18) in die gewünschte Position.
■Ziehen Sie die Verriegelungsmutter (7) des Tisches fest.
Montieren und Einstellen der Spannbacke (Abb. D)
Ihre 8E109-Säulenbohrmaschine ist mit einer Spannbacke
ausgerüstet.
■Platzieren Sie die Spannbacke (22) auf dem Tisch.
■Führen Sie eine Schraube (23) in die hinteren Schlitze auf
beiden Seiten der Spannbacke ein.
■Platzieren Sie den Bolzen auf der linken Seite der Spannbacke,
so nah wie möglich an der Vorderseite.
■Platzieren Sie den Bolzen auf der rechten Seite der
Spannbacke, so nah wie möglich an der Rückseite.
■Drehen Sie eine Mutter (24) auf jeden der Bolzen.
■Ziehen Sie die Muttern fingerfest an.
BESCHREIBUNG (Abb. A)
Ihre Säulenbohrmaschine ist entworfen worden, um Löcher in
Holz, Metall und Kunststoff zu bohren.
1 Ein-/Aus-Schalter
2 Systemabdeckung der Bandrolle
3 Schraube
4 Gleitstangenschraube
5 Gleitstange
6 Säulen-Verriegelungsgriff
7 Tisch-Verriegelungsmutter
8 Bohrfutter
9 Kragen
10 Sicherheitsschutz
11 Hubgriff
12 Bohrhub
13 Tiefenanschlag
■Öffnen Sie die Klemmbacke (25) ein bisschen weiter als es der
Dicke des Arbeitsstücks entspricht.
■Bestimmen Sie die korrekte Position der Spannbacke auf dem
Tisch. Um die Stelle zu bestimmen, wo der Bohrer in das
Arbeitsstück eindringt, orientieren Sie die kreisförmige
Öffnung (26) in der Mitte des Tisches.
■Ziehen Sie die Muttern fest an.
Stellen Sie sicher, daß die Verschlüsse an beiden
Seiten der Spannbacke richtig festgezogen worden
sind. Überprüfen Sie regelmäßig während des
Betriebs, daß die Muttern nicht durch die Vibrationen
gelockert worden sind.
Table des matières
Langues :
Autres manuels Worksite Outils électriques



















