
Check location where washer will be
installed. Proper installation is your
responsibility. Make sure you have
everything necessary for correct
installation.
Do Not store or operate washer below
32°F (0°C) (some water may remain in
washer).
Hot and cold water faucets: Must be
within 4 feet (1.2 m) of the back of
the washer and provide water
pressure 10 -100 PSI (69-690 kPa). A
pressure reduction valve should be
used in the supply line where inlet
pressure entering the building
exceeds 100 PSI (690 kPa) to avoid
damage to the washer mixing valve.
Grounded
electrical outlet
is required. See
Electrical
requirements.
Single washer
installations require
12-inch (300 mm)
minimum risers to
provide an air
cushion and
avoid noise and
damage to valves.
Untape and
open washer
lid. Remove
packages and
hoses from
washer.
Water heater: Set to
deliver 120°F (48.9°C)
water to the washer.
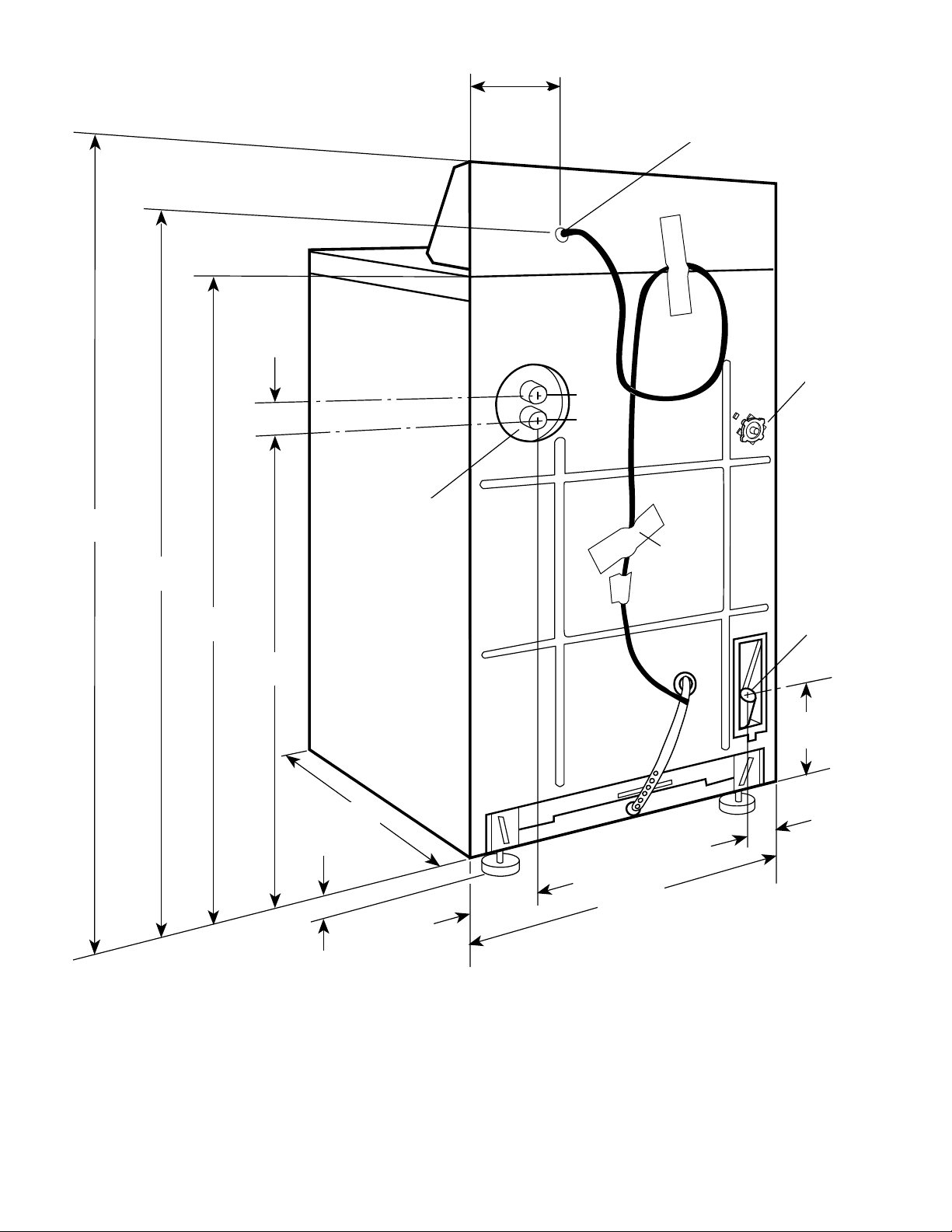
Standpipe drain system: Needs a two-
inch (50 mm) minimum carry-away
capacity of 17 gallons (64.4 liters) per
minute. Top of standpipe must be at
least 39 inches (990 mm) high and no
higher than 72 inches (1,83 m) from
bottom of washer.
Level floor: Maximum slope
under washer — 1 inch (25 mm).
Front access to the pump area is
available by removing 2 clips under
the console area and removing the
top and cabinet assembly. IMPORTANT: Floor must be sturdy
enough to support loaded
washer weight of 315 pounds
(143 kg).
A floor drain should be
provided under the bulkhead.
Prefabricated bulkheads with
electrical outlets, water supply
lines and drain facilities should
be used only where local
codes permit.
IMPORTANT: Observe all governing
codes and ordinances.
PAGE 2
Before you start...
We have provided many important
safety message in this manual and
on your appliance. Always read
and obey all safety messages.
WARNING
This is the safety alert symbol.
This symbol alerts you to
potential hazards that can kill or
hurt you and others.
All safety messages will be preceded
by the safety alert symbol and the
word “DANGER” or “WARNING”.
These words mean:
All safety messages will tell you
what the potential hazard is, tell you
how to reduce the chance of injury,
and tell you what can happen if the
instructions are not followed.
You can be killed or seriously
injured if you don’t immediately
follow instructions.
You can be killed or seriously
injured if you don’t follow
instructions.
DANGER
Your safety and the safety of others are very important.
Check location where washer will be
installed. Proper installation is your
responsibility. Make sure you have
everything necessary for correct
installation.
Do Not store or operate washer below
32°F (0°C) (some water may remain in
washer).
Hot and cold water faucets: Must be
within 4 feet (1.2 m) of the back of
the washer and provide water
pressure 10 -100 PSI (69-690 kPa). A
pressure reduction valve should be
used in the supply line where inlet
pressure entering the building
exceeds 100 PSI (690 kPa) to avoid
damage to the washer mixing valve.
Grounded
electrical outlet
is required. See
Electrical
requirements.
Single washer
installations require
12-inch (300 mm)
minimum risers to
provide an air
cushion and
avoid noise and
damage to valves.
Untape and
open washer
lid. Remove
packages and
hoses from
washer.
Water heater: Set to
deliver 120°F (48.9°C)
water to the washer.
Standpipe drain system: Needs a two-
inch (50 mm) minimum carry-away
capacity of 17 gallons (64.4 liters) per
minute. Top of standpipe must be at
least 39 inches (990 mm) high and no
higher than 72 inches (1,83 m) from
bottom of washer.
Level floor: Maximum slope
under washer — 1 inch (25 mm).
Front access to the pump area is
available by removing 2 clips under
the console area and removing the
top and cabinet assembly. IMPORTANT: Floor must be sturdy
enough to support loaded
washer weight of 315 pounds
(143 kg).
A floor drain should be
provided under the bulkhead.
Prefabricated bulkheads with
electrical outlets, water supply
lines and drain facilities should
be used only where local
codes permit.
IMPORTANT: Observe all governing
codes and ordinances.
PAGE 2
Before you start...
We have provided many important
safety message in this manual and
on your appliance. Always read
and obey all safety messages.
WARNING
This is the safety alert symbol.
This symbol alerts you to
potential hazards that can kill or
hurt you and others.
All safety messages will be preceded
by the safety alert symbol and the
word “DANGER” or “WARNING”.
These words mean:
All safety messages will tell you
what the potential hazard is, tell you
how to reduce the chance of injury,
and tell you what can happen if the
instructions are not followed.
You can be killed or seriously
injured if you don’t immediately
follow instructions.
You can be killed or seriously
injured if you don’t follow
instructions.
DANGER
Your safety and the safety of others are very important.
Check list for washer
operation
Check the following if the washer is
not operating properly:
1. Power supply cord is plugged in.
2. Circuit breaker is not tripped or fuse
blown.
3. Timer has been advanced to start
of a cycle.
4. Water faucets are turned on.
5. Inlet and drain hoses are not
kinked.
6. Washer lid is closed.
7. Inlet valve is frozen if not sheltered
from the weather.
8. Suds level. Excess suds will slow the
spin and cause poor rinsing.
Operate the washer through a
complete cycle with no detergent.
Use less detergent or a controlled
suds type detergent in future loads.
PAGE 6
Additional features
Disconnect power before making
electrical connections.
Failure to do so can result in death
or electrical shock.
Electrical Shock Hazard
WARNING
For WARM RINSE:
• Remove screws from each end of
the console bottom.
• Pull the console bottom forward;
lift and tilt back.
• Connect J1 to J2
To SAVE WATER:
• Locate water level switch on
back of washer. (See Back Page.)
• Turn shaft 45° counterclockwise.
If you need
assistance…
The Whirlpool Laundry Trade Partner
Support Center will answer any questions
about operating or maintaining your
washer not covered in the Installation
Instructions. The Whirlpool Laundry Trade
Partner Support Center is available by
dialing 1-800-NO BELTS (1-800-662-3587) —
the call is free.
When you call, you will need the
washer model number and serial
number. Both numbers can be found
on the serial-rating plate located on
your appliance.
IMPORTANT SAFETY INSTRUCTIONS
WARNING: To reduce the risk of fire, electric shock, or injury to persons
when using your washer, follow basic precautions, including the following:
SAVE THESE INSTRUCTIONS
• Read all instructions before using
the washer.
• Do not wash articles that have
been previously cleaned in,
washed in, soaked in, or spotted
with gasoline, dry-cleaning
solvents, other flammable or
explosive substances as they give
off vapors that could ignite or
explode.
• Do not add gasoline, dry-cleaning
solvents, or other flammable or
explosive substances to the wash
water. These substances give off
vapors that could ignite or
explode.
• Under certain conditions,
hydrogen gas may be produced in
a hot water system that has not
been used for 2 weeks or more.
HYDROGEN GAS IS EXPLOSIVE. If
the hot water system has not been
used for such a period, before
using a washing machine, turn on
all hot water faucets and let the
water flow from each for several
minutes. This will release any
accumulated hydrogen gas. As
the gas is flammable, do not
smoke or use an open flame
during this time.
• Do not allow children to play on or
in the washer. Close supervision of
children is neceassary when the
washer is used near children.
• Before the washer is removed from
service or discarded, remove the
lid.
• Do not reach into the washer if the
tub or agitator is moving.
• Do not install or store this washer
where it will be exposed to the
weather.
• Do not tamper with controls.
• Do not repair or replace any part
of the washer or attempt any
servicing unless specifically
recommended in the Owner's
Manual or in published user-repair
instructions that you understand
and have the skills to carry out.
• See Page 3 of this booklet for
recommended grounding
instructions.