
3947932
OPERATION
The V-9932 Noise Sensing Volume Control
continuously monitors the surrounding area noise by
utilizing a built-in microphone. When a page is
made, the V-9932 electronically locks onto the last
area noise sample. A -23dBm signal or higher is
required on the input before the V-9932 will activate
and lock. Once activated, the amplifier is
automatically set to the proper gain level for the
amount of background noise. The amplifier will
remain locked at that gain level for the duration of the
page. After the page is made there is a 5 second
delay before the V-9932 starts monitoring the area
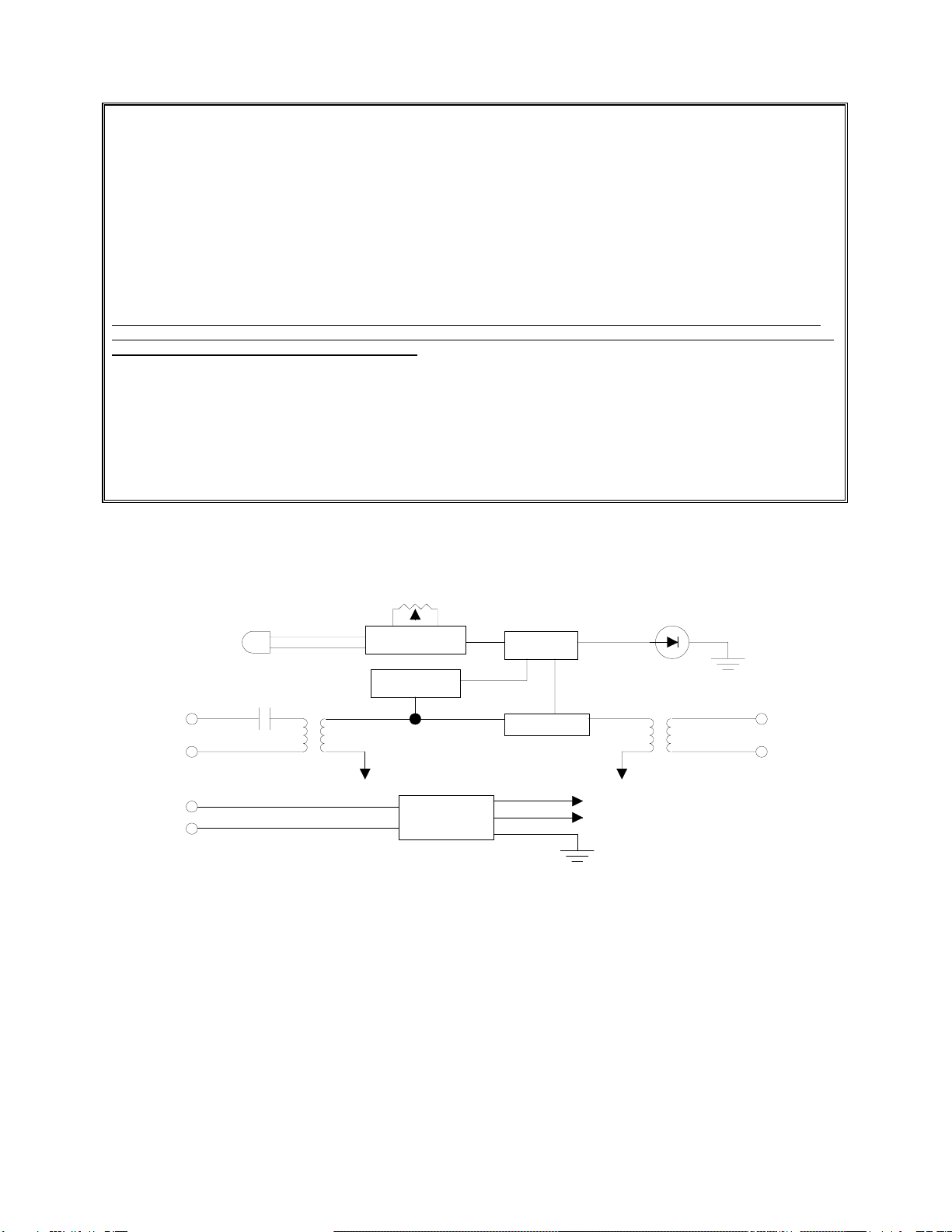
noise levels. Refer to Figure 3 for a simplified
schematic of the V-9932.
TECHNICAL ASSISTANCE
When trouble is reported, verify that power is being
supplied to the unit and there are no broken
connections. Check voltages for proper polarity on
terminals.
Table 1 identifies symptoms of some possible
problems with solutions. If a spare unit is available,
continue to troubleshoot by substituting the spare unit
for the suspected defective unit.
Assistance in troubleshooting is available from the
factory. When calling, you should have a VOM and a
telephone test set available and be calling from the
job site. Call (540) 427-3900 and ask for Technical
Support, or call (540) 427-6000 for Valcom 24-hour
Automated Support or visit our website at
http://www.valcom.com.
The V-9932 is not field repairable. Valcom
equipment contains no user serviceable parts
inside. Valcom, Inc. maintains service facilities in
Roanoke, VA. Should repairs be necessary, attach a
tag to the unit clearly stating your company name,
address, phone number, contact person, and the
nature of the problem. Send the unit to:
Valcom, Inc.
Repair and Return Dept.
5614 Hollins Road
Roanoke, VA 24019-5056
TABLE 1 - TROUBLESHOOTING CHART
SYMPTOM POSSIBLE SOLUTION
No page 1) Check -24VDC and Ground to unit and to one-way speakers.
2) Check * for audio at tip and ring input to V-9932.
3) Check * for audio at tip and ring output from V-9932.
Volume incorrect with no background noise 1) With no background noise, access page and adjust volume at page
control unit or at one-way amplified speakers.
Can't hear with full background noise 1) Turn microphone gain control clockwise in small increments. Wait 20
seconds before accessing page to test.
Too loud with full background noise 1) Turn microphone gain control counter clockwise in small increments.
Wait 10 seconds before accessing page and testing.
Loud squeal when paging 1) Relocate phone or speaker.
2) Install noise canceling transmitter on phone.
3) Readjust page level.
*Use lineman's test set to check for audio.
DoNot Adjust
Microphone Gain
DoNot Adjust
V-9932
T R -24V GND T R
LED
Input
(from page
control)
Output (To one-
way amplified
speakers)
Fi
ure 2