
2
General informations
CONTENTS
1 GENERAL INFORMATION........................................................................................................................................................................... 3
1.1 Symbols used in this manual .............................................................................................................................................................. 3
1.2 Correct use of the appliance ................................................................................................................................................................ 3
1.3 Water treatment ..................................................................................................................................................................................... 3
1.4 Information to be handed over to the user .......................................................................................................................................... 3
1.5 Safety warnings ..................................................................................................................................................................................... 4
1.6 Data badge ............................................................................................................................................................................................ 4
1.7 General warnings .................................................................................................................................................................................. 4
2TECHNICAL FEATURES AND DIMENSIONS ..........................................................................................................................................5
2.1Technical features ................................................................................................................................................................................. 5
2.2 Dimensions and hydraulic connection ..................................................................................................................................................6
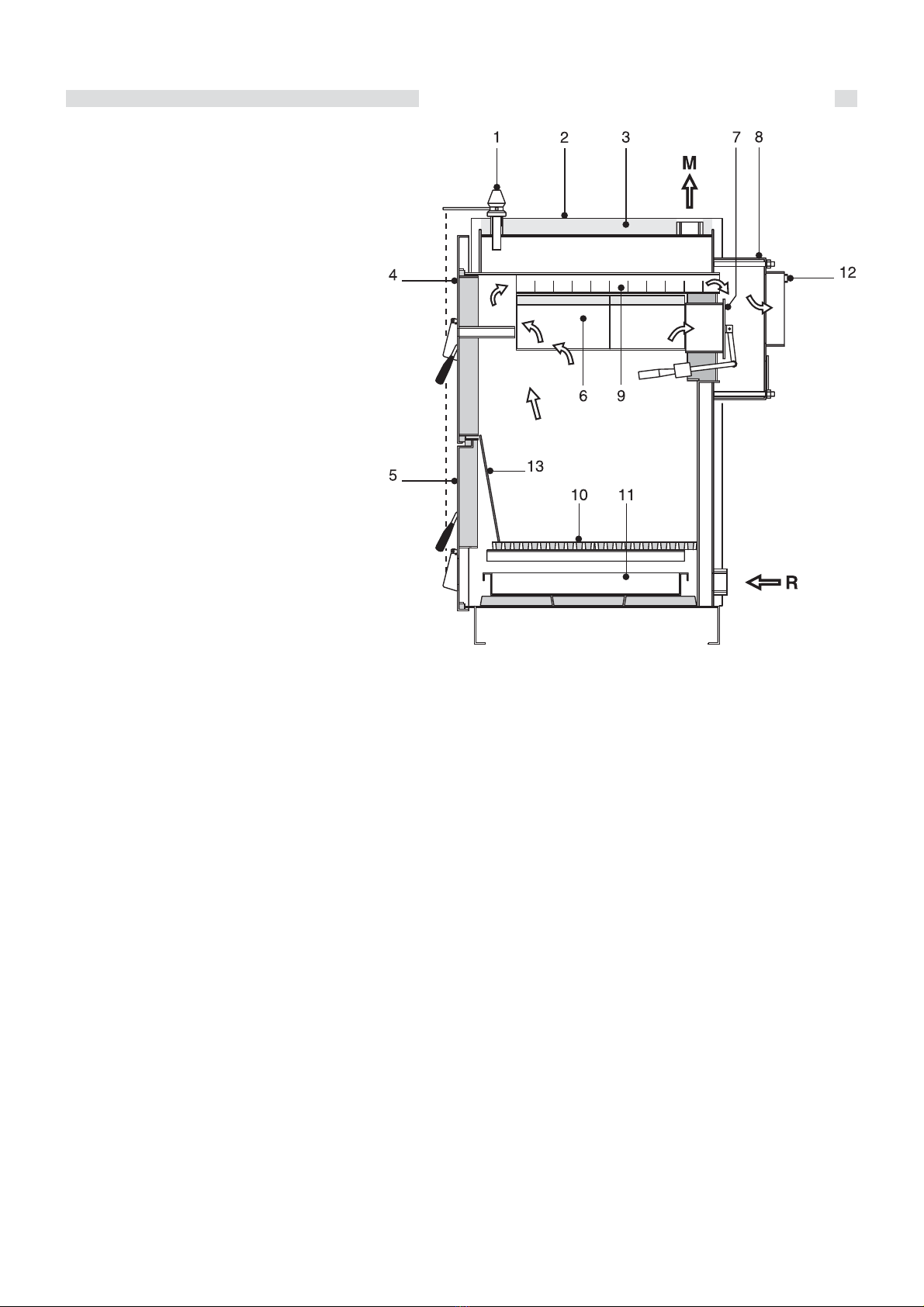
2.3 Main components .................................................................................................................................................................................. 7
2.4 General features ................................................................................................................................................................................ ...7
3 INSTRUCTIONS FORTHE INSTALLER ................................................................................................................................................ 9
3.1 General warnings ................................................................................................................................................................................ ..9
3.2 Standard codes for installation .......................................................................................................................................................... ..9
3.3 Packaging ............................................................................................................................................................................................ 10
3.4Transport ................................................................................................................................................................................................10
3.5 Assembly .............................................................................................................................................................................................. ..11
3.6 Connection of the boiler to the C.H. system...................................................................................................................................... .11
3.7 Connection of the safety heat exchanger to the sewage................................................................................................................. 12
3.8 Recirculation pump ............................................................................................................................................................................ 12
3.9 Assembly instructions ......................................................................................................................................................................... 13
3.10 Electrical and hydraulic connection diagrams..................................................................................................................................15
3.11 Connection to the chimney.................................................................................................................................................................19
3.12 Filling the system............................................................................................................................................................................... 20
4 ELECTRICAL CONNECTIONS…................……………………………………………………………………………………………….21
5 BOILER STARTING .................................................................................................................................................................................. 22
5.1 First lighting ......................................................................................................................................................................................... 22
5.2 The wood ............................................................................................................................................................................................. .23
5.3The humidity of the wood .................................................................................................................................................................... 23
5.4 Wood logs dimensions ........................................................................................................................................................................23
5.5 Checks at first lighting ......................................................................................................................................................................... 23
5.6 Starting.................................................................................................................................................................................................. 24
5.7 Combustion air adjustment .............................................................................................................................................................. 24
5.8 Checks to be carried out after the first starting ............................................................................................................................... 25
5.9 Warnings ............................................................................................................................................................................................. 25
5.10 Summer operation ……..................................................................................................................................................................... 25
5.11Burner adjustment on the eventual auxiliary boiler........................................................................................................................25
5.12 Problem solving…... ...........................................................................................................................................................................26
6 INSPECTION AND MAINTENANCE…………………………………………...…………………………………………………………26