Démarrage du moteur (fig. A)
_ Assurez-vous que l’interrupteur d’arrêt (4)
est en position levée.
_ Poussez le volet de départ (6) à fond.
_ Enfoncez l’accélérateur (1) à mi-course.
_ Appuyez ensuite sur le démarreur (3).
Le bouton de déblocage (2) verrouille l’accélérateur.
_ Desserrez la poignée (7).
_ Tirez doucement sur le cordon de démarrage (5)
jusqu’à sentir une résistance.
_ Tirez fortement sur le cordon de démarrage.
Répétez l’opération jusqu’à ce que le moteur
démarre.
_ Si le moteur fonctionne régulièrement, poussez à
nouveau doucement le volet de départ.
Régulation de la vitesse (fig. A)
_ Appuyez sur le bouton de déblocage (2)
sans le relâcher.
_ Appuyez sur l’accélérateur (1) pour augmenter la
vitesse. Plus vous appuyez sur l’accélérateur, plus
vous augmentez la vitesse de la machine.
Mise en arrêt (fig. A)
_ Faites glisser l’interrupteur d’arrêt (4) en position
abaissée.
NETTOYAGE ET ENTRETIEN
La machine n’exige pas d’entretien particulier.
_ Nettoyez régulièrement les orifices d’aération.
Nettoyage de la machine (fig. A)
La machine doit être nettoyée après chaque
utilisation.
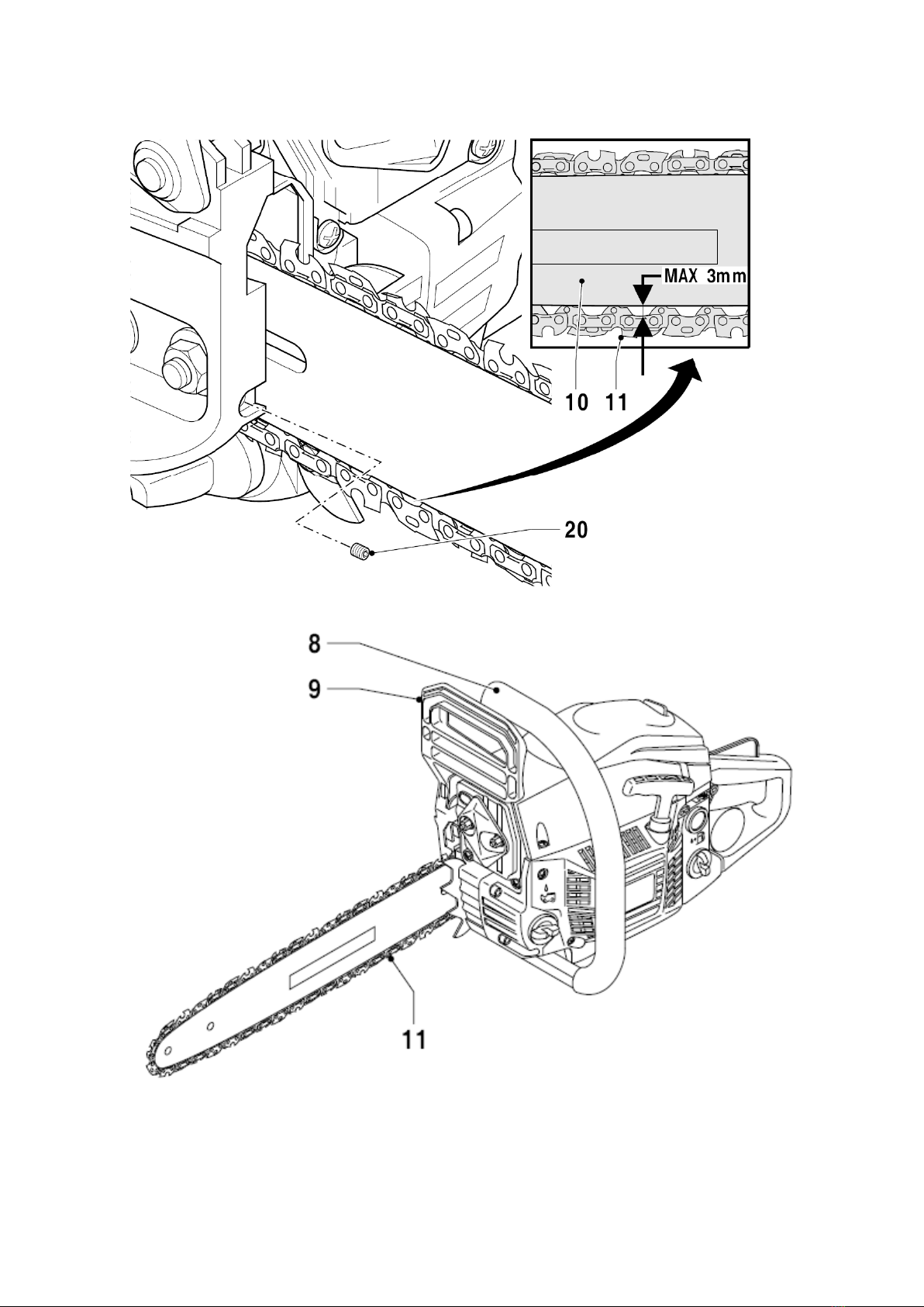
_ Retirez le guide de chaîne (10) de la machine.
_ Retirez la chaîne (11) du guide de chaîne.
_ Nettoyez la machine avec un chiffon doux.
_ Nettoyez le guide de chaîne avec un chiffon doux.
_ Nettoyez la chaîne avec une brosse douce.
_ Appliquez une fine couche d’huile sur le guide de
chaîne pour éviter l’oxydation.
_ Placez la housse de protection sur le guide de
chaîne.
Contrôle du niveau d’huile (fig. F)
Le niveau d’huile doit être contrôlé avant chaque
utilisation et toutes les 10 minutes en cours de
fonctionnement.
_ Posez la machine sur le côté, sur une surface
stable.
_ Retirez le bouchon (12) de l’orifice de remplissage.
_ Utilisez une jauge propre pour déterminer le
niveau.
_ Si le niveau est inférieur à 2/3 de la jauge,
remplissez d’huile.
_ Replacez le bouchon.
Contrôle du niveau de carburant (fig. F)
Le niveau de carburant doit être vérifié avant
chaque utilisation.
_ Posez la machine sur le côté, sur une surface
stable.
_ Retirez le bouchon (13) de l’orifice de
remplissage.
_ Utilisez une jauge propre pour déterminer
le niveau.
_ Si le niveau est inférieur à 2/3 de la jauge,
remplissez de carburant.
_ Replacez le bouchon.
Nettoyage du filtre à air (fig. G)
Il convient de nettoyer le filtre à air toutes
les 50 heures de fonctionnement.
_ Desserrez le bouton (21) et retirez le
couvercle (22).
_ Enlevez le filtre (23).
_ Nettoyez le filtre avec de l’alcool ou de
l’éthanol.
_ Essuyez le filtre avec un chiffon doux.
_ Replacez le filtre.
_ Remettez le couvercle et serrez le bouton.
Vérification de la bougie (fig. G & H)
_ Desserrez le bouton (21) et retirez le couvercle
(22).
_ Enlevez le filtre (23).
_ Retirez le câble de bougie (24) de
la bougie (25).
_ Retirez la bougie à l’aide de la clé à bougies.
_ Nettoyez l’électrode (26) à l’aide d’une
brosse métallique.
_ Vérifiez la distance de contact
(valeur correcte : 0,7 - 0,8 mm) et réglez
en tant que besoin.
_ Remettez la bougie.
Affûtage de la chaîne
Faites affûter la chaîne de préférence par un
technicien expérimenté.
_ Amenez la machine chez le revendeur
pour faire affûter la chaîne.
SPÉCIFICATIONS TECHNIQUES
TRT3841CW
Puissance W 1.400
CC 37.2
Hp 1.9
Vitesse à vide min-1 3.000
Longueur de guide de chaîne mm 400
Délai de freinage de la chaîne ms 83.1
Capacité du réservoir d’huile ml 210
Capacité du réservoir de carburant ml 310
Consommation de carburant l/h 0.9
Huile SAE 10W-30
Carburant essence sans plomb
avec huile 2 temps (25:1)
Poids kg 6.5
Niveau de la pression sonore mesuré sur le
lieu de travail :
LpA (pression sonore) dB(A) 94
LWA (puissance sonore) dB(A) 114
Valeur quadratique moyenne pondérée de
l’accélération : 8.33 m/s²