
7796 Rev. B 9 rev. 01/23/17
MONTAJE
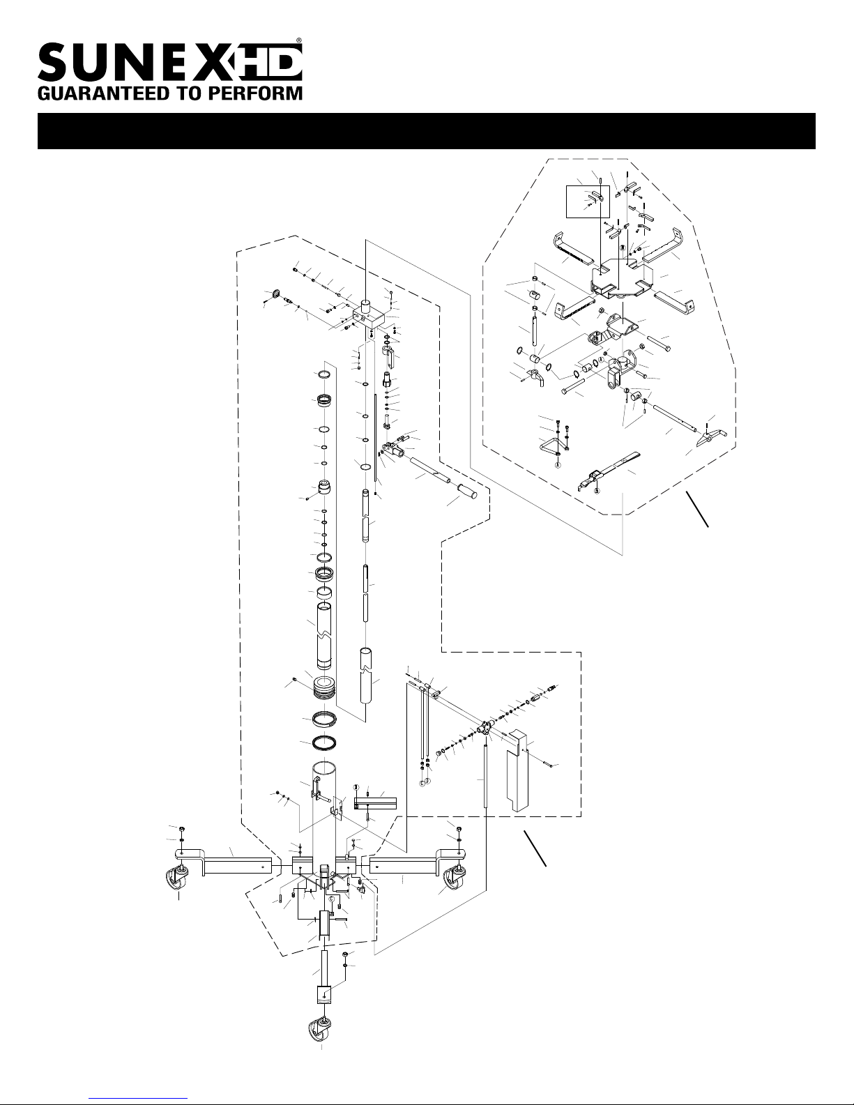
CONSULTE POR FAVOR EL DIBUJO DE VISTA EN DETALLE EN ESTE MANUAL PARA IDENTIFICAR LAS PARTES.
1. Coloque la unidad de potencia hidráulica en una posición vertical. Sujete las patas (índice #2-4) a la unidad de potencia (índice #1-1) con los
pernos (índice #2-5), arandelas (índice #1-26) y tuercas (índice #1-29). No los apriete.
2. Sujete las rodajas giratorias (índice #2-1 y #2-7) a los soportes de las ruedecillas, según se ilustra en la ilustración de vista magnificada en la
página 5.
3. Apriete la ferretería la que sujeta las patas (índice #2-4) a la unidad de potencia (índice #1-1).
4. Coloque el conjunto del ensamble de la silla (índice #3-31) sobre el espárrago saliente de la parte superior de la unidad de potencia.
(RS7796BHU). Alinee el agujero en la silla con el agujero en el espárrago y sujételo con el perno (índice #3-26) y la tuerca (#3-27).
5. A veces se atrapa aire en el sistema hidráulico de etapa secundaria durante el transporte y/maniobra. La comprobación de algún sistema
con aire atrapado es que se siente esponjoso durante la operación de la bomba o el eje no se elevará hasta la máxima extensión, o el pistón
no se elevará de forma proporcional con un recorrido incremental completo de la bomba.
PURGANDO AIRE DEL SISTEMA HIDRÁULICO DE ETAPA SECUNDARIA:
a. Gire la perilla de la válvula de liberación en el sentido de las agujas del reloj hasta que se pare. Ahora gire la
perilla en el contrasentido de las agujas del reloj dos rotaciones completas.
b. Incline toda la toma de entrada de dos ruedas con la bomba de manejar apuntando hacia abajo como se
muestra en la silueta que acompaña. Al mismo tiempo, operar manejar la bomba hasta que la sensación de
libertad de la bomba está se reunió con cierta resistencia.
c. Gire la perilla de la válvula de liberación en el sentido de las agujas del reloj hasta que se pare y, a la vez, siga
bombeando el mango, al mismo tiempo que se eleve el gato hasta su posición vertical.
d. Bombee el gato hasta la máxima extensión. Repita los pasos "a" al "d" hasta que se hay purgado todo el aire
del sistema.
6. La etapa principal de la unidad de potencia está activada por aire. La porción activada por aire también le
brindará al usuario muchos años de operación libre averías, si se realice el mantenimiento adecuado del sistema de aire del taller. El sistema
de aire del taller debe contar con un regulador de aire ajustado hasta la presión adecuada. El sistema debe de estar libre de suciedad y
humedad. No deje que las líneas de aire desconectadas caigan en el piso sucio del taller o en ningún ambiente sucio ni que luego sean
reconectadas al gato. Los contaminantes en el sistema de aire pueden ocasionar la mal función de la válvula de aire y que se marque el
cilindro de aire. Contaminantes en el sistema de aire puede ocasionar el malfuncionamiento de la válvula de aire y que marque el cilindro de
aire. Si se hayan contaminantes y/o agua en el cilindro de aire, se anulará la garantía.
INSTRUCCIONES DE USO
Este símbolo indica una alerta de seguridad y se utiliza en la parte de este manual que versa sobre las INSTRUCCIONES DE USO,
con el fin de advertir sobre los peligros de accidentes personales. Observe todas las instrucciones para evitar lesiones o peligros de
muerte.
FORMA DE USO:
1. Levante el vehículo hasta la altura deseada y soporte el vehículo de acuerdo con el procedimiento de soporte y todas las instrucciones y
advertencias recomendadas por parte del fabricante.
2. Use una base de montacargas con una capacidad nominal superior a la del peso del motor, con el fin de soportar el motor antes de quitar el
perno que separa la transmisión del motor o antes de atornillar la transmisión al motor.
3. Coloque el gato de transmisión directamente bajo la transmisión. Presione el pedal de pie marcado con "UP" para levantar el gato hasta la altura
máxima de la etapa principal. Bombee el mango en la segunda etapa hidráulica con el fin de levantar la silla hasta una altura muy cercana al
punto central de equilibrio del recogedor de aceite de la transmisión pero no deje que tenga contacto con la transmisión.
4. Ajuste los brazos del trinquete en la silla con el fin de que la sección doblada de los brazos quepa en la pestaña de montaje alrededor del
perímetro del cárter de aceite de la transmisión. Bombee la bomba lentamente y suavemente para que se haga una conexión y luego asegure la
transmisión a la silla del gato con la correa de restricción provista. A veces es necesario girar las peril las de inclinación lateral y hacia adelante y
atrás para lograr la alienación adecuada con el cárter de aceite antes de asegurar la carga a la silla.
5. Asegúrese que la correa de restricción esté muy apretada al momento de asegurar la transmisión a la silla y antes de levantar o bajar la
transmisión.
6. Quite la transmisión del motor según las instrucciones en el manual de servicio del vehículo.
7. Una vez que se haya desconectada la transmisión del motor, gire muy lentamente la perilla de la válvula de liberación en el bloque hidráulico
de etapa secundaria en el contrasentido de las agujas del reloj. Asegúrese que la silla del gato y la transmisión no queden colgados en ninguno
de los componentes de debajo del vehículo, alambrado, líneas de combustible, etc. IMPORTANTE: Siga bajando la carga hasta que la segunda
etapa llegue al fondo y luego presione el pedal de “UP” de la primera etapa por un segundo con el fin de aumentar la presión de aire antes de
presionar el pedal de “DOWN” para bajar la transmisón hasta su posición más baja.
8. Al momento de instalar la transmisión, siga las instrucciones anteriores pero en el orden aplicable y según el procedimiento de instalación de
fabricante del vehículo.
MANTENIMIENTO DE SEGURIDAD
Este símbolo indica una alerta de seguridad y se utiliza en la parte de este manual que versa sobre el MANTENIMIENTO DE SEGURIDAD,
con el fin de advertir sobre los peligros de accidentes personales. Observe todas las instrucciones para evitar lesiones o peligros de muerte.
IMPORTANTE: Cualquier gato que se encuentre ser defectuoso como resultado de partes desgastadas debido a una falta de lubricación
o un sistema hidráulico/neumático contaminado con agua, corrosión, y/o partículas extrañas provenientes del suministro de aire u otra
fuente externa no es elegible para consideraciones de garantía.
MANUAL DE OPERATIÓN
7796 (Rev. B)
1/2 TON GATO AIRE Y
HYDRÁULICO PARA TRANSMISIÓN