3
XC-E series
MAIN SPECIFICATIONS
Image pickup device
XC-ES50/50CE, XC-EI50/50CE:
1/2-inch interline transfer CCD
XC-ES30/30CE, XC-EI30/30CE:
1/3-inch interline transfer CCD
Number of effective pixels
XC-ES50/EI50, XC-ES30/EI30:
768 (H)x494 (V)
XC-ES50CE/EI50CE, XC-ES30CE/EI30CE:
752 (H)x582 (V)
CCD horizontal driving frequency
XC-ES50/EI50, XC-ES30/EI30:
14.318 MHz
XC-ES50CE/EI50CE, XC-ES30CE/EI30CE:
14.187 MHz
CCD vertical driving frequency
XC-ES50/EI50, XC-ES30/EI30:
15.734 kHz
XC-ES50CE/EI50CE, XC-ES30CE/EI30CE:
15.625 kHz
Signal system EIA/CCIR
Cell size
XC-ES50/EI50: 8.4 (H)x9.8 (V) µm
XC-ES50CE/EI50CE: 8.6 (H)x8.3 (V) µm
XC-ES30/EI30: 6.35 (H)x7.4 (V) µm
XC-ES30CE/EI30CE: 6.5 (H)x6.25 (V) µm
Lens mount C-mount
Flange back 17.526 mm
Synchronization system
Internal/external
(Selected automatically)
External sync input/output
HD/VD (2 to 5 Vp-p)
*
Automatically selected according
to the existence of an input signal
when the selection switch on the rear
panel is set to EXT.
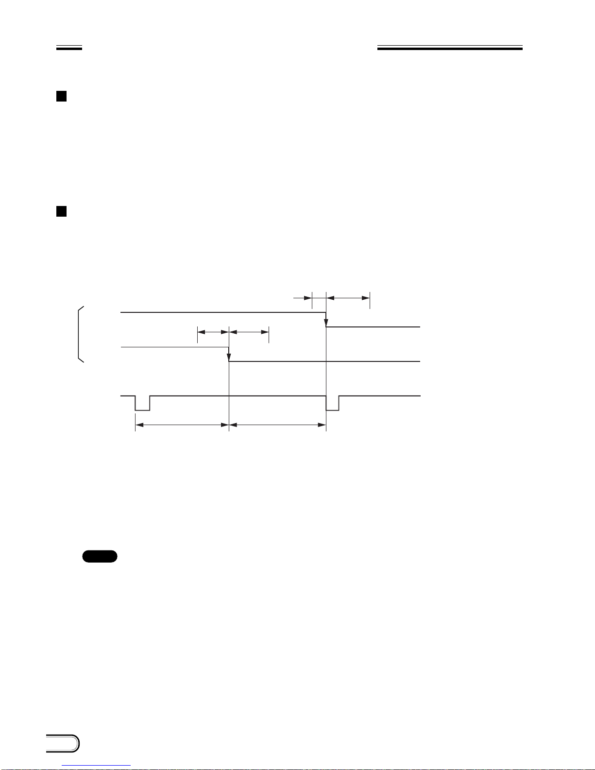
Allowable frequency deviation of external synchronization
±1 %
(in horizontal synchronous frequency)
Jitter Within ±50 nsec
Scanning system 2:1 interlacing
Non-interlacing
(during external sync input)
Horizontal resolution
XC-ES50/EI50, XC-ES30/EI30: 570 TV lines
XC-ES50CE/EI50CE, XC-ES30CE/EI30CE:
560 TV lines
Sensitivity
XC-ES50/50CE: 400 lx F5,6 (γ=ON, MIN Gain,
without IR cut filter)
XC-ES30/30CE: 400 lx F4 (γ=ON, MIN Gain,
without IR cut filter)
XC-EI50/50CE: 400 lx F11 (γ=OFF, MIN Gain,
without IR cut filter)
XC-EI30/30CE: 400 lx F8 (γ=ON, MIN Gain,
without IR cut filter)
S/N ratio 60dB
Minimum illuminance
XC-ES50/50CE, XC-ES30/30CE:
0.3 lx (F1.4 γ=ON, MAX Gain,
without IR cut filter)
XC-EI50/50CE: 0.1 lx (F1.4 γ=ON, MAX Gain,
without IR cut filter)
XC-EI30/30CE: 0.2 lx (F1.4 (γ=ON, MAX Gain,
without IR cut filter)
Gain AGC/Manual(Canbeselectedusing
the switch on the rear panel.)
Gamma correction ON/OFF (Can be selected
using the switch on the rear
panel.)
Electronic shutter
XC-ES50/EI50, XC-ES30/EI30:
1/100 to 1/10,000 seconds
XC-ES50CE/EI50CE, XC-ES30CE/EI30CE:
1/120 to 1/10,000 seconds
External trigger shutter
XC-ES50/EI50, XC-ES30/EI30:
1/4 to 1/10,000 seconds
XC-ES50CE/EI50CE, XC-ES30CE/EI30CE:
1/4 to 1/8,000 seconds
*Set using the DIP switch on the rear panel, or
variable with the trigger pulse width.
Supply voltage +12 VDC (+9.0V to 16V)
Power consumption
XC-ES30/30CE, XC-EI30/30CE: 1.4W
XC-ES50/50CE, XC-EI50/50CE: 1.6W
Operating temperature
–5 ˚C to +45 ˚C
Storage temperature –20 ˚C to +60 ˚C
Performance assurance temperature
0 ˚C to +30 ˚C
Operating humidity 20 to 80 % (Non-condensing)
Storage humidity 20 to 95 % (Non-condensing)
Vibration resistance
10G (For 20 minutes in the X, Y,
and Z directions at 20 to 200 Hz)