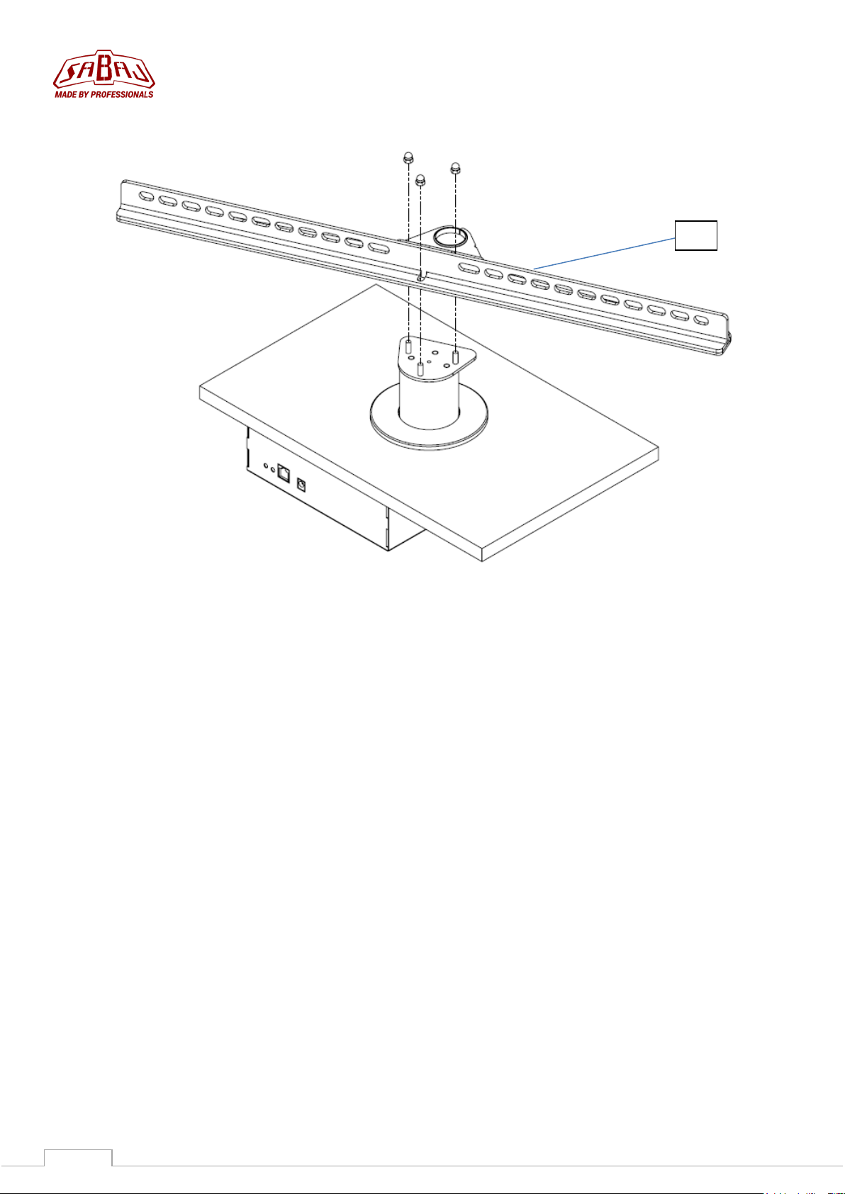
Sabaj In-Stand Instructions d'utilisation
Autres manuels Sabaj Support et étagère

Sabaj
Sabaj IR Manuel utilisateur

Sabaj
Sabaj NM M Manuel utilisateur

Sabaj
Sabaj M Series Manuel utilisateur

Sabaj
Sabaj K-1 Premium IR Instructions d'utilisation

Sabaj
Sabaj In-Stand 340 Instructions d'utilisation

Sabaj
Sabaj F-Stand Manuel utilisateur

Sabaj
Sabaj MobiLift 500 PREMIUM Manuel utilisateur

Sabaj
Sabaj K-1 Eco IR Instructions d'utilisation
Manuels Support et étagère populaires d'autres marques

Salamander
Salamander Acadia AC/W/L400/WH Manuel utilisateur

Fohhn
Fohhn VAT-09 Guide de l'utilisateur

ricoo
ricoo FS0522 Manuel utilisateur

AMSOIL
AMSOIL BMK-22 Guide rapide

Kargo Master
Kargo Master 48220 Manuel utilisateur

Milestone AV Technologies
Milestone AV Technologies SIMPLICITY SLF2 Manuel utilisateur





















