Renova USX500-01 Document technique

Sensore di diametro ad ultrasuoni
Ultrasonic diameter sensor
Manuale di montaggio e istruzioni d’uso
Assembly manual and operating instructions
ITA | ENG

english - index
introduction …………………………………………………………….…….….. page 13
warnings …….…………………………………………………….…….…….…….. page 13
assistance .……………..………………………………..………....……………… page 13
description …………….…………………………………..………………………. page 14
model with IO-Link ….…………………………………………………………. page 15
alignment aid ………………….………………………..……………………….. page 15
assembly procedures ……………..…………………………………...……. page 16
wiring diagram …………………….……………………………………...……. page 17
Teach-In instruction for use ….……………………………………………. page 18
index of manual revision …………………………….…..…………………. page 20

13
introduction
The following manual is intended for installers and users of the product and provides descriptions
and explanations on the diameter sensor (installation and instruction for use)
Inside the manual you will find:
- Assembly instructions: how to mount and where it is better to do it
- Instruction on how to use them
Since the product and Renova itself are constantly changing in order to improve the quality and
performance of our products, Renova reserves the right to update the manuals without obligation
to update the products already marketed and / or any previous manuals.
warning
READ THE INSTRUCTIONS AND WARNINGS PRESENT IN THIS MANUAL CAREFULLY AND KEEP
THEM FOR FURTHER REFERENCES FOR THE DURATION OF THE PRODUCT. IN THIS MANUAL
THERE ARE IMPORTANT INSTRUCTIONS CONCERNING OPERATIONS AND SAFETY FOR
INSTALLATION, USE AND MAINTENANCE OF THE PRODUCT
WE STRONGLY RECOMMEND THAT THE DEVICE IS ASSEMBLED AND CHECKED BY A QUALIFIED
TECHNICAL STAFF IN ORDER TO AVOID ANY RISK OF DAMAGE TO PERSONS OR THE PRODUCT
ITSELF.
IN THE EVENT OF ANY PRODUCT BREAK, THE OPERATOR SHOULD KNOW THIS MANUAL AND
THE INFORMATION INSIDE IT, KNOWING HOW TO AVOID ANY RISKS AND / OR DANGERS,
BEFORE AN INTERVENTION BY OUR SPECIALIZED TECHNICIAN.
assistance
Renova is present worldwide with its agents and distributors.
To contact the Renova support service write to:
support@renova-srl.it

14
description
The Renova USX500-01 sensor, with its robustness and reading accuracy, is the best alternative in
the field of diameter measurement.
Our product offers the customer a large number of benefits:
- Maximum reliability and longevity of the process: robust and resistant thanks to the fact
that the sensor is hermetically sealed with PEEK film
- Flexible and application-specific parameterization: Various setting options with IO-Link
- Measurement almost on the sensor surface: extremely short blind field of 20 mm with a
radius of up to 1000 mm
- Consistent operation thanks to resistance to interference: detection of transparent, shiny
and multicolored objects with maximum resistance to dirt, water drops or chemicals such
as rinsing and antifreeze agents or isopropyl alcohol
- Quick and easy commissioning: adjustment of the sensor characteristics directly on the
sensor via qTeach and centrally via IO-Link
- IO-Link standardized communication interface
- Hybrid operation: analysis of additional process data parallel to operation. Read the
process data while the analog measurement signal is being output at the same time

15
Model with IO-Link
- SSC1 / 2/4: switching of signal channels
- MDC: distance value or counter switch (selectable)
- Quality: the quality bit signals a weak echo signal
- Alarm: the alarm bit signals a problem with sensor configuration or functionality
- Scale: power factor of ten, applicable to the Measurement Data Channel (MDC) value
Available commands: learning commands, activation / deactivation of the sensor element, Find
Me (Sensor location) and more.
Available parameters: switching point, switching hysteresis, output function, time filters, beam
formation, measured value filter, analog output characteristic, pin 5 function, LED status indicators
and more.
Additional data available: Counter, start cycles, operating hours, device temperature, operating
voltage, histograms.
allignement aid
The retroreflective and barrier version is equipped with an indication of
correct alignment integrated in the Teach-In at level 1. This function
indicates the intensity of the signal received.
Sensor alignment: the faster the flashing, the stronger the signal

16
assembly procedures
The assembly of the USX500-01 sensor does not require any passage. The operator is free to
mount the sensor wherever he wants to have a reading.
ATTENTION: In order to avoid staggered readings of the diameter, we do not
recommend installing it vertically near the "exit" area of the coil material. The
oscillation of the material could cause staggered and / or incorrect readings

17
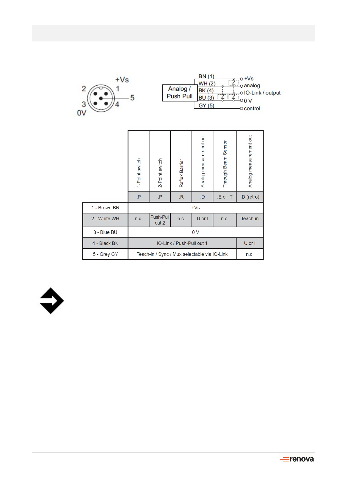
connection diagram
ATTENTION:
Disconnect the power supply before mounting the sensor. Voltage supply
according to UL 1310, Class 2
oR the device must be protected by an external R / C or by a listed fuse, max. nominal value
30 VAC / 3A or 24VDC / 4A

18
Teach-In instruction for use
description Teach-in level 1 and 2
general information:
- The qTeach function is deactivated 5min after the
sensor is turned on. The blue LED goes out.
- During the teach the output assumes a value equal to
0V.
- During standard sensor operation, the remote Teach-in
cable is at 0V
- For remote Teach-In, connect the teach cable to +VS
- Remote Teach-In is always possible (does not
deactivate after 5 min)
- If the metal tool remains for more than 12 seconds,
Teach-in does not suffer variations
How to perform the calibration:
- Place a metal tool on the teach point as shown on the right or
connect the cable teach-in to + Vs
- The blue LED illumination increases in intensity if the tool /
teach-in is recognized correctly
- Release once the seconds indicated in the drawing below have
elapsed according to the level ofdesired configuration.
TAP indicates a short touch with the tool on the teach point

19

20
Index of manual revision
note
Rev. n. Rev. Date Description of the changes made
Table des matières
Autres manuels Renova Instrument de mesure
Manuels Instrument de mesure populaires d'autres marques

Endress+Hauser
Endress+Hauser Proline Promag 50 Caractéristiques techniques

Siemens
Siemens SITRANS F Coriolis FCT030 Manuel de la liste des pièces

KLINGER
KLINGER CMF V Series Manuel utilisateur

EXFO
EXFO FTB-2 Manuel d'exploitation et d'entretien

Keysight
Keysight M8290A Manuel utilisateur

ADTEK
ADTEK MW-5 Manuel utilisateur












