Prima PRCH Manuel utilisateur

GB
Instruction Manual
PRCH


Dear Customer,
Congratulations on your choice. We are
certain that this modern, functional and
practical device made with rst rate qua-
lity materials will fully satisfy your require-
ments.
Please read all the sections in this INS-
TRUCTION MANUAL before using the
hood for the rst time in order to obtain
maximum performance from the device
and avoid faults which may arise from inco-
rrect use as well as minor problem solving.
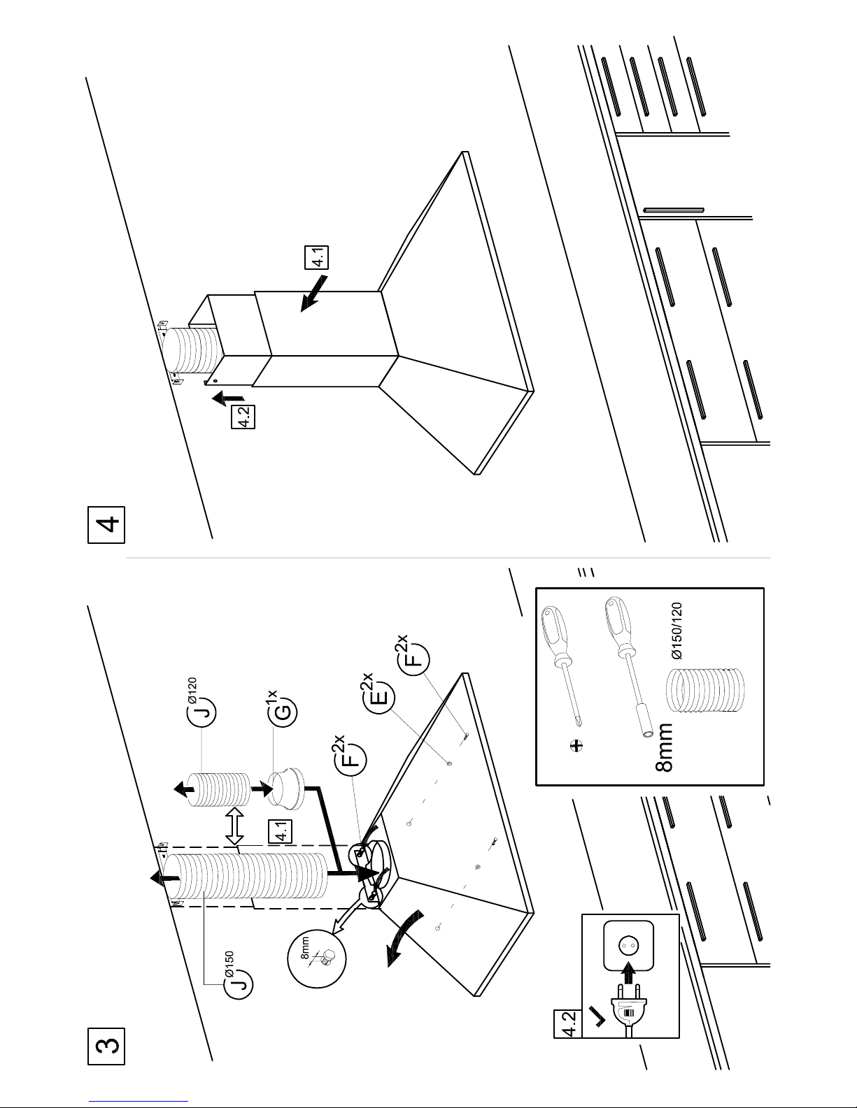
For optimal performance, the external duct
should not exceed FOUR METRES, have
more than two 90 ° angles and its diameter
should be at least Ø120.
•Disconnect the device before
performing any work on the in-
terior, e.g. during cleaning or
maintenance.
•The excessive accumulation of
grease in the hood and metal l-
ters may cause dripping and re
risks, therefore it is necessary to
wash the inside of the hood and
the metal lters at least once a
month.
•This device can be used by
children aged 8 and over and
persons with reduced physical,
sensory or mental capabilities or
lack of experience and knowled-
ge, if they have been given su-
pervision or proper training in
the safe use of the device and if
they understand the dangers in-
volved. Children should not play
with the device. Cleaning and
maintenance should be perfor-
med by the user and not by un-
supervised children.
•Check that the power voltage
and frequency match those in-
dicated on the label located on
the inside of the hood. A suitable
earth must be connected (except
for Class II devices, marked with
on the technical data plate).
•For installation, a connection
method isolated from the xed
installation should be incorpora-
ted, in accordance with installa-
tion regulations (adjusted to the
strength to be endured and with
a minimum opening between the
contacts of 3mm) under over-
voltage category III conditions,
for the emergency shutdown,
cleaning or light replacement. In
no event should the earth pass
through this switch. This switch
can be replaced with a plug if it is
accessible in normal use.
•If the power lead is damaged it
must be replaced by the manu-
facturer, its after-sales service or
by qualied personnel in order to
avoid potential danger.
•Air should not be extracted by
ducts used to expel fumes from
equipment powered by gas or
Safety Instructions
GB

other fuels.
•The room must be adequately
ventilated when the hood will be
used simultaneously with equip-
ment powered by energy other
than electricity e.g. gas cookers.
•The excessive accumulation of
grease in the hood and metal l-
ters may cause dripping and re
risks, therefore it is necessary to
wash the inside of the hood and
the metal lters at least once a
month.
•Do not produce ames under
the hood.
•The bottom of the hood must be
tted at least 65cm above gas or
combination hobs. Observe the
minimumlimitssetbyWORKTOP
MANUFACTURER’S MINIMUM
LIMITS. This distance may be
reduced if mentioned in the hood
installation instructions.
•Never leave gas burning without
a pan above it. The grease accu-
mulated in the lters may drip or
catch re when the temperature
is increased.
•Avoid cooking under the hood if
the metal lters are not tted e.g.
while they are being cleaned in
the dishwasher.
•We recommend you wear glo-
ves and use extra caution when
cleaning the inside of the hood.
•Your hood is designed for do-
mestic use and only for the ex-
traction and purication of gases
from food preparation. Use for
other purposes is at your own
risk and may be dangerous.The
manufacturer is not responsible
for damage caused by improper
use of the device.
•For repairs please contact the
manufacturer’s nearest Tech-
nical Assistance Department
which will always use genuine
parts. Repairs or modications
by unauthorized personnel may
result in damage to equipment
or malfunction, endangering
safety.
•This device complies with the
European Directive 2002/96/EC
on electrical and electronic devi-
ces entitled “Electrical and Elec-
tronic Equipment Waste “. The
directive provides the framework
applicable throughout the Euro-
pean Union for the return and
recycling of electrical and elec-
tronic equipment waste [symbol]
responsible for his/her safety.
Keep children away from the de-
vice and never let them play with
it .
GB

•To remove the filters from their fittings,
press lightly on the locks and then pull
them off.
•The metal filters can be cleaned by soaking
them in hot water with neutral detergent
until the fat dissolves and then rinsing them
under the tap or using special anti-grease
products. They can also be washed in a
dishwasher. In this case, it is advisable to
stack them vertically to avoid food residues
to stick to them.
•Cleaning in a dishwasher may damage the
metallic surface (blackening it), although
this will not affect its fat retention capacity.
•Once clean, leave them to dry off and then
fit them onto the kitchen hood.
GB
Cleaning the metal filters
Lamps
•Lamps included in this product are designed
exclusively for the illumination of the cooking
area.
•These lamps are not apt for lighting domestic
areas
Instructions for use
Light
Minimum speed
Medium speed
Maximum speed
Pilot indicator
During cleaning and maintenance work,
make sure the safety instructions are
complied with.
Cleaning and maintenance
You can activate or deactivate the cooker
hood by operating the functions shown in
the diagram.
Switch on the extractor fan a few minutes
before you start to cook in order to ensure
that a steady air flow has been established
before fumes appear.
Allow the extractor fan to run for several
minutes after you have finished cooking in
order to expel all the grease from the outlet
duct. This prevents the return of grease,
smoke and smells.
Cleaning the hood body
•If your kitchen hood is made of stainless
steel, use proprietary cleaners mentioned in
the product instructions.
•If your kitchen hood is painted, use lukewarm
water and a neutral soap.
•Never use metallic scourers, nor abrasive or
corrosive products.
•Dry the kitchen hood using a cloth that does
not produce fibres.
•Do not use vapour cleaners.

Problem solving
Proceed with the following checks before calling the Technical Service:
Active charcoal filters (Optional)
When exterior gas extraction is not possible, then the kitchen hood may be set to purify the
air by recycling it through active charcoal filters.
The active charcoal filters have an active life of between three to six months, depending on
the individual conditions of use. These filters cannot be washed nor regenerated. They must
be replaced once their useful life comes to an end.
The manufacturer reserves the right to make changes and corrections to its products
as it deems necessary, without altering their basic characteristics.
GB
Problem Possible cause Solution
The kitchen hood does
not work.
The mains cable is not
connected to the network.
There is no current in the
network.
Connect the mains cable to the
network.
Provide current to the network.
The kitchen hood does
not extract sufficiently or
vibrates.
Filters are saturated with fat.
Obstruction in the air outlet.
Change or clean the active
charcoal and/or metal filters.
Remove the obstruction.
The lamps do not light
up.
The lamps are blown
The lamps are slack.
Change the lamps.
Tighten the lamps.




Table des matières
Autres manuels Prima hotte de ventilation





















