Pittsburgh 56684 Instructions de montage

Visit our website at: http://www.harborfreight.com
Email our technical support at: [email protected]
56684 shown
56684 - 4 Ton
56734 - 8 Ton
56738 - 12 Ton
Low Profile
56739 - 12 Ton
56735 - 20 Ton
Low Profile
56736 - 20 Ton
56737 - 30 Ton
Owner’s Manual & Safety Instructions
Save This Manual Keep this manual for the safety warnings and precautions, assembly,
operating, inspection, maintenance and cleaning procedures. Write the product’s serial number in the
back of the manual near the assembly diagram (or month and year of purchase if product has no number).
Keep this manual and the receipt in a safe and dry place for future reference. 20k
When unpacking, make sure that the product is intact
and undamaged. If any parts are missing or broken,
please call 1-888-866-5797 as soon as possible.
Copyright© 2020 by Harbor Freight Tools®. All rights reserved.
No portion of this manual or any artwork contained herein may be reproduced in
any shape or form without the express written consent of Harbor Freight Tools.
Diagrams within this manual may not be drawn proportionally. Due to continuing
improvements, actual product may differ slightly from the product described herein.
To ols required for assembly and se rv ic e m ay n ot b e i nc lu de d .
Read this material before using this product.
Failure to do so can result in serious injury.
SAVE THIS MANUAL.

Page 2 For technical questions, please call 1-888-866-5797. Bottle Jacks
Specifications
ITEM Weight Capacity Max.
Height
Min.
Height
Base
Dimensions
56684 4 Tons (8,000 lb.) 14-1/4" 7-1/2" 4-3/8" x 3-3/4"
56734 8 Tons (16,000 lb.) 17-5/8" 9" 5" x 4-3/8"
56738 12 Tons (24,000 lb.) 15" 7-5/8" 5" x 5"
56739 12 Tons (24,000 lb.) 18" 9" 5-1/2" x 4-1/2"
56735 20 Tons (40,000 lb.) 16-1/2" 8-5/8" 5-3/4" x 5-1/2"
56736 20 Tons (40,000 lb.) 17-1/2" 9-3/8" 6" x 5-1/8"
56737 30 Tons (60,000 lb.) 16-1/2" 10-1/4" 7-3/8" x 6-5/8"
WARNING SYMBOLS AND DEFINITIONS
This is the safety alert symbol. It is used to alert you to
potential personal injury hazards. Obey all safety messages
that follow this symbol to avoid possible injury or death.
Indicates a hazardous situation which, if not avoided,
will result in death or serious injury.
Indicates a hazardous situation which, if not avoided,
could result in death or serious injury.
Indicates a hazardous situation which, if not avoided,
could result in minor or moderate injury.
Addresses practices not related to personal injury.
IMPORTANT SAFETY INFORMATION
Read all safety warnings and instructions.
Failure to follow the warnings and instructions may result in serious injury.
Save all warnings and instructions for future reference.
1. Study, understand, and follow all
instructions before operating this device.
2. Do not exceed rated capacity.
3. Use only on hard, level surfaces.
4. Lifting device only.
Immediately after lifting, support the
vehicle with appropriate means.
5. Do not adjust safety valve.
6. Wear ANSI-approved safety goggles and
heavy-duty work gloves during use.
7. Keep clear of load while
lifting and lowering.
8. Lower load slowly.

Page 3For technical questions, please call 1-888-866-5797.Bottle Jacks
9. Do not use for aircraft purposes.
10. Apply parking brake and chock
tires before lifting vehicle.
11. Lift vehicle only at manufacturer-
recommended locations.
12. Inspect before every use; do not
use if parts loose or damaged.
13. Keep your work area clean and well lit.
Cluttered work areas invite accidents.
14. Keep bystanders, children, and visitors
away while operating jack. Distractions
can cause you to lose control.
Protect others in the work area.
15. Stay alert. Watch what you are doing, and
use common sense when operating a jack.
Do not use a jack while tired or under the
influence of drugs, alcohol, or medication.
A moment of inattention while operating
jacks may result in serious personal injury.
16. Store idle jacks out of reach of children
and other untrained persons. Jacks are
dangerous in the hands of untrained users.
17. Jack service must be performed only by
qualified repair personnel. Service or
maintenance performed by unqualified
personnel could result in a risk of injury.
18. When servicing a jack, use only identical
replacement parts - refer to attached,
product-specific parts list and diagram.
Follow instructions in the “Inspection,
Maintenance, And Cleaning” section
of this manual. Use of unauthorized
parts or failure to follow maintenance
instructions may create a risk of injury.
19. Maintain labels and nameplates on the
Jack. These carry important information.
If unreadable or missing, contact
Harbor Freight Tools for a replacement.
20. Before use, read manufacturer’s
instruction manual for the vehicle
(or object) you will lift.
21. When lifting only one wheel, support the
load immediately with one jack stand (not
included) placed under the side of the
vehicle being lifted. Align the saddle of
the jack stand directly under the vehicle’s
seam or recommended lifting point.
22. When lifting the entire front end or
rear end of a vehicle, support the load
immediately with two jack stands.
Align the saddles of the jack stands
directly under the vehicle’s frame or
recommended lifting points. Also, adjust
the jack stands to the same height.
23. Do not work under the vehicle
without properly supporting the
vehicle with jack stands.
24. Avoid dangerous oncoming
traffic. Use the Jack as far away
from the roadside as possible.
25. Industrial applications must
follow OSHA requirements.
26. Do not allow anyone in the vehicle while
using the Jack. Keep all bystanders a
safe distance away from the vehicle.
27. Do not support both ends of the
vehicle at the same time.
28. Before lowering the Jack, remove all tools
and equipment from under the vehicle.
29. The warnings, precautions, and
instructions discussed in this manual
cannot cover all possible conditions
and situations that may occur. The
operator must understand that common
sense and caution are factors, which
cannot be built into this product, but
must be supplied by the operator.
SAVE THESE INSTRUCTIONS.

Page 4 For technical questions, please call 1-888-866-5797. Bottle Jacks
Operating Instructions
Read the ENTIRE IMPORTANT SAFETY INFORMATION section at the beginning
of this document including all text under subheadings therein before set up or
use of this product.
Bleeding
IMPORTANT! Before first use, check
for proper hydraulic oil level in the
Jack. Then thoroughly test the Jack for
proper operation prior to its actual use.
If the Jack appears not to be working
properly, it may be necessary to bleed
its hydraulic system of excess air.
1. Place the lower portion of the Handle
over the Release Valve and open it
by turning it counterclockwise.
Saddle
Fulcrum
Handle over
Release Valve
2. Insert the Handle into the Fulcrum
and pump about five times. Apply
pressure to the Saddle and pump
Handle quickly several more times
to remove trapped air in the Ram.
3. Carefully use a flat dull-sided edge to
push down the top inside rim of the Oil
Fill Plug to equalize pressure inside the
Pump, then release the Oil Fill Plug.
Note: Do not use a sharp edge
as it may damage the plug.
Oil Fill Plug
covering Oil
Fill Hole
Flat Edge
4. Remove the Oil Fill Plug and look into
the Oil Fill Hole. If necessary, top off
the Oil Fill Hole with hydraulic oil.
5. Replace the Oil Fill Plug.
6. Turn the Handle clockwise to
close the Release Valve.
7. Test the Jack several times for proper
operation before attempting to lift a load.
If, after purging, the Jack still does not
appear to be working properly, do not
use the Jack until it has been repaired
by a qualified service technician.

Page 5For technical questions, please call 1-888-866-5797.Bottle Jacks
Lifting
WARNING! TO PREVENT SERIOUS
INJURY: Set Jack on a flat, level, solid,
ground surface. If using with vehicle,
set safely away from oncoming traffic
and turn off vehicle’s engine. Also place
the vehicle’s transmission in “PARK” (if
automatic) or in its lowest gear (if manual).
Set the vehicle’s emergency brake. Then,
block the wheels that are not being lifted.
1. Place the lower portion of the Handle
over the Release Valve and turn the
Handle counterclockwise to lower the
Jack. Once the Jack is fully lowered,
turn the Handle firmly clockwise
to close the Release Valve.
2. Carefully position the Saddle of the
Jack under the vehicle manufacturer’s
recommended lifting point. If equipped,
the Elevating Screw can be used to
alter the height of the Jack’s Saddle;
it is adjusted by turning it clockwise
or counterclockwise. (See vehicle
manufacturer’s owner’s manual for
location of seam lifting point when
lifting only one wheel and frame
lifting points when lifting the entire
front or rear end of the vehicle.)
Elevating Screw
(some models)
Ram
3. Place the Handle in the Fulcrum and pump
until the top of the Jack’s Saddle has
nearly reached the vehicle lifting point.
Handle
Fulcrum
Saddle
Release Valve
Note: The Jack should be positioned at 90°
to the vehicle’s lifting point to ensure the
Jack’s Saddle and vehicle lifting point are
in alignment. If not, remove and reposition
the Jack before lifting the vehicle.
4. To lift the vehicle, pump the
Handle of the Jack. Use smooth,
full strokes for best results.
5. Once the vehicle is raised, slide a
jack stand of appropriate capacity (not
included) to the proper lifting point referred
to in the vehicle owner’s manual. If using
two jack stands, position them at the
same point on each side of the vehicle.
6. Center the vehicle’s lifting point(s) on
the saddle of the jack stand(s). Set
up the jack stand(s) according to the
manufacturer’s instructions, making sure
that they lock securely into position.
Note: If using two jack stands they
must be at the same height.
7. Place the Handle over the Release
Valve and slowly turn the Handle
counterclockwise to open the Release
Valve and lower the vehicle onto the
saddle(s) of the jack stand(s). Then,
turn the Handle firmly clockwise
to close the Release Valve.

Page 6 For technical questions, please call 1-888-866-5797. Bottle Jacks
Lowering
Handle over
Release Valve
Saddle
Fulcrum
1. Remove all tools, parts, etc.
from under the vehicle.
2. Position the Saddle under the lifting
point. Place Handle over Release
Valve and turn the Handle firmly
clockwise to close the Release Valve.
3. Move the Handle to the Fulcrum and
pump to raise the vehicle slightly above
the saddle(s) of the jack stand(s). Then,
collapse and remove jack stand(s).
4. Move the Handle back to the Release
Valve and slowly turn the Handle
counterclockwise (never more than two full
turns) to lower the vehicle onto the ground.
5. Lower the Jack completely. Then,
store in a safe, dry location out
of reach of children’s reach.

Page 7For technical questions, please call 1-888-866-5797.Bottle Jacks
Maintenance and Servicing Instructions
Procedures not specifically explained in this manual
must be performed only by a qualified technician.
TO PREVENT SERIOUS INJURY FROM ACCIDENTAL OPERATION:
Do not use damaged equipment. If abnormal noise or vibration
occurs, have the problem corrected before further use.
Cleaning, Maintenance, and Lubrication
1. Before each use, inspect the general
condition of the Jack. Check for
broken, cracked, or bent parts, loose or
missing parts, and any condition that
may affect the proper operation of the
product. If a problem occurs, have the
problem corrected before further use.
Do not use damaged equipment.
2. Before each use, thoroughly test the
Jack for proper operation prior to
its actual use. If the Jack appears
not to be working properly, follow
Bleeding instructions on page 4.
3. Before each use, check oil level:
a. Open Release Valve by turning it
counterclockwise. Lower the Jack
to its lowest position. Press down
on the Saddle if necessary.
b. With the Jack upright in a level,
vertical position and the Handle
pointing down in the Fulcrum, carefully
remove the Oil Fill Plug. The oil level
should be level with the bottom of
Oil Fill hole. Top off if necessary but
do not overfill. Always fill with clean
hydraulic jack oil (not included).
c. Reinstall Oil Fill Plug and close
Release Valve by turning it
clockwise. Check Jack operation.
Bleed air from system as needed,
see instructions on page 4.
4. Change the hydraulic oil at least
once every three years:
a. With the Jack fully lowered, remove the
Oil Fill Plug on the side of the Housing.
b. Tip the Jack to allow the old
hydraulic oil to drain out of the
Housing completely, and dispose of
the old hydraulic oil in accordance
with local regulations.
c. With the Jack upright, completely
fill the Housing with a high
quality hydraulic oil (not included)
until the oil just begins to run
out of the Oil Fill hole.
d. Then, reinstall the Oil Fill Plug
and check jack operation. Bleed
air from system as needed, see
instructions on page 4.
5. Clean with a clean cloth with a detergent
or mild solvent. Then, store the Jack in a
safe, dry location out of reach of children
and other non-authorized people.

Page 8 For technical questions, please call 1-888-866-5797. Bottle Jacks
Troubleshooting
TO PREVENT SERIOUS INJURY: Use caution when
troubleshooting a malfunctioning jack. Stay well clear of the
supported load. Completely resolve all problems before use.
If the solutions presented in the Troubleshooting guide do not solve the problem, have a qualified
technician inspect and repair the jack before use. After the jack is repaired: Test it carefully
without a load by raising it and lowering it fully, checking for proper operation, BEFORE
RETURNING THE JACK TO OPERATION.
DO NOT USE A DAMAGED OR MALFUNCTIONING JACK!
POSSIBLE SYMPTOMS PROBABLE SOLUTION
(Make certain that the jack is
not supporting a load while
attempting a solution.)
Jack will
not lift at
its weight
capacity
Saddle
lowers
under load
Pump
stroke
feels
spongy
Saddle
will not
lift all
the way
Handle
moves up
when jack
is under
load
Oil
leaking
from fill
plug
X X Check that Release Valve
is closed fully.
X X X
Valves may be blocked and may not
close fully. To flush the valves:
1. Lower the Saddle and securely
close the Release Valve.
2. Manually lift the Saddle
several inches.
3. Open the Release Valve
and force the Saddle down
as quickly as possible.
XX X
Jack may be low on oil. Check
the oil level and refill if needed.
Jack may require bleeding - see
instructions on page 4.
XUnit may have too much
hydraulic oil inside, check fluid
level and adjust if needed.
PLEASE READ THE FOLLOWING CAREFULLY
THE MANUFACTURER AND/OR DISTRIBUTOR HAS PROVIDED THE PARTS LIST AND ASSEMBLY
DIAGRAM IN THIS DOCUMENT AS A REFERENCE TOOL ONLY. NEITHER THE MANUFACTURER
OR DISTRIBUTOR MAKES ANY REPRESENTATION OR WARRANTY OF ANY KIND TO THE
BUYER THAT HE OR SHE IS QUALIFIED TO MAKE ANY REPAIRS TO THE PRODUCT, OR
THAT HE OR SHE IS QUALIFIED TO REPLACE ANY PARTS OF THE PRODUCT. IN FACT, THE
MANUFACTURER AND/OR DISTRIBUTOR EXPRESSLY STATES THAT ALL REPAIRS AND PARTS
REPLACEMENTS SHOULD BE UNDERTAKEN BY CERTIFIED AND LICENSED TECHNICIANS,
AND NOT BY THE BUYER. THE BUYER ASSUMES ALL RISK AND LIABILITY ARISING OUT OF
HIS OR HER REPAIRS TO THE ORIGINAL PRODUCT OR REPLACEMENT PARTS THERETO,
OR ARISING OUT OF HIS OR HER INSTALLATION OF REPLACEMENT PARTS THERETO.

Page 9For technical questions, please call 1-888-866-5797.Bottle Jacks
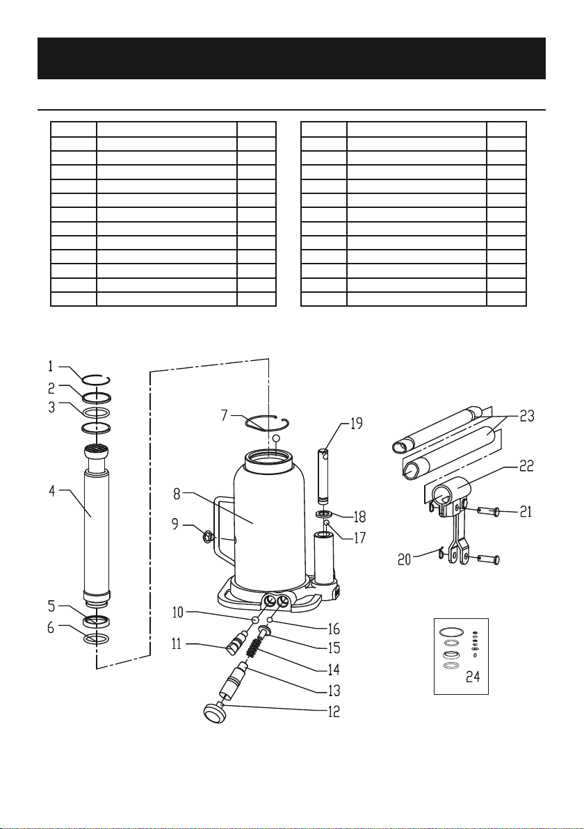
Parts Lists and Diagrams
Parts List and Diagram (56684, 56734, 56736 and 56739)
Part Description Qty
1 Round Wire Snap Ring 1
2 Rectangular Ring 2
3 O-Ring 1
4 Ram 1
5 Bowl Washer 1
6 O-Ring 1
7 Retainer Ring 1
8 Housing 1
9 Oil Fill Plug 1
10 Bearing Ø6mm 1
11 Release Valve 1
12 Plug 1
Part Description Qty
13 Safety Valve 1
14 Spring 1
15 Spring Holder 1
16 Ball Bearing Ø3mm 1
17 Ball Bearing Ø5mm 2
18 Bowl Washer 1
19 Pump Plunger 1
20 Cotter Pin 2
21 Pin 2
22 Fulcrum 1
23 Handle 1
24 Seal Kit 1

Page 10 For technical questions, please call 1-888-866-5797. Bottle Jacks
Parts List and Diagram (56735 and 56738)
Part Description Qty
1 Round Wire Snap Ring 1
2 Guide Bush 1
3 O-Ring 2
4 Elevating Screw 1
5 Nut 1
6 Ram 1
7 Piston 1
8 Cap Seal 1
9 O-Ring 1
10 Release Valve 1
11 O-Ring 1
12 Steel Ball 1
13 Base 1
14 Oil Fill Plug 1
15 Housing 1
16 Cylinder 1
17 Retainer Ring 1
Part Description Qty
18 Steel Ball 2
19 Pump Plunger 1
20 Retainer Ring 1
21 O-Ring 1
22 Stop Block 1
23 Pump Cylinder 1
24 Filter 1
25 Pin 2
26 Cotter Pin 2
27 Link Base 1
28 Rivet 1
29 Link 1
30 Pin 1
31 Rivet 1
32 Rivet 1
33 Fulcrum 1
34 Handle (not shown) 1
Ce manuel convient aux modèles suivants
6
Table des matières
Autres manuels Pittsburgh Jack

Pittsburgh
Pittsburgh 64908 Instructions de montage

Pittsburgh
Pittsburgh 62590 Instructions de montage

Pittsburgh
Pittsburgh 58816 Instructions de montage

Pittsburgh
Pittsburgh 63397 Instructions de montage

Pittsburgh
Pittsburgh 62117 Manuel d'instructions d'origine

Pittsburgh
Pittsburgh 58775 Instructions de montage

Pittsburgh
Pittsburgh 56368 Instructions de montage

Pittsburgh
Pittsburgh 61523 Instructions de montage

Pittsburgh
Pittsburgh 56374 Instructions de montage

Pittsburgh
Pittsburgh 56617 Instructions de montage


















