
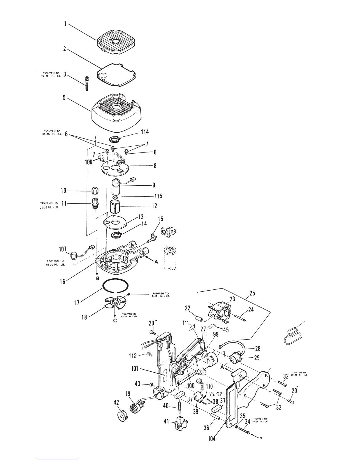
1900356 1 Grill
2900455 1 Filter
3901065 4 Shoulder Screw, 10-24 x 1-1/4
4008388 4 Flat Washer #10
5900410 1 Cap Assembly
6404427 3 Screw, Taptite, 8-32 x 5/8
7006562 3 Washer #8
8900271 1 Circuit Board Assembly
9900526 1 Motor & Connector
10 403842 1 Spark Plug Boot
11 401341 1 Spark Plug Assembly
12 401356 1 Sleeve, Motor
13 900470 1 Motor Mount Assembly
14 401355 1 Retaining Ring
15 403146 1 Stem Adapter (Yellow)
16 900004 1 Cylinder Head
*17 404700 2 O-Ring
18 403167 1 Fan Blade Assembly
19 900011 1 Battery Contact Assembly
20 900968 2 Shoulder Screw, 10-32 x 9/16
22 404432 1 Bushing, Actuator
23 900357 1 Actuator
24 404433 1 Pin, Actuator
25 900136 1 Actuator Assembly
27 900179 1 Handle Right Side
28 403156 1 Lanyard
29 403155 1 Battery Cap
30 900138 1 Handle, Left Side
32 900453 3 Thrd. Frm.Screw, 8-16 x 7/8
33 900289 1 Belt Hook
34 901221 1 Screw, 8-32 x 9/16
35 403082 1 Washer
36 403166 1 Bushing
37 401450 2 Pad, Fuel Cell
38 402201 2 Screw, Phillips Head, 2-56 x 5/8
39 404490 1 Trigger Switch Assembly
40 401395 1 Spring
41 900358 1 Trigger
42 403127 1 Retention Cap
43 001641 1 Nut, 8-32
44 900562 1 S. H. C. S. 10-24 x 1-1/8"
45 900552 2 Cover Plate
▲
46 004224 5 Screw
47 900549 1 Rail Bracket
48 404698 2 Roll Pin Assembly
49 900551 1 Pivoting Rail Cover Assembly
50 900548 1 Rail & Cover Assembly
51 900532 1 Lower Siding W. C.E.
▲
52 402797 1 Retaining Bushing
53 402798 1 Latch, Follower Button
54 402799 1 Spring, Follower Latch
55 402740 1 Roll Pin, 3/32 x 7/16
56 091568 1 Screw, Pan Head, 6-32 x 1/4
57 070545 1 Lockwasher #6
*Denotes normal wear items.
** Make sure warning labels are properly affixed, replace if necessary. Labels available at no charge through the Service Department.
▲Apply Loctite 242 (Blue).
➔Denotes new change.
PARTS LEGEND
58 091532 1 Negator
59 091534 1 Drum, Negator
60 402743 1 Pin, Negator Drum
61 402668 1 Retaining Washer
62 402796 1 Follower
63 403104 1 Air Dam
64 403100 1 Combustion Chamber Assembly
65 403099 1 Retaining Ring, Piston
66 403098 1 Piston Ring
*67 404665 1 Piston Driver Blade Assembly
68 403094 1 Bumper
69 403084 1 Sleeve/ Midcheck Ring Assembly
70 403089 1 Seal Washer
71 403090 2 Wave Washer
72 403092 2 Retaining Ring, Midcheck
73 403091 1 Muffler
74 404339 1 Spring, Chamber Return
75 403106 1 Cage
76 403713 3 E-Ring, Retaining
77 404316 1 Flange, Sleeve
78 900411 1 Housing Assembly
▲
80 004174 2 S. H. C. S. 10-24 x 7/8
81 900534 2 S. H. C. S. 10-32 x 5/8
82 092037 1 Locknut, 10-32
83 402736 1 Washer, Flat #10 Black
84 404319 1 Lower Work Contacting Element
85 900056 1 No-Mar Tip (Optional)
86 004238 1 Lockwasher #10
87 402629 1 Washer, Hardened #10
88 900535 1 Upper Work Contacting Element
89 404365 1 Front Guide
▲
90 900537 2 S. H. C. S. 10-24 x .813
91 900550 1 Back Plate
92 403822 1 Pivot Pin
93 900001 1 Spring, Latch
94 404317 1 Latch, Front Guide
95 092176 1 Roll Pin, 5/32 Dia. x 1-3/8
96 404315 1 Flange, Nose
97 900583 1 Removable Spark Plug Wire
98 900280 1 Spark Assembly
99 900509 1 Nameplate
100 404385 1 Light Pipe
**101 900496 1 Warning Label
103 900651 2 Label, Logo
**104 900517 1 International Warning Label
106 900232 1 Cable Clamp
107 404601 1 Head Switch Assembly
108 900166 1 Spring, Combusion Chamber
109 900164 1 Ring, Head Switch Activating
110 900182 2 Washer, Trigger
111 900142 1 Label, Battery
112 900236 1 Clip Handle
114 900300 1 Retaining Ring
115 900468 1 Washer
IM200/50 S16 SOLID STATE, 900078