NIPROS PS270 Manuel utilisateur

PS270/570
Volume1.5,1steditionVer.3.1(serialnumber735322andUpper)
Operating Instructions
Beforeoperatingthesystem,pleasereadthismanual
thoroughlyandretainitforfuturereference.

WARNING
For the customers in the U.S.A.
This equipment has been tested and found
to comply with the limits for a Class A
digital device, pursuant to Part 15 of the
FCC Rules. These limits are designed to
provide reasonable protection against
harmful interference when the equipment is
operatedin a commercial environment.
This equipment generates, uses, and can
radiate radio frequency energy and, if not
installed and used in accordance with the
instruction manual, may cause harmful
interference to radio communications.
Operation of this equipment in a residential
area is likely to cause harmful interference
in which case the user will be required to
correct the interference at his own ex-
pense.
You are cautioned that any changes or
modifications not expressly approved in
this manual could void your authority to
operate this equipment.
All interface cables used to connect periph-
erals must be shielded in order to comply
with the limits for a digital device pursuant
to Subpart B of Part 15 of FCC Rules.
To reduce the risk of fire or electric
shock,do not expose this apparatus to rain
or moisture.
To avoid electrical shock, do not open the
cabinet. Refer servicing to qualified per-
sonnel only.
WARNING
When installing the unit, incorporate a
readily accessible disconnect device in the
fixed wiring, or connect the power plug to
an easily accessible socket-outlet near the
unit. If a fault should occur during opera-
tion of the unit, operate the disconnect
device to switch the power supply off, or
disconnect the power plug.
Do not install the appliance in a confined
space, such as book case or built-in cabi-
net.
IMPORTANT
The nameplate is located on the bottom.
WARNING
Excessive sound pressure from earphones
and headphones can cause hearing loss.In
order to use this product safely, avoid
prolonged listening at essive sound pres-
sure levels.This equipment shall not be
exposed to excessive heat such as sun-
shine, fire or the like.
NIPROS/1 is class 1 laser product.
(IEC60825-1+A2:2001)
Do not directly look into the Optical fiber
connector, since laser light is emitted from
its tips.
Ensure that the dust cap is placed over the
Optical fiber connector when this equip-
ment is not in use.
02

PS-270各部名称と働き
08
OpticalFiberCameraAdapterPS-270
コネクタパネル
Connectorpanel
OutputtheremotecontrolsignaltoaSONYcamcorderequippedwiththeLANCterminal(φ2.5mini-jack).
カメラのTCOUTから接続してPS-570に接続されたVTR等との同期を取るためのコネクタです。
カメラのTCINへ接続してPS-570に接続されたVTR等からのタイムコード信号により同期を取るためのコネクタです。
LANCconnector
TCINconnector
TCOUTconnector
Connectthetimecodesignalfromthecamcordertosynchronizewithvideoequipmentconnectedto
theOpticalFiberBaseStationPS-570.
OutputthetimecodesignaltothecamcorderfromtheOpticalFiberBaseStationPS-570tosynchronize
withvideoequipmentconnectedtotheOpticalFiberBaseStationPS-570.
ソニー社製LANCリモコンに対応するリモコン用φ2.5ジャックです。
GENLOCK信号を出力するコネクタです。
GENLOCKoutputconnector
ソニー社製RM-B150,750に適合するコネクタです。RCC-450(付属)を使ってカメラと接続します。
REMOTEconnector
OutputtheGenlockreferencesignaltothecamcorder.
Connectwiththeremotecontrolunit,SONYRM-B150,B750,andconnecttothecamcorderbythesupplied
8-pinremotecable.

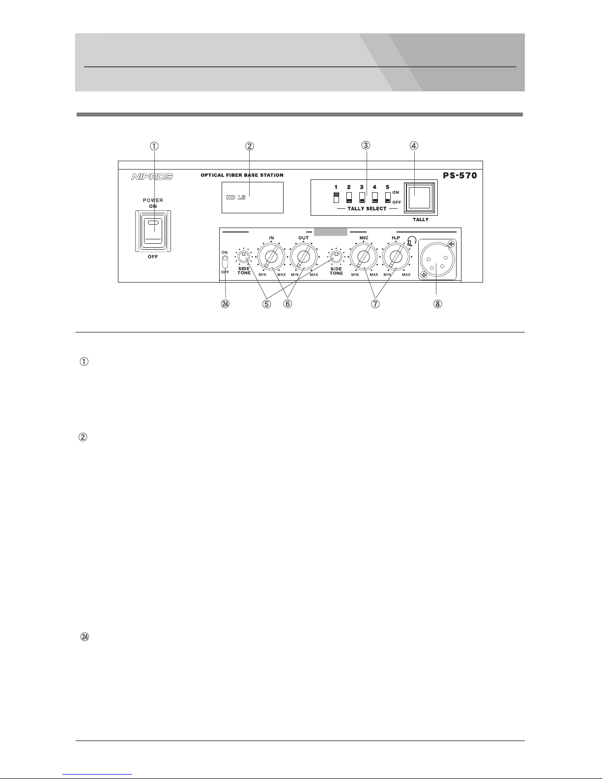
PS-570各部名称と働き
NamesandFunctionsofParts
09
OpticalFiberBaseStationPS-570
前面パネル
Frontpanel
Turnsthepoweronoroff.
光信号の通信状況を表示します。
HD:HD-SDI信号がカメラアダプタから送られてきているとき点灯します。消灯の場合はSD-SDI信号が伝送されています。
LS:レーザー信号がカメラアダプタから送られてきているとき点灯します。
電源をON/OFFします。
POWERswitch
Operationstatusindicator
Showsthecurrentsystemstatus.
HD:LightsupwhentheHD-SDIsignalfromtheOpticalFiberCameraAdaptorPS-270isreceived.
LS:LightsupwhentheLasersignalfromtheOpticalFiberCameraAdaptorPS-270isreceived.
LEDOFF:WhentheSD-SDIsignalisreceived.
4W
I/O
EXTLINE(4WI/O) INTERCOM HEADSET
INTERCOMEXTLINE4WI/OON/OFFswitch
Turnsonorofftheconnectiontotheexternal4-wireintercomline.
外部インターカム4Wラインへの接続をON/OFFします。

05
OpticalFiberCameraAdapterPS-270
前面パネル
Frontpanel
PS-570から供給される12V系電源を出力するキャノン4Pメス出力です。カメラ、カムライト、LCDモニター等の電源に
使用します。
DC12VOUTconnector(XLR-4,female)
モニターにVF6Pケーブルを使って接続します。
LightsupwhenreceivingthetallysignalfromtheOpticalFiberBaseStationPS-570.
ThelightcanbeturnedonandoffwiththeTALLYON/OFFswitch.
MONITOROUTconnector
TALLYindicator
TALLYON/OFFswitch
タリーLEDをON/OFFするスイッチです。
TurnstheTALLYindicatoronandoff.
Connecttothemonitorbythesupplied6-pincable.
OutputsDC12VpowersuppliedfromtheOpticalFiberBaseStationPS-570foracameralight,amonitor,
aprompter,andetc.(themaximumelectricpoweris30W)
PS-570からのタリー信号を受けて点灯します。タリーON/OFFスイッチにより任意に消灯させることができます。

06
OpticalFiberCameraAdapterPS-270
背面パネル
Rearpanel
リアパネルのタリー表示を任意に点灯/消灯するためのスイッチです。
PS-570からタリー信号を受けて点灯します。タリー表示ON/OFFスイッチをOFFにすると消灯したままになります。
TALLYindicator
TALLYON/OFFswitch
TurnsonorofftheTALLYindicatorontherearpanel.
LightsupwhenreceivingthetallysignalfromtheOpticalFiberBaseStationPS-570.
ItdoesnʼtlightupwhentheTALLYON/OFFswitchisturnedoff.
ベースステーションPS-570と光ケーブル(別売ALC-100M等)にて接続するコネクタです。最大2kmまで使用可能です。
OpticalCableconnector
INTERCOMHEADSET2TALKSWITCHconnector
ConnectswiththeOpticalFiberBaseStationPS-570withanopticalfibercable.
Themaximumlengthofanopticalfibercableis2000m.
このコネクタをショートするとインカム2のマイクが動作します。
Whenthisconnectorisshorted,themicrophoneofintercomheadset2operates.
チップ
スリーブ
MICON
GND

07
OpticalFiberCameraAdapterPS-270
コネクタパネル
Connectorpanel
インカムを使用する場合にヘッドセット(DL-400)を挿入するコネクタです。
DC12V電源を入力することが可能です。
インカムを使用する場合にヘッドセット(DL-400)を挿入するコネクタです。
キャノン4Pオスコネクタのヘッドセットを使用する場合は、
キャノン4Pメス-メスのケーブルを製作して使用して下さい。
INTERCOMHEADSET2connector
HD-SDIまたはSD-SDI信号を入力するBNCコネクタです。
HD-SDI/SD-SDIinputconnector
RET映像(コンポジット)を出力するコネクタです。
REToutputconnector
1
2
3
4
DC12V(G)
DC8.4V(G)
DC8.4V(+)
DC12V(+)
1
2
3
4
MIC(G)
MIC(H)
H.PHONE(G)
H.PHONE(H)
DC12V/INTERCOMHEADSET1connector
ConnectthesuppliedIntercomheadsetDL-400.
OrconnecttheDC12VpowersupplyforDCoperation.
ConnectsthesuppliedIntercomheadsetDL-400.
ハンディカメラ用8.4V及びワイヤレス用12Vを出力するコネクタです。
DCOUTconnector
OutputDC8.4Vpowertothecamcorderand
DC12Vpowertoawirelessreceiverwiththe
suppliedDCcable.
ConnectortoinputtheHD-SDIorSD-SDIoutputsignalfromthecamcorder.
Outputsthereturnvideosignal.(Composite)
1
23
4
1
2
3
4
1
2
3
4
IncaseusingtheheadsetwiththeXLR-4PMaleconnector,
makeandusethecablewiththeXLR-4PFemale-Female
connectors.

08
OpticalFiberCameraAdapterPS-270
コネクタパネル
Connectorpanel
OutputtheremotecontrolsignaltoaSONYcamcorderequippedwiththeLANCterminal(φ2.5mini-jack).
カメラのTCOUTから接続してPS-570に接続されたVTR等との同期を取るためのコネクタです。
カメラのTCINへ接続してPS-570に接続されたVTR等からのタイムコード信号により同期を取るためのコネクタです。
LANCconnector
TCINconnector
TCOUTconnector
Connectthetimecodesignalfromthecamcordertosynchronizewithvideoequipmentconnectedto
theOpticalFiberBaseStationPS-570.
OutputthetimecodesignaltothecamcorderfromtheOpticalFiberBaseStationPS-570tosynchronize
withvideoequipmentconnectedtotheOpticalFiberBaseStationPS-570.
ソニー社製LANCリモコンに対応するリモコン用φ2.5ジャックです。
GENLOCK信号を出力するコネクタです。
GENLOCKoutputconnector
ソニー社製RM-B150,750に適合するコネクタです。RCC-450(付属)を使ってカメラと接続します。
REMOTEconnector
OutputtheGenlockreferencesignaltothecamcorder.
Connectwiththeremotecontrolunit,SONYRM-B150,B750,andconnecttothecamcorderbythesupplied
8-pinremotecable.

NamesandFunctionsofParts
09
OpticalFiberBaseStationPS-570
前面パネル
Frontpanel
Turnsthepoweronoroff.
光信号の通信状況を表示します。
HD:HD-SDI信号がカメラアダプタから送られてきているとき点灯します。消灯の場合はSD-SDI信号が伝送されています。
LS:レーザー信号がカメラアダプタから送られてきているとき点灯します。
電源をON/OFFします。
POWERswitch
Operationstatusindicator
Showsthecurrentsystemstatus.
HD:LightsupwhentheHD-SDIsignalfromtheOpticalFiberCameraAdaptorPS-270isreceived.
LS:LightsupwhentheLasersignalfromtheOpticalFiberCameraAdaptorPS-270isreceived.
LEDOFF:WhentheSD-SDIsignalisreceived.
4W
I/O
EXTLINE(4WI/O) INTERCOM HEADSET
INTERCOMEXTLINE4WI/OON/OFFswitch
Turnsonorofftheconnectiontotheexternal4-wireintercomline.
外部インターカム4Wラインへの接続をON/OFFします。

PS-270各部名称と働き
07
OpticalFiberCameraAdapterPS-270
コネクタパネル
Connectorpanel
インカムを使用する場合にヘッドセット(DL-400)を挿入するコネクタです。
DC12V電源を入力することが可能です。
インカムを使用する場合にヘッドセット(DL-400)を挿入するコネクタです。
キャノン4Pオスコネクタのヘッドセットを使用する場合は、
キャノン4Pメス-メスのケーブルを製作して使用して下さい。
INTERCOMHEADSET2connector
HD-SDIまたはSD-SDI信号を入力するBNCコネクタです。
HD-SDI/SD-SDIinputconnector
RET映像(コンポジット)を出力するコネクタです。
REToutputconnector
1
2
3
4
DC12V(G)
DC8.4V(G)
DC8.4V(+)
DC12V(+)
1
2
3
4
MIC(G)
MIC(H)
H.PHONE(G)
H.PHONE(H)
DC12V/INTERCOMHEADSET1connector
ConnectthesuppliedIntercomheadsetDL-400.
OrconnecttheDC12VpowersupplyforDCoperation.
ConnectsthesuppliedIntercomheadsetDL-400.
ハンディカメラ用8.4V及びワイヤレス用12Vを出力するコネクタです。
DCOUTconnector
OutputDC8.4Vpowertothecamcorderand
DC12Vpowertoawirelessreceiverwiththe
suppliedDCcable.
ConnectortoinputtheHD-SDIorSD-SDIoutputsignalfromthecamcorder.
Outputsthereturnvideosignal.(Composite)
1
23
4
1
2
3
4
1
2
3
4
IncaseusingtheheadsetwiththeXLR-4PMaleconnector,
makeandusethecablewiththeXLR-4PFemale-Female
connectors.
Autres manuels pour PS270
1
Ce manuel convient aux modèles suivants
1
Autres manuels NIPROS Accessoires pour appareils photo




















