KRAMER: SIMPLE CREATIVE TECHNOLOGY
Using the VM-25 Video Distribution Amplifier
4
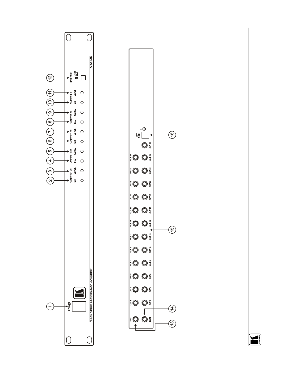
Table 1: Front Panel VM-25 Video Distribution Amplifier Features
# Feature Function
1 POWER Switch Illuminated switch supplying power to the unit
2 EQ. Trimmer Adjusts
1
the video EQ. (equalization) compensation of outputs 21 to 25
3 LEVEL Trimmer Adjusts
1
the video signal level of outputs 21 to 25
4 EQ. Trimmer Adjusts
1
the video EQ. (equalization) compensation of outputs 16 to 20
5 LEVEL Trimmer Adjusts
1
the video signal level of outputs 16 to 20
6 EQ. Trimmer Adjusts
1
the video EQ. (equalization) compensation of outputs 11 to 15
7 LEVEL Trimmer Adjusts
1
the video signal level of outputs 11 to 15
8 EQ. Trimmer Adjusts
1
the video EQ. (equalization) compensation of outputs 6 to 10
9 LEVEL Trimmer Adjusts
1
the video signal level of outputs 6 to 10
10 EQ. Trimmer Adjusts
1
the video EQ. (equalization) compensation of outputs 1 to 5
11 LEVEL Trimmer Adjusts
1
the video signal level of outputs 1 to 5
12 TERMINATION Button Pushing in selects 75, releasing selects Hi-Z
2
Table 2: Rear Panel VM-25 Video Distribution Amplifier Features
# Feature Function
13 INPUT RCA Connector Connects to the video source
14 LOOP RCA Connector For looping (if required)
15 OUT RCA Connectors Connect to the composite video acceptors (from 1 to 25)
16 12 V DC IN +12V DC connector for powering the unit
4 Using the VM-25 Video Distribution Amplifier
You can connect:
A single VM-25 unit (see section 4.1)
Several VM-25 units to increase the number of outputs (see section 4.2)
4.1 Connecting a VM-25 Video Distribution Amplifier
To connect the VM-25 as a 1:25 video DA
3
(see Figure 2), do the following
4
:
1. Connect a composite video source (for example, a composite video
player) to the INPUT RCA connector.
2. Connect up to 25 OUT RCA connectors
5
to the video acceptors (for
example, composite video displays).
1 Insert a screwdriver into the hole and carefully rotate it, to trim the level
2 For looping, select Hi-Z
3
DA is Distribution Amplifier
4 Switch OFF the power on each device before connecting it to your VM-25. After connecting your VM-25, switch on its
power and then switch on the power on each device
5 As required. Up to 25 outputs can be connected on the VM-25. Not all outputs need to be connected