
2
KICKER MARINE Tower Enclosures
Owner’s Manual
Authorized KICKER Dealer:
Purchase Date:
Serial Number:
MODEL: KMTES8
The KICKER KM Tower Enclosures are the perfect way to bring
your music out into the marine or power sports environment.
The KMTES8 is compatible with the KICKER KM8 speaker. The
injection-molded ABS enclosures are UV treated, splash resistant,
and weather resilient. Mount the KM Tower Enclosures in your boat
or get creative with a pair of them in the garage, on your 4x4 or
Side-by-Side’s roll bars, or in any other bar-mounted application.
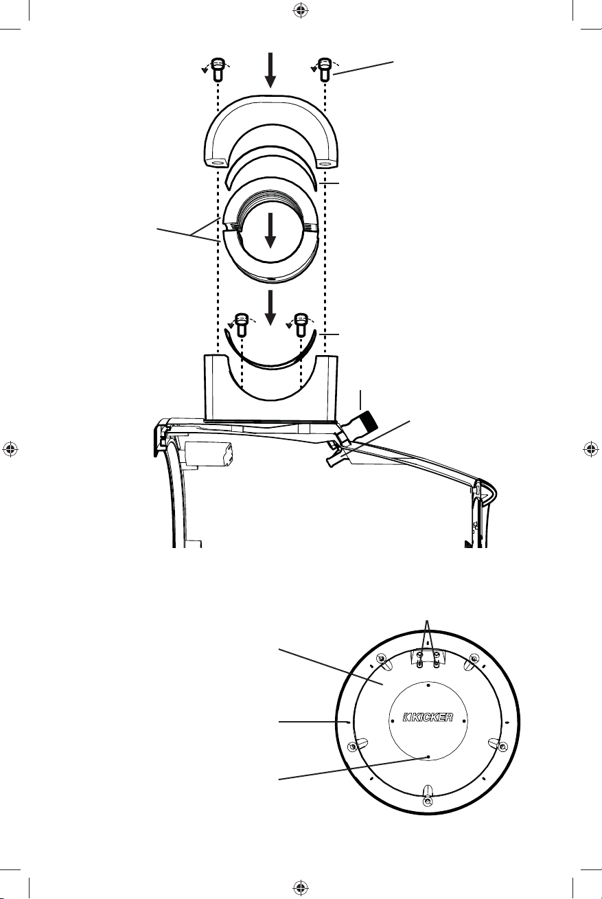
INSTALLATION
Mounting: Your KM Tower enclosures include plastic adaptor inserts for use with the four most popular tower
tubing diameters: 2-1/4”, 2-3/8”, 2-1/2” and 2-5/8” (without inserts). If your tubing diameter is different, you may
need to use the KMTAP Accessory pack, which includes adaptors for 1-5/8”, 1-3/4”, 1-7/8” and 2”. For other
tubing diameters, additional shims may be needed. Place the included upper and lower gaskets between the
mounting inserts and mounting brackets.
Study your mounting bar for the best possible mounting locations. Spreading the KM Tower Enclosures apart will
provide better stereo performance, and is usually preferable. When determining the best locations for mounting,
be careful to look for obstacles or obstructions that could complicate mounting the KM Tower Enclosures.
Please keep in mind the routing of your speaker wires as this can affect where you finally mount your KM Tower
Enclosures.
Aiming: The mounting hardware design provides flexibility in angular mounting of your KM Tower Enclosures.
This is accomplished by using the included female-threaded internal mounting plates. It is recommended that
you loosely assemble your KM Tower Enclosures and attach them to your mounting bar/tower to determine
proper angular alignment.
Start by inserting two stainless socket-head cap screws through the lower mounting bracket, through the
enclosure mounting holes, and into the threaded mounting plate. Leave these screws loose for the moment.
Attach the enclosure to your mounting bar using the upper mounting bracket and two more stainless socket-
head cap screws. While still loosely assembled, visually align your KM Tower Enclosures to the desired angle.
Using tape, a pencil, or some other means, mark the mounting angle of the mounting bracket bottom in relation
to the KM Tower Enclosure(s). Remove the enclosures and then do final tightening of the lower mounting
bracket to the enclosure, aligning it with the marks you made. Once your final adjustments are made do not use
excessive force to further aim the enclosures. If your aim is off, remove the KM Tower Enclosures and loosen the
screws between the enclosure and the lower mounting bracket, then reset the angle.
lower mounting bracket
(set desired angle before
completing mounting)
steel mounting plate
10"
254mm
9/32"
8mm
8 5/32"
207mm
9 3/4"
248mm
6 17/32"
166mm
11 27/32"
301mm