1
IM-AS/02.00 GB (0412)
Index
1.0 Introduction ...................................................................................................... 3
2.0 Symbols ...................................................................................................... 3
3.0 Safety warnings ................................................................................................ 3
4.0 Transportation, receipt and transferring of goods ....................................... 4
4.1 Transportation .............................................................................................................. 4
4.2 Receipt .......................................................................................................................... 4
4.3 Transferring .................................................................................................................. 4
5.0 Description ...................................................................................................... 5
5.1 Sound pressure level.................................................................................................... 5
6.0 Non-permitted uses.......................................................................................... 6
7.0 Installation ...................................................................................................... 6
7.1 Suction and inflow conditions .................................................................................... 6
7.2 Piping ........................................................................................................................... 6
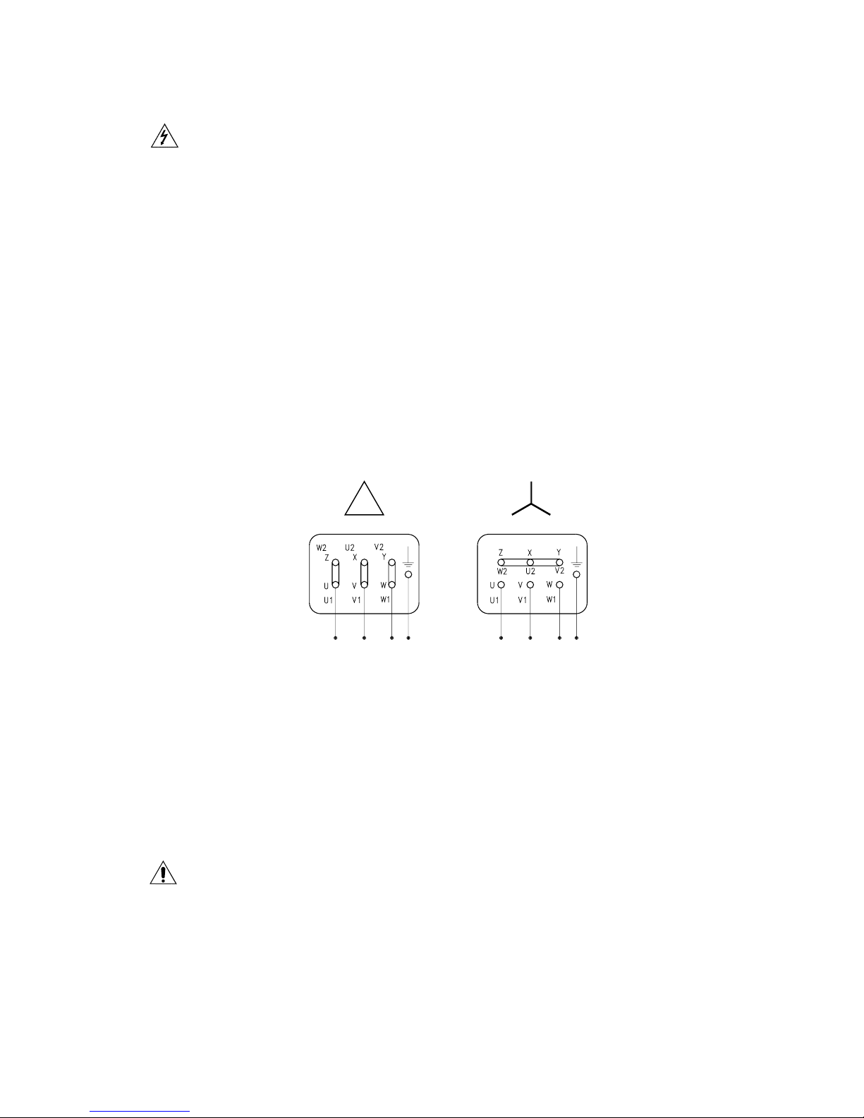
7.3 Electrical connection ................................................................................................... 7
8.0 Operation ...................................................................................................... 7
8.1 Preliminary operations and starting .......................................................................... 7
8.2 Operating checks ......................................................................................................... 8
8.3 Extended stop .............................................................................................................. 8
8.4 Cleaning the pump ...................................................................................................... 8
9.0 Spare parts ...................................................................................................... 8
10.0 Seals ................................................................................................. 9
11.0 Disassembly and Assembly AS-series ......................................................... 10
11.1 General instructions .................................................................................................. 10
11.2 O-rings and lip seals .............................................................................................. 10
11.3 Shutdown .............................................................................................. 10
11.4 Disassembly .............................................................................................. 11
11.4.1 Removal of pump casing and impeller – AS 40, 50, 60, 65 and 80 .......... 11
11.4.2 Removal of pump casing and impeller – AS 42 and AS 52 ...................... 11
11.4.3 Seal disassembly ............................................................................................ 12
11.4.3.1 T execution ......................................................................... 12
11.4.3.2 V execution ......................................................................... 12
11.4.3.3 Q execution ......................................................................... 12
11.4.4 Bearing removal ............................................................................................ 13
11.5 Assembly .............................................................................................. 13
11.5.1 Clearances .............................................................................................. 13
11.5.2 Pump assembly AS 40, 50, 60, 65................................................................. 14
11.5.3 Seal assembly .............................................................................................. 14