ITW Foxjet Marksman Matrix Manuel utilisateur

Marksman
MATRIX & ELITE
High Resolution Printing
for the Real World
2465-623
Revision F
User
Manual
1 Missouri Research Park Drive • St. Charles, MO 63304
Tel: 800-369-5384
Illinois Tool Works Inc © 2019

www.foxjet.com Marksman
MATRIX & ELITE
Ink Jet System
User Manual
2465-623
The information contained in this manual
is correct and accurate at the time of its
publication. ITW reserves the right to
change or alter any information or
technical specifications at any time and
without notice.
©2019 Illinois Tool Works Inc.
All rights reserved

Warranty:
The Marksman© Matrix & Elite Ink Jet system, including all components unless other
wise specified, carries a limited warranty.
The inks and conditioners used with the Marksman© Matrix & Elite Ink Jet system
carry a limited warranty.
For all warranty terms and conditions, contact the Distributor for a complete copy of the
Limited Warranty Statement.

Marksman Matrix & Elite
2465-623 User Manual Rev F
Section 1: Safety and Ink Usage . . . . . . . . . . . . . . . . . . . . . . . . . . . . . . . . . . . . . . . . . . . . . . . . . . . . . 1
Section 2: Installation . . . . . . . . . . . . . . . . . . . . . . . . . . . . . . . . . . . . . . . . . . . . . . . . . . . . . . . . . . . . . 2
Materials Required for Installation . . . . . . . . . . . . . . . . . . . . . . . . . . . . . . . . . . . . . . . . . . . . . . 3
Step 1: Installing Bracketry . . . . . . . . . . . . . . . . . . . . . . . . . . . . . . . . . . . . . . . . . . . . . . . . . . . . 4
Step 2: Mounting the Print System . . . . . . . . . . . . . . . . . . . . . . . . . . . . . . . . . . . . . . . . . . . . . . 5
Step 3: Mounting the Photosensor and Encoder . . . . . . . . . . . . . . . . . . . . . . . . . . . . . . . . . . . . 8
Step 4: Electrical Cable Connections . . . . . . . . . . . . . . . . . . . . . . . . . . . . . . . . . . . . . . . . . . . 10
Step 5: Priming the Print Heads . . . . . . . . . . . . . . . . . . . . . . . . . . . . . . . . . . . . . . . . . . . . . . . 12
Section 5: Getting Started . . . . . . . . . . . . . . . . . . . . . . . . . . . . . . . . . . . . . . . . . . . . . . . . . . . . . . . . . 15
Counts . . . . . . . . . . . . . . . . . . . . . . . . . . . . . . . . . . . . . . . . . . . . . . . . . . . . . . . . . . . . . . . . . . . 18
User Data . . . . . . . . . . . . . . . . . . . . . . . . . . . . . . . . . . . . . . . . . . . . . . . . . . . . . . . . . . . . . . . . . 18
Info Window / Preview Window . . . . . . . . . . . . . . . . . . . . . . . . . . . . . . . . . . . . . . . . . . . . . . . 19
Configure: . . . . . . . . . . . . . . . . . . . . . . . . . . . . . . . . . . . . . . . . . . . . . . . . . . . . . . . . . . . . . . . . 20
Reports . . . . . . . . . . . . . . . . . . . . . . . . . . . . . . . . . . . . . . . . . . . . . . . . . . . . . . . . . . . . . . . . . . . 28
Delays . . . . . . . . . . . . . . . . . . . . . . . . . . . . . . . . . . . . . . . . . . . . . . . . . . . . . . . . . . . . . . . . . . . 29
Section 6: BoxWriter© Matrix & Elite Editor . . . . . . . . . . . . . . . . . . . . . . . . . . . . . . . . . . . . . . . . 30
Define . . . . . . . . . . . . . . . . . . . . . . . . . . . . . . . . . . . . . . . . . . . . . . . . . . . . . . . . . . . . . . . . . . . 30
Tools . . . . . . . . . . . . . . . . . . . . . . . . . . . . . . . . . . . . . . . . . . . . . . . . . . . . . . . . . . . . . . . . . . . . 42
Files . . . . . . . . . . . . . . . . . . . . . . . . . . . . . . . . . . . . . . . . . . . . . . . . . . . . . . . . . . . . . . . . . . . . . 42
Elements . . . . . . . . . . . . . . . . . . . . . . . . . . . . . . . . . . . . . . . . . . . . . . . . . . . . . . . . . . . . . . . . . 50
ToolBars . . . . . . . . . . . . . . . . . . . . . . . . . . . . . . . . . . . . . . . . . . . . . . . . . . . . . . . . . . . . . . . . . 63
Perspective . . . . . . . . . . . . . . . . . . . . . . . . . . . . . . . . . . . . . . . . . . . . . . . . . . . . . . . . . . . . . . . . 65
Section 7: Maintenance and Shutdowns . . . . . . . . . . . . . . . . . . . . . . . . . . . . . . . . . . . . . . . . . . . . .66
APS - Automatic Priming System . . . . . . . . . . . . . . . . . . . . . . . . . . . . . . . . . . . . . . . . . . . . . . 66
System Maintenance . . . . . . . . . . . . . . . . . . . . . . . . . . . . . . . . . . . . . . . . . . . . . . . . . . . . . . . . 67
Print Head Maintenance . . . . . . . . . . . . . . . . . . . . . . . . . . . . . . . . . . . . . . . . . . . . . . . . . . . . . 68
Shutdown Procedures . . . . . . . . . . . . . . . . . . . . . . . . . . . . . . . . . . . . . . . . . . . . . . . . . . . . . . . 69
Startup . . . . . . . . . . . . . . . . . . . . . . . . . . . . . . . . . . . . . . . . . . . . . . . . . . . . . . . . . . . . . . . . . . . 69
Ink Storage . . . . . . . . . . . . . . . . . . . . . . . . . . . . . . . . . . . . . . . . . . . . . . . . . . . . . . . . . . . . . . . . 70
Section 8: Troubleshooting . . . . . . . . . . . . . . . . . . . . . . . . . . . . . . . . . . . . . . . . . . . . . . . . . . . . . . . . 71
Troubleshooting Notes . . . . . . . . . . . . . . . . . . . . . . . . . . . . . . . . . . . . . . . . . . . . . . . . . . . . . . 71
Troubleshooting Tests . . . . . . . . . . . . . . . . . . . . . . . . . . . . . . . . . . . . . . . . . . . . . . . . . . . . . . . 72
Print Quality Troubleshooting . . . . . . . . . . . . . . . . . . . . . . . . . . . . . . . . . . . . . . . . . . . . . . . . .73
Appendix A: Specifications . . . . . . . . . . . . . . . . . . . . . . . . . . . . . . . . . . . . . . . . . . . . . . . . . . . . . . . . 76
Matrix Controller Specifications . . . . . . . . . . . . . . . . . . . . . . . . . . . . . . . . . . . . . . . . . . . . . . 76
Matrix Wiring Diagram . . . . . . . . . . . . . . . . . . . . . . . . . . . . . . . . . . . . . . . . . . . . . . . . . . . . . . 77
Elite Controller Specifications . . . . . . . . . . . . . . . . . . . . . . . . . . . . . . . . . . . . . . . . . . . . . . . . 78
Elite Wiring Diagram . . . . . . . . . . . . . . . . . . . . . . . . . . . . . . . . . . . . . . . . . . . . . . . . . . . . . . . 79
Print Head Specifications . . . . . . . . . . . . . . . . . . . . . . . . . . . . . . . . . . . . . . . . . . . . . . . . . . . . 80

Marksman Matrix & Elite
2465-623 User Manual Rev F
Appendix B: Theory of Operation . . . . . . . . . . . . . . . . . . . . . . . . . . . . . . . . . . . . . . . . . . . . . . . . . . 82
The Marksman© Matrix & Elite . . . . . . . . . . . . . . . . . . . . . . . . . . . . . . . . . . . . . . . . . . . . . . . 82
Print Heads . . . . . . . . . . . . . . . . . . . . . . . . . . . . . . . . . . . . . . . . . . . . . . . . . . . . . . . . . . . . . . . 82
Photosensor . . . . . . . . . . . . . . . . . . . . . . . . . . . . . . . . . . . . . . . . . . . . . . . . . . . . . . . . . . . . . . . 82
Encoder . . . . . . . . . . . . . . . . . . . . . . . . . . . . . . . . . . . . . . . . . . . . . . . . . . . . . . . . . . . . . . . . . . 82
Appendix C: Part Numbers . . . . . . . . . . . . . . . . . . . . . . . . . . . . . . . . . . . . . . . . . . . . . . . . . . . . . . . 83
System . . . . . . . . . . . . . . . . . . . . . . . . . . . . . . . . . . . . . . . . . . . . . . . . . . . . . . . . . . . . . . . . . . . 83
Consumables . . . . . . . . . . . . . . . . . . . . . . . . . . . . . . . . . . . . . . . . . . . . . . . . . . . . . . . . . . . . . . 84
Matrix Spare Parts Kits . . . . . . . . . . . . . . . . . . . . . . . . . . . . . . . . . . . . . . . . . . . . . . . . . . . . . . 84
Elite Spare Parts Kits . . . . . . . . . . . . . . . . . . . . . . . . . . . . . . . . . . . . . . . . . . . . . . . . . . . . . . . . 84
Accessories . . . . . . . . . . . . . . . . . . . . . . . . . . . . . . . . . . . . . . . . . . . . . . . . . . . . . . . . . . . . . . . 84
384e and 768e Print System Service Kit . . . . . . . . . . . . . . . . . . . . . . . . . . . . . . . . . . . . . . . . . 85
Appendix D: Database Start . . . . . . . . . . . . . . . . . . . . . . . . . . . . . . . . . . . . . . . . . . . . . . . . . . . . . . . 86
Description . . . . . . . . . . . . . . . . . . . . . . . . . . . . . . . . . . . . . . . . . . . . . . . . . . . . . . . . . . . . . . . 86
Database Start Task Routine Flowchart . . . . . . . . . . . . . . . . . . . . . . . . . . . . . . . . . . . . . . . . . 86
Database Lookup Definition - Global Setting . . . . . . . . . . . . . . . . . . . . . . . . . . . . . . . . . . . . . 87
Database Start Task . . . . . . . . . . . . . . . . . . . . . . . . . . . . . . . . . . . . . . . . . . . . . . . . . . . . . . . . . 88
Serial Port Modification . . . . . . . . . . . . . . . . . . . . . . . . . . . . . . . . . . . . . . . . . . . . . . . . . . . . . 89
. . . . . . . . . . . . . . . . . . . . . . . . . . . . . . . . . . . . . . . . . . . . . . . . . . . . . . . . . . . . . . . . . . . . . . . . . 89
Printer Report Modification . . . . . . . . . . . . . . . . . . . . . . . . . . . . . . . . . . . . . . . . . . . . . . . . . . 89
Appendix E: Hand Scanner . . . . . . . . . . . . . . . . . . . . . . . . . . . . . . . . . . . . . . . . . . . . . . . . . . . . . . . 90
Scan and Shoot Setup . . . . . . . . . . . . . . . . . . . . . . . . . . . . . . . . . . . . . . . . . . . . . . . . . . . . . . . 90
Scanner . . . . . . . . . . . . . . . . . . . . . . . . . . . . . . . . . . . . . . . . . . . . . . . . . . . . . . . . . . . . . . . . . . 90
Appendix F: Communicating Directly to the Controller . . . . . . . . . . . . . . . . . . . . . . . . . . . . . . . . 92
Appendix G: Using Serial.cgi Commands through the Serial Port . . . . . . . . . . . . . . . . . . . . . . . 92
Appendix H: Using Marksman Net Software to Communicate to the Matrix . . . . . . . . . . . . . . 92
Appendix I: Using the Marksman Net Protocol to Control the Matrix . . . . . . . . . . . . . . . . . . . . 92
Appendix J Using the Print Monitor Software . . . . . . . . . . . . . . . . . . . . . . . . . . . . . . . . . . . . . . . . 92
Appendix K: Standard Operating Procedures . . . . . . . . . . . . . . . . . . . . . . . . . . . . . . . . . . . . . . . . 93
FJSOP1 - Removal of FoxJet High Resolution Printheads . . . . . . . . . . . . . . . . . . . . . . . . . . . 93
FJSOP2 - Daily Maintenance for AMS/APS Printheads . . . . . . . . . . . . . . . . . . . . . . . . . . . . 95
FJSOP4 - Installation of FoxJet High Resolution AMS/APS Printheads . . . . . . . . . . . . . . . . 97

Section 1: Safety and Ink Usage
Marksman Matrix & Elite
2465-623 User Manual Rev F Page 1
Section 1: Safety and Ink Usage
Following is a list of safety symbols and their meanings, which will be found throughout this
manual. Pay attention to these symbols where they appear in the manual.
Wear safety goggles when performing the procedure described!
Caution or Warning! Denotes possible personal injury and/or damage to the equip-
ment.
Caution or Warning! Denotes possible personal injury and/or equipment damage
due to electrical hazard.
NOTE: (Will be followed by a brief comment or explanation.)
Only trained personnel should operate and service the equipment.
NOTE: It is extremely important to:
• Clean up all ink spills with the appropriate conditioners immediately and dispose of all
waste according to local and state regulations.
• Wear safety glasses and protective clothing, including gloves, when handling all inks
and conditioners.
• Store inks and conditioners under the recommended conditions found on the MSDS
(Material Safety Data Sheet).
PRODUCT COMPLIANCE DISCLAIMER NOTE:
This product meets the requirements of UL60950-1:2007/A2:2014, EN60950-1:2006/
A2:2013, CAN/CSA C22.2 No. 60950-1:2007/A2:2014 using FoxJet an ITW Company
approved items. Units are only tested and qualified with FoxJet an ITW Company approved
inks, parts and accessories. Use of other inks, parts or accessories may introduce potential
risks that FoxJet an ITW Company can assume no liability for.
!

Section 2: Installation
Marksman Matrix & Elite
2465-623 User Manual Rev F Page 2
Section 2: Installation
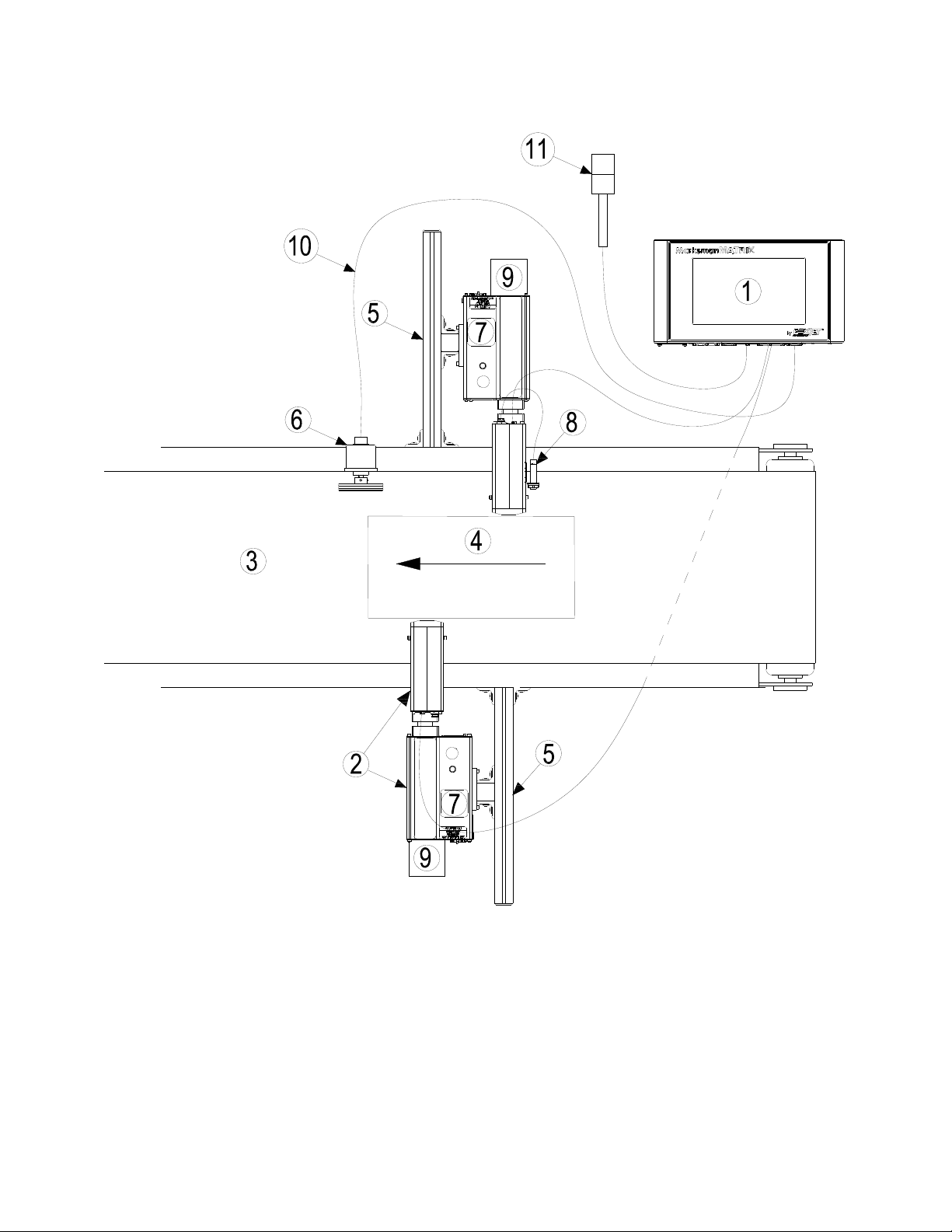
1 Controller, Matrix or Elite
2 Proseries Print Head
3 Conveyor
4 Product
5 Print System Bracketry
6 Encoder
7 Ink Supply
8 Photo Sensor
9 Vacuum Waste Collector Bottle
10 Encoder Cable
11 Alarm Beacon (Strobe)

Section 2: Installation
Marksman Matrix & Elite
2465-623 User Manual Rev F Page 3
The figure below illustrates a typical conveyor-mounted installation. (Cables are not
shown.)
Materials Required for Installation
You will need the following items:
• Lint-free wipes
• Safety goggles
•Level
• Tape measure
Use appropriate safety equipment and procedures. Leave print heads in their shipping car-
tons until all bracketry is in place and tightened down.

Section 2: Installation
Marksman Matrix & Elite
2465-623 User Manual Rev F Page 4
Step 1: Installing Bracketry
Bracketry is the structure that supports the controller, print system and other accessories.
Carefully plan the mounting location of the equipment. Keep in mind bracketry hardware
location and printer equipment size. Assemble all bracketry to the floor, conveyor, or other
bracketry.
This manual details instructions for mounting all system components to a conveyor. Other
mounting options for the controller and print system include the floor mount and the retract-
ing bracket (see “Appendix C: Part Numbers” on page 83). Assembly instructions are
included with mount kits.
Corner brackets are attached to aluminum bars as shown.
Retracting Bracket
Floor Mount
Conveyor Mount
Corner Bracket

Section 2: Installation
Marksman Matrix & Elite
2465-623 User Manual Rev F Page 5
Step 2: Mounting the Print System
Unpack the print head just before mounting to the bracketry.
Attach the print head to the bracketry with a print head mounting bracket. Do not connect to
power outlet.
The print head must be mounted in close proximity to the product. To maintain consistent
print, the head should be mounted no more than 1/8" from the substrate. An optional
retracting bracket is available to mount the head and control the distance from the head to
the substrate. The retracting bracket allows the head to bump the product and retract as
required to maintain a consistent throw distance. (See “System” on page 83 for bracketry
options.)
NOTE: Install optional retracting bracket kit on the print head prior to mounting the print
head to the conveyor bracket.
It may be necessary to vertically adjust each bracket's horizontal bar later to fine-tune mes-
sage placement. This is especially true when using multiple print heads, as message lines
will need to be synchronized with each other.
NOTE: When adjusting the horizontal bar or print head mounting bracket, always support
the print head with your hand to keep it from falling forward onto the conveyor.
NOTE: ProSeries print heads are supplied ink via capillary forces. Print heads must be
mounted in a level position from front to back to prevent leakage and provide proper ink
flow.
INK SYSTEM
WASTE BOTTLE
PRINT HEAD
INK BOTTLE
Ce manuel convient aux modèles suivants
1
Table des matières
Autres manuels ITW Imprimante





















