
gpelectric.com | [page 9]
4.5 TESTING FOR PROPER CIRCUIT BOARD OPERATION
1. Disconnect all AC power from the RV and make sure the generator is OFF.
2. Remove the cover from the ATS sliding a screwdriver blade under the edge of the cover and pry o.
3. Start the generator and wait 20-45 seconds to see if the relay will energize. If the relay does not energize, go to Step 4.
If the does energize, but the generator still does not provide 120VAC power to the RV, use an AC Voltmeter to check for
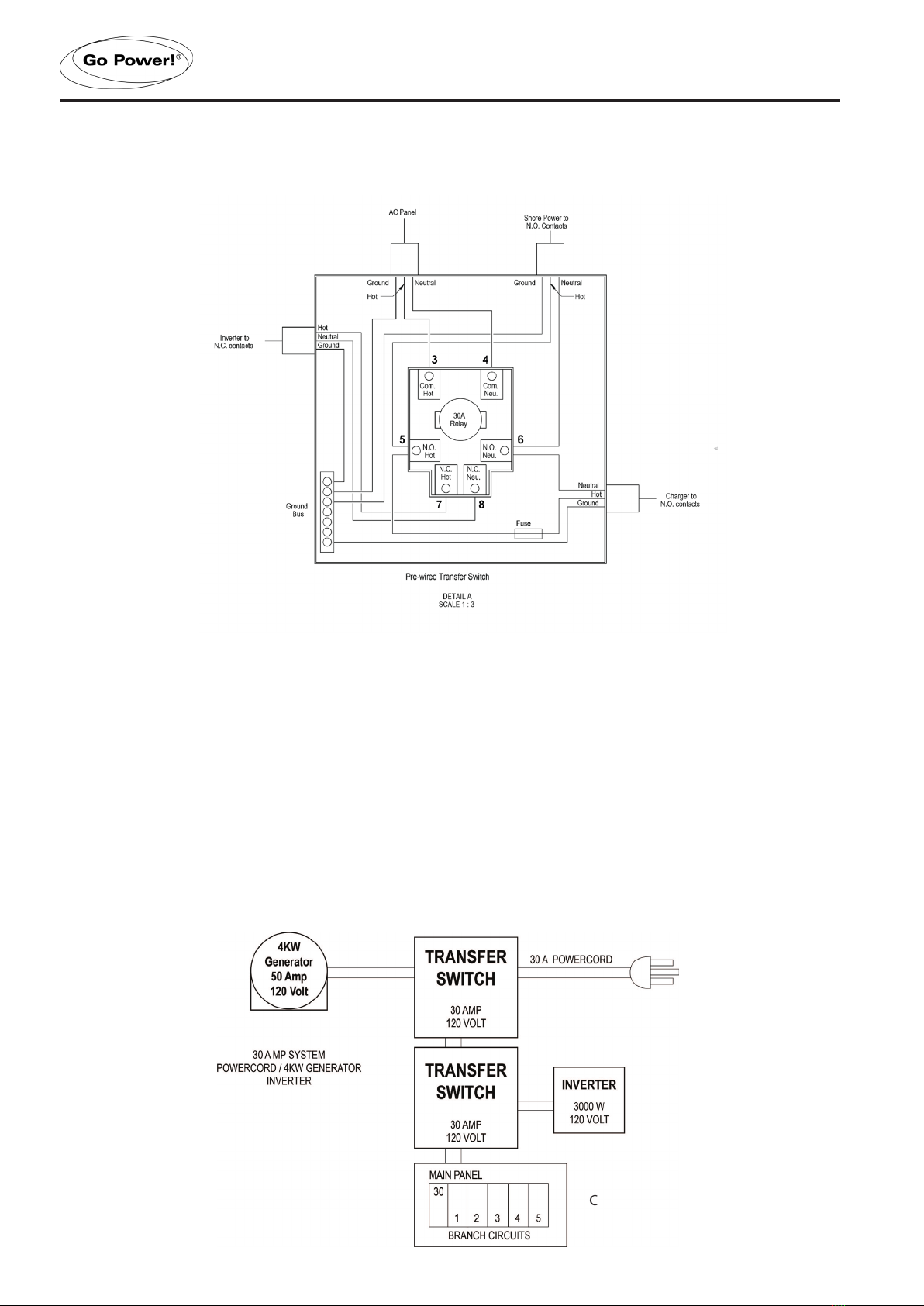
120VAC at the Normally Open (NO) terminals of the relay. If 120VAC power is present at the NO terminals of the relay,
there is a wiring issue between the ATS and the RV AC distribution panel. If no voltage is measured on the NO terminals,
the entire unit will need to be replaced.
4. With the generator running, use an insulated screwdriver to carefully push down on the center arm of the relay until the
center arm of the relay makes contact with the NO contacts of the relay. If AC power is now present in the RV, the circuit
board in the ATS has failed and must be replaced.
4.6 RELAY CONTRACTS BURNED AND PITTED
If the Relay Contacts are burned and pitted, there is an issue with the generator and its voltage is dropping below 90VAC
under load. If this problem occurs, you will need to repair or replace the generator and complete ATS.
5. HI-POT TESTING
(MANUFACTURING COMPANIES ONLY)
If the hi-pot test is performed from the plug on the power cord, the test may only hi-pot the cord itself; it may not test the RV
wiring beyond the switch. The hi-pot test should be performed from either the transfer switch output or from the main panel.
Test as follows:
1. Turn on all circuit breakers in the panel.
2. Make sure the generator is o.
3. Make sure the power cord is unplugged. Verify that the prongs on the power cord plug are protected so that the hi-pot
voltage won’t cause a fault reading from a short, or cause bodily injury from electrical shock.
4. Turn o or disconnect all appliances that would be damaged by the hi-pot test.
5. Connect the hi-pot leads to:
a) Transfer switch ground bar
b) Transfer switch output terminals hot 1, hot 2 (if present), and neutral.
6. Energize the hi-pot and conduct test. This will hi-pot test for leakage (short) between the current-carrying conductors and
the ground in the entire 120/240 VAC circuitry beyond the transfer switch. In most cases it will also test the power cord
itself. Turn o the hi-pot.
7. Do not test the transfer switch generator input. The hi-pot will damage the time delay control module in the transfer switch.
If the generator wires to the switch must be checked, disconnect the generator wires from the transfer switch and connect
hi-pot test leads to the loose wires. Reconnect wires after testing.
8. If hi-pot test fails, there is a short in the system. The next step is to isolate the location of the short. Turn o the main
breaker in panel and hi-pot test again. If the test still fails, the fault is between the switch and the panel. Test cord for
shorted plug. If the test passes, turn on the main breaker, and turn on all branch breakers except one. Retest each branch
circuit individually until the shorted circuit is isolated. Repair the fault and retest. The hi-pot test is successful when there
are no more fault indications.
5. HI-POT TESTING