
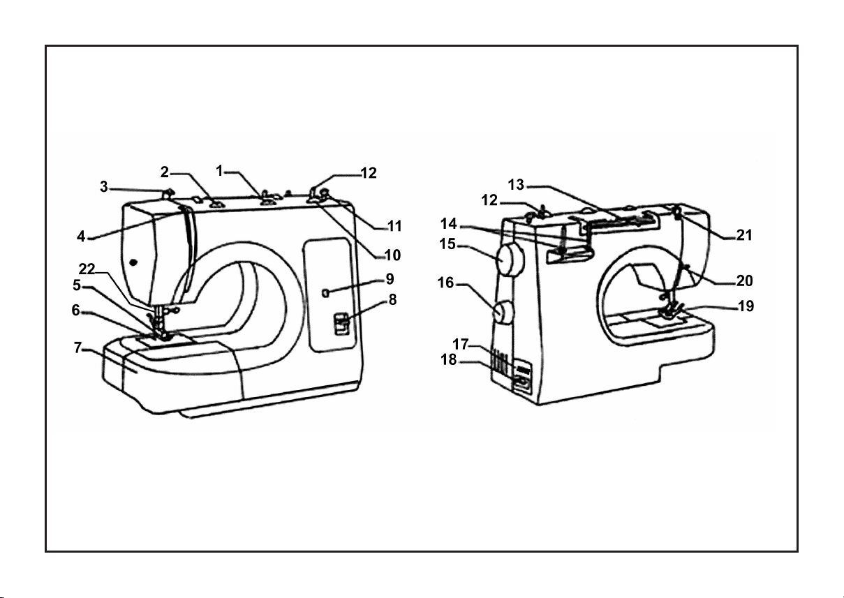
Principal parts ....................................................... 3
Accessories .......................................................... 5
Fitting the snap-in sewing table ........................... 7
Connecting machine to power source .................. 9
Changing the bulb ................................................ 11
Two-step presser foot lever .................................. 13
Attaching the presser foot holder .......................... 15
Winding the bobbin ............................................... 17
Inserting the bobbin .............................................. 19
Changing the needle (System 130/705H) ............ 21
Threading the upper thread .................................. 23
Automatic threader ............................................... 25
Thread tension ..................................................... 27
Bringing up the lower thread ................................. 29
Reverse sewing / Chaning sewing directions
Removing the work .......................................... 31
Matching needle / fabric / thread .......................... 32
How to choose your pattern ................................. 36
Straight stitching and needle position .................. 38
Zig zag sewing ..................................................... 40
Blind hem / lingerie stitch ..................................... 42
Overlock stitches .................................................. 44
Sewing on buttons ................................................ 46
How to sew buttonholes ........................................ 48
Zippers and piping ................................................. 50
Sewing with the hemmer foot ................................ 52
3-step zig zag ........................................................ 54
Stitch selection ...................................................... 56
Smocking stitch ..................................................... 58
Sewing with the cording foot ................................. 60
Free motion darning .............................................. 62
Practical stitches ................................................... 64
Darning ................................................................. 66
Attaching lace ....................................................... 68
Appliqué ................................................................ 70
Twin needle ........................................................... 72
Monogramming and embroidering with
embroidery hoop* ............................................ 74
Quilting .................................................................. 76
Gathering .............................................................. 78
Scallop stitching .................................................... 80
Patchwork ............................................................. 82
Maintenance ......................................................... 84
Troubleshooting guide .......................................... 85
Detalles de la máquina ......................................... 3
Accesorios ............................................................ 5
Ajusta la snap-in mesa plana corrediza ............... 7
Conecta la máquina al fuente eléctrico ................ 9
Cambio de la bombilla ......................................... 11
Palanca alza-prensatelas con dos escalones ...... 13
Montaje del porta-pie ........................................... 15
Embominado del hilo inferior ............................... 17
Colocación de la canilla ....................................... 19
Colocación de la aguja (Sistema 130/705H) ....... 21
Enhebrado del hilo superior ................................ 23
Enhebrado automatico de la aguja ..................... 25
Tensión del hilo ................................................... 27
Subir el hilo inferior ............................................. 29
Coser hacia atrás / Cambio de sentido de costura
Sacar el labor ................................................. 31
Guia de selección de aguja / tejido / hilo ............. 32
Cómo seleccionar el diseño ................................ 36
Punto recto y posición de la aguja ...................... 38
Zigzag ................................................................. 40
Costura invisible / Punta de lenceria ................... 42
Puntos overlock ................................................... 44
Coser botones ..................................................... 46
Coser ojales ........................................................ 48
Colocación de cremalleras ................................. 50
Coser con el pie para ruedos ............................. 52
Zigzag cosido ..................................................... 54
Elección del punto .............................................. 56
Punto de nido de abeja ...................................... 58
Coser con el pie para hilo de cordon .................. 60
Zurcido de brazo libre ......................................... 62
Puntos útiles ....................................................... 64
Zurcido ................................................................ 66
Cómo pegar encajes ........................................... 68
Aplicación ............................................................ 70
Aguja doble ......................................................... 72
Creación de monogramas y recamado con
aro de bordar* ............................................... 74
Para acolchar ...................................................... 76
Para fruncir .......................................................... 78
Puntada festón .................................................... 80
Patchwork ............................................................ 82
Manutención de la máquina ................................ 84
Eliminació de averías .......................................... 86
Pièces principales de la machine ......................... 3
Accessoires .......................................................... 5
Mise en place de la table-rallonge ....................... 7
Branchement de la machine à coudre ................. 9
Changement de l’ampoule ................................... 11
Levier du pied-de-biche à deux positions ............. 13
Montage du support du pied-de-biche .................. 15
Remplir la canette ................................................ 17
Mise en place de la canette ................................. 19
Mise en place de l’aiguille (Système 130/705H) .. 21
Enfilage du fil supérieur ........................................ 23
Enfileur automatique ............................................. 25
Tension du fil ......................................................... 27
Remonter le fil inférieur ......................................... 29
Marche arrière / Pour modifier le sens de la
couture / Retrait de l’ouvrage .......................... 31
Tableau des aiguilles et fils .................................. 32
Sélection des points ............................................. 36
Couture au point droit et position d’aiguille .......... 38
Couture au point zigzag ....................................... 40
Ourlet au point invisible ........................................ 42
Point overlock ....................................................... 44
Pose des boutons ................................................. 46
Faires des boutonnières ....................................... 48
Pose d’une fermeture à glissière .......................... 50
Coudre avec le pied ourleur ................................. 52
Point zigzag cousu ............................................... 54
Sélection eds points ............................................. 56
Point nid d’abeille ................................................. 58
Coudre avec le pied pour cordonnet .................... 60
Reprise à main libre ............................................. 62
Points utilitaires .................................................... 64
Reprisage ............................................................. 66
pose de la dentelle ............................................... 68
Appliqué ............................................................... 70
Couture à deux aiguilles ....................................... 72
Monogramme et broderie à main libre* ................ 74
Coudre avec le guide ............................................ 76
Le fronçage ........................................................... 78
Point feston ........................................................... 80
Patchwork ............................................................. 82
Entretien de la machine ........................................ 84
Comment remédier soi-même aux petits
problèmes ........................................................ 87