USER MANUAL / MANUAL DE USUARIO –MICROSTAR
Page 2of 64
INMANUUML019 USER MANUAL - M. USO OM-200 V.2023.01 ENG-ESP US
TABLE OF CONTENT
1. SYMBOLS................................................................................................................................4
2. SAFETY INFORMATION.........................................................................................................5
2.1 WARNINGS..........................................................................................................................5
3. DESCRIPTION.........................................................................................................................6
3.1 INTENDED USE...................................................................................................................6
3.2 INTENDED USER................................................................................................................6
3.3 DESCRIPTION AND COMPONENTS..................................................................................6
3.3.1 FLOOR STAND MICROSCOPE (OM-200F)..................................................................7
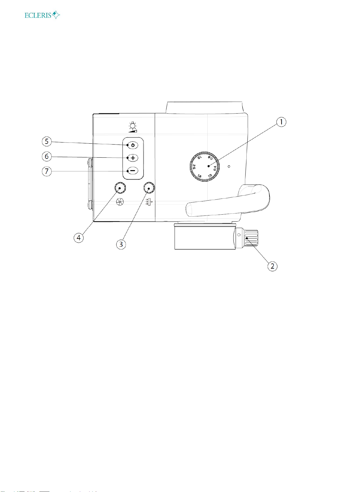
3.3.2 OPTICAL HEAD............................................................................................................8
4. INSTALLATION AND OPERATION .........................................................................................9
4.1 BASE INSTALLATION..........................................................................................................9
4.2 COLUMN INSTALLATION..................................................................................................10
4.3 FOREARM-COLUMN INSTALLATION...............................................................................11
4.4 OPTICAL HEAD-ARM INSTALLATION..............................................................................12
4.5 BINOCULAR-SPLITTER INSTALLATION ..........................................................................13
4.6 VIDEO CABLES INSTALLATION.......................................................................................15
5. OPERATION - FUNCTIONS..................................................................................................16
5.1 MICROSCOPE OPERATION.............................................................................................16
5.2 CONNECTIONS.................................................................................................................17
5.2.1 FOREARM ..................................................................................................................17
5.2.2 ARM............................................................................................................................17
5.3 LIGHT SOURCE.................................................................................................................18
5.4 INTERPUPILLARY DISTANCE ADJUSTMENT..................................................................18
5.5 DIOPTRIC CORRECTION ADJUSTMENT.........................................................................18
5.6 MAGNIFICATION VARIATION...........................................................................................19
5.7 COLOR FILTER SELECTOR .............................................................................................19
5.8 DIAPHRAGM SELECTOR..................................................................................................19
6. MOVEMENT AND SHIPPING................................................................................................19
6.1 FOREARM MOVEMENT....................................................................................................20
6.2 PANTOGRAPHIC ARM MOVEMENT.................................................................................20
6.3 ROTATIONAL MOVEMENT OF THE OPTICAL HEAD ......................................................21
6.4 OPTICAL HEAD ROTATION AXIS.....................................................................................22
6.5 OPTICAL HEAD TILT.........................................................................................................22
6.6 MICROSCOPE SHIPMENT................................................................................................23
6.7 MOUNTING THE MONITOR HOLDER...............................................................................23
7. MAINTENANCE.....................................................................................................................26
7.1 CLEANING.........................................................................................................................26