
Instruction Manual
DHS-5 Remote Spreader - V1.0 www.durapac.com Page 4 of 9
Use only those adapters and attachments provided and approved by Durapac
Never pressurise uncoupled couplers. Only use hydraulic equipment in a coupled
system
3.2 Hydraulic Hoses & Fluid Transmission Lines
Avoid short runs of straight line tubing. Straight line runs do not provide for
expansion and contraction due to pressure and/or temperature changes
Reduce stress in tube lines. Long tubing runs should be supported by brackets or
clips. Before operating the pump, connections should be tightened securely and
leak-free. Over tightening can cause premature thread failure or high pressure
fittings to burst
Should a hydraulic hose ever rupture, burst or need to be disconnected,
immediately shut off the pump and release all pressure. Never attempt to grasp a
leaking pressurised hose with your hands. The force of escaping hydraulic fluid can
inflict injury
Do NOT subject the hose to potential hazard such as fire, sharp objects, extreme
heat or cold or heavy impact
Do NOT allow the hose to kink, twist, curl, crush, cut or bend so tightly that the fluid
flow within the hose is blocked or reduced. Periodically inspect the hose for wear
Hose material and coupler seals must be compatible with the hydraulic fluid used.
Hoses also must not come in contact with corrosive materials such as battery acid,
creosote-impregnated objects and wet paint. Never paint a coupler or hose
FAILURE TO HEED THESE WARNINGS MAY RESULT IN PERSONAL INJURY AS WELL AS PROPERTY DAMAGE.
4.0 Installation
IMPORTANT: Always secure threaded port connections with high grade, non-hardening pipe
thread sealant. Teflon tape can be used if only one layer of tape is used and it is applied
carefully, two threads back, to prevent the tape from being introduced into hydraulic system,
which could cause jamming of precision-fit parts
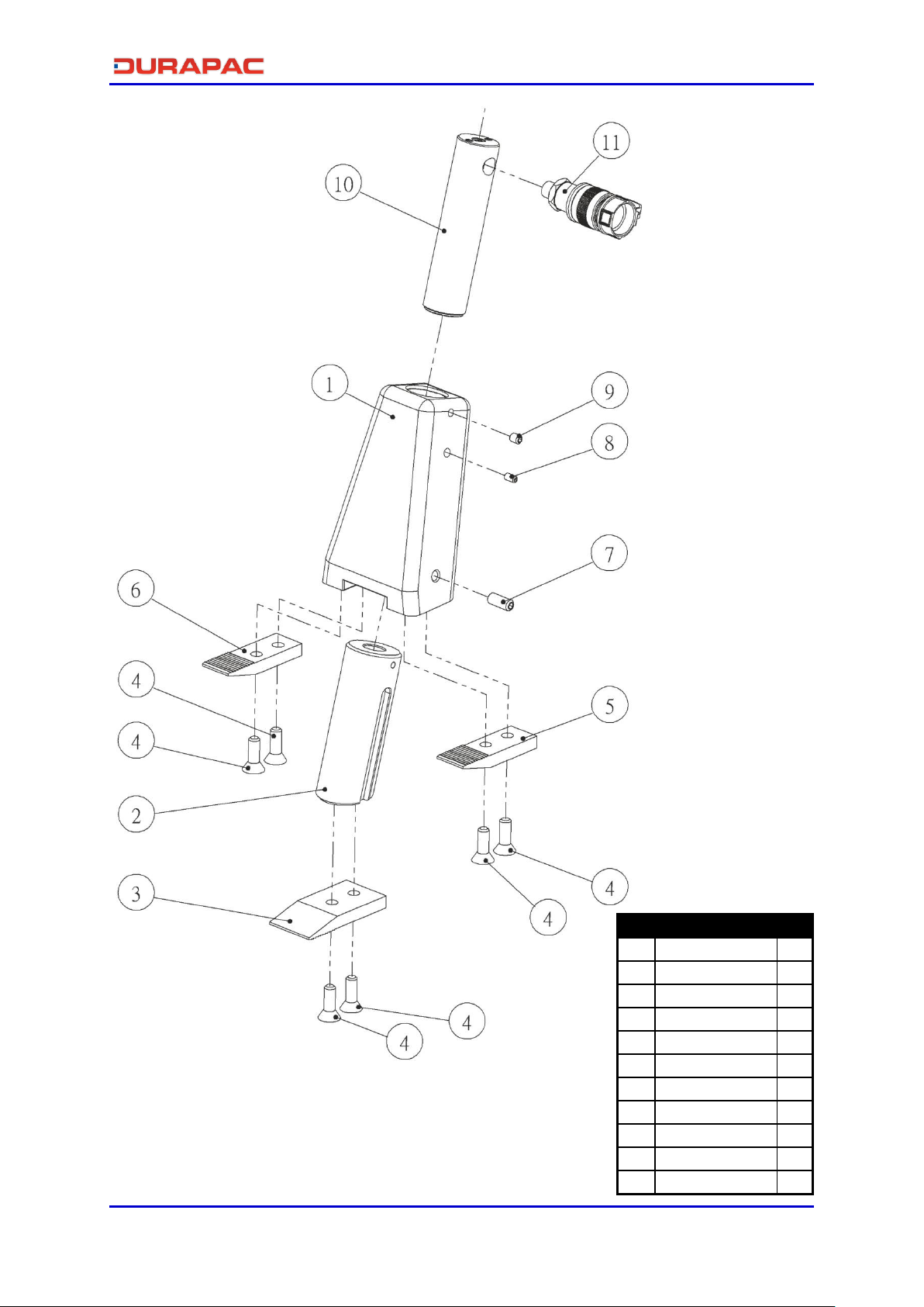
4.1 Familiarise yourself with the specifications and illustrations in this owner’s manual.
Know your spreader, its limitations and how it operates before attempting to use. Refer
to the specification chart below or if in doubt, contact a Durapac representative.
4.2 Make hydraulic connections; use a pump release valve or a 3-way valve and one hose
for a single-acting cylinder.
IMPORTANT: Fully hand-tighten all couplers. Loose coupler connections will block
the flow of oil between the pump and the spreader