Detex GTPLKIT Mode d’emploi

INSTRUCTIONS FOR INSTALLING ADJUSTABLE GATE PLATE (GTPLKIT & GTPL230X)
104918 sheet 1
For device installation videos,
scan code below or
go to www.detex.com/vidoes
Table of Contents
Device parts breakdown view with part numbers.................................
Install gate plate and strike bracket......................................................
Install Value Series or Advantex mounting plate and strike.................
Install 03GS, 08GS or 08GSN options for Value Series/Advantex......
Install ECL-230X mounting plate..........................................................
Install 03GS option for ECL-230X........................................................
Owner's Copy
Sheet
2
3
4
5
6
7
Detex Corporation, 302 Detex Drive, New Braunfels, Texas 78130-3045
830-629-2900 / 800-729-3839 / Fax 800-653-3839 / Text photos only: 830-481-6433 / INTERNET: www.detex.com
104918 March 26, 2020 B
For WARRANTY information,
scan code below or
go to www.detex.com/warranty
Should you have a Qustion/Problem with your Detex device please call Detex Technical Support
from the job site at 1-800-729-3839 and choose option 2 on our menu. Please do not return the
product to the distributor.
Drawing # 105959

104918 sheet 2
Order
Part # DescriptionItem
5
2
7
PARTS BREAKDOWN
1
3
4*
Strike Latch Receiver Bracket, Silver
08GS Spacer, 08 Trim, Wide & Narrow, Silver
Protector, Gate Latch, Silver
03GS Lock Box, Silver
08GSN Spacer, Narrow Lever Trim, Silver
107135 Adjustable Plate, Silver
104345 Adapter Plate Kit, 230X Strike (ECL-230X only)
6
107134
107137
5
2
7
1
3
4*
6
Optional Accessories
105656 Hardware Kit, Gate Plate
8
8
NOTE: Gates vary in many ways and installations will vary. This instruction provided the steps to
install gate plate. The installer must use their best judgement when adjusting the strike bracket and
exit device for the best installation.

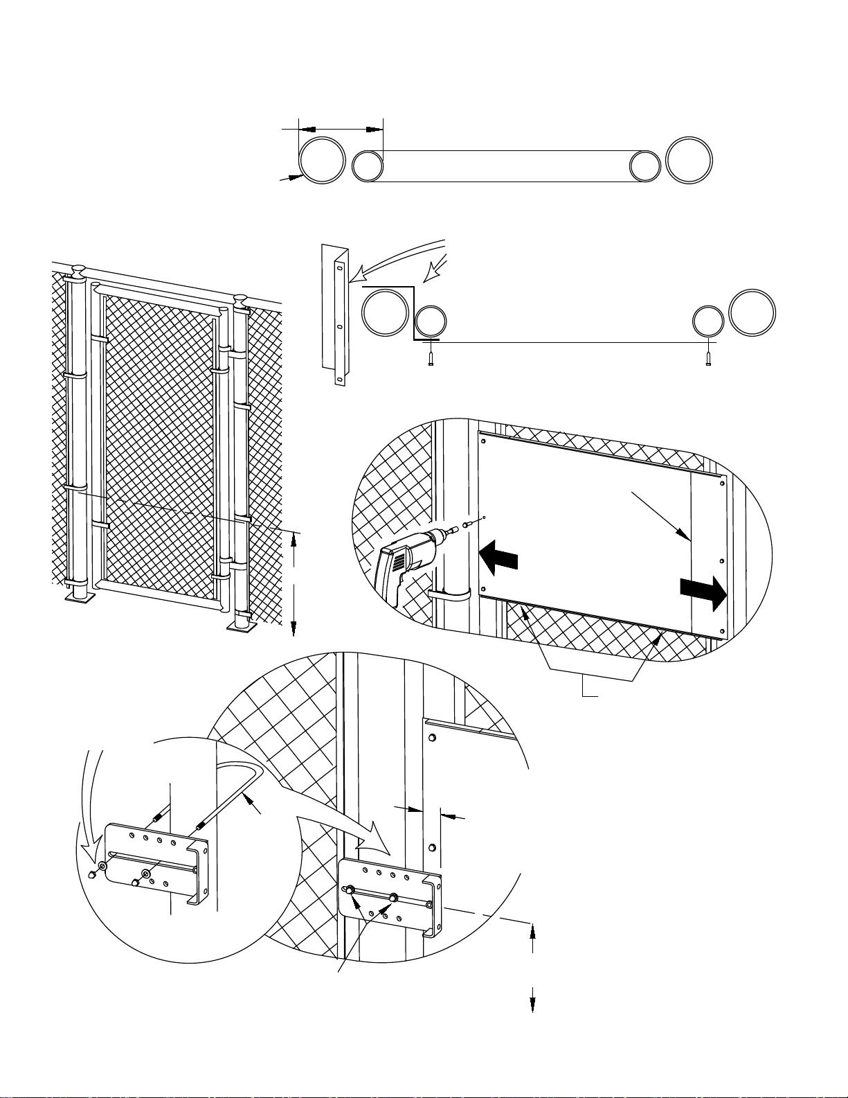
104918 sheet 3
Adjust width as
required to fit gate
This edge to hinge
side of gate
For added security & for large gaps between gate
and post, use Gate Latch Protector.
Mounts between gate and plate to cover gap.
STEP 2: Install plate assembly using 3 tek screws per side.
Plate assembly mounts to INSIDE of gate.
STEP 1:
Mark the BOTTOM of the PLATE
28" from the floor/ground
Note: Strike bracket acts as the gate stop
STEP 3:
Install strike bracket
using acorn nuts
& flatwashers
Installing the Adjustable Gate Plate
Tools required: Safety glasses, Pencil, Level, Power drill, Screwdriver, Tape measure
TOP VIEW
40" from
floor/ground
Latch side
of gate
U-Bolt
28"
Drain holes need
to be on the bottom
7-3/4" MAXIMUM if using
optional 03GS Lockbox
Approximately
1" overlap (varies with gate construction)
Tighten nuts after
positioning bracket
Hinge side

104918 sheet 4
Detex panic device gate mounted instructions
(Value Series shown, Advantex similar)
(continued from sheet 2)
A1: Install device plastic
template into
mounting plate
STEP A: Install device mounting plate
A2: Align strike holes in template
with strike holes in bracket
A3: Mark & drill holes for mounting plate.
A4: NOTE: IF 03GS Lock Box or 08GS / 08GSN Trim Spacers are to be used, see next page
before doing step A4.
Use tek screws & lockwashers supplied in device
hardware kit to attach mount plate to gate
(machine screws and nuts also supplied).
A5: Install 2 tek screws to
secure strike bracket to gate
pole using 2 of the pre-drilled
bracket holes.
Strike bracket must be parallel
with gate plate.
Continue exit device installation using instructions supplied with exit device.
Detex panic device mounting hardware supplied with Detex device.
Install strike per
device instructions.
Hardware included
with exit device.

104918 sheet 5
.69
.94
.44
.69
device C
L
deviceC
L
A6: Draw a vertical line between
the backplate mount holes.
A7: Drill four 1/4" holes at the locations shown below.
1/4" hole
1/4" hole
1/2" hole (ref)
OPTIONAL: Required for 03GS Lock Box and 08GS / 08GSN Trim Spacers
A8: Mount Lock Box
03GS Lock Box
.44 .44
.25
A9: Mount cylinder in 03GS Lock Box
For 03GS Lock Box For 08GSN Trim Spacer
.69
.94
.44
.69
device C
L
A7: 08GSN ONLY: Drill two 1/4" holes at the locations shown below.
1/4" hole
1/4" hole
A8: Mount 08GSN Trim Spacer
08GSN
Trim Spacer
A8: Mount 08GS Wide Trim Spacer
The trim screws hold the spacer in place.
deviceC
L
NARROW
STILE WIDE
STILE
Drill a 1/2" hole where
the 2 centerlines meet.
For 08GS Trim Spacer
1/2" hole (ref)
08GS
Trim Spacer
(can be used with
4 or 2 standoff trims
such as EU2W)

STEP B: Install device mounting plate
Detex panic device mounting hardware supplied with Detex device.
ECL-230X device gate mounted instructions
(continued from sheet 2)
Strike
1/4-20 x 5/8"
PPH screws
B4: Use four (4) tek screws
& lockwashers supplied
in device hardware kit to
attach device mount plate
to gate in locations shown
(machine screws &
nuts also supplied)
Device
40" from
floor/ground
B3: Mark (6)
mounting
plate holes
C
L
B2: Position template against
adapter plate and align template 40"
from floor/ground C
L
B5: Install strike
B6: Install 2 tek screws to secure
strike bracket to gate pole using
2 of the pre-drilled bracket holes.
Strike bracket must be parallel
with gate plate.
Continue exit device installation using instructions supplied with exit device.
1/4-20 x 3/4"
PFH screws
B1: Install adapter plate kit
(p/n 104345)
If 03GS Box is to be used,
mark these locations as well.
See next page for installation
before proceeding to step B4
104918 sheet 6

ECL-230X with 03GS Box
Continue exit device installation using instructions supplied with exit device.
104918 sheet 7
deviceC
L
B7: Draw vertical line
through these
marked locations
.69
.94
.44
.69
device C
L
1/4" hole
1/4" hole
1/2" hole (ref)
.44 .44
.25
B8: Drill 1/2" hole at the
intersection of the 2 lines
B9: Drill four 1/4" holes at the locations shown below.
B10: Mount Lock Box B11: Mount cylinder in 03GS Lock Box
Ce manuel convient aux modèles suivants
1
Table des matières
Manuels Support et étagère populaires d'autres marques

Salamander
Salamander Acadia AC/W/L400/WH Manuel utilisateur

Fohhn
Fohhn VAT-09 Guide de l'utilisateur

ricoo
ricoo FS0522 Manuel utilisateur

AMSOIL
AMSOIL BMK-22 Guide rapide

Kargo Master
Kargo Master 48220 Manuel utilisateur

Milestone AV Technologies
Milestone AV Technologies SIMPLICITY SLF2 Manuel utilisateur











