
DFS150-485 2D Fixed Scanner User Guide
DFS150-485 2D Fixed Scanner
User Guide V1.0
Table of Contents
Chapter 1: Overview.............................................................. 1-1
Chapter 2: Interface .............................................................. 2-1
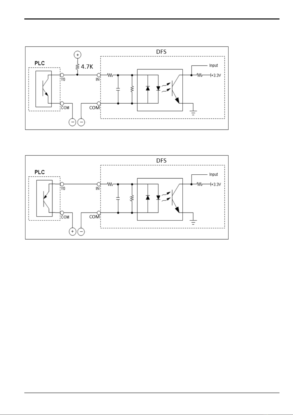
2.1 Input and Output........................................................................... 2-2
2.2 RS485 ............................................................................................ 2-4
2.2.1 Features ............................................................................... 2-4
2.3 LED & Beeper ............................................................................... 2-6
Chapter 3: Power On ............................................................. 3-1
Chapter 4: Operation Mode ................................................. 4-1
4.1 Master Private Mode..................................................................... 4-2
4.2 Master Modbus Mode (PLC Link) ................................................ 4-3
4.3 Slave Modbus Mode ..................................................................... 4-5
Chapter 5: Trigger .................................................................. 5-1
5.1 Continuous Trigger ...................................................................... 5-1
5.2 I/O Trigger...................................................................................... 5-1
5.3 Command Trigger ......................................................................... 5-2
Appendix ................................................................................... A-1
Continuous mode centering windows configuration ...................... A-3
Continuous mode reread delay ......................................................... A-4
Manual mode centering windows configuration.............................. A-5
Data Editing ........................................................................................ A-7
Manual mode centering windows configuration.............................. A-5
Data Editing ........................................................................................ A-7
Symbologies....................................................................................... A-8
Field of View ....................................................................................A-16
Working Range ................................................................................A-17
Modbus Exception Code.................................................................A-18