
6
Installation Continued
1. After calibrating the mounting level of the lathe you should fill the spindle box with No.
10 to No.20 machine oil. The oil level indicator on the front end of the headstock.
2. At this time you should also fill up the oil filler points at the different areas of the lathe
with lubrication oil. Fig. 4
3. check all the operating handles to see whether they work properly and reliably. Make
sure the tightness of the guide way is correct for its movement. If the tightness for the
cross slide and tool rest is not correct you can make an adjustment with a shim or plug
iron.
4. On the first test run of the lathe you should start the spindle to run at the lowest speed
for 20 minutes to allow for a break-in period. This should be down for all speeds until
you reach the maximum speed of the lathe. At each step of the way this will allow you
to make sure that there are no unusual sounds or other problems.
5. Never change to speed or the direction of the lathe until the machine has come to
complete stop.
6. Before putting the machine into normal operation the operator should carefully and
thoroughly read this manual. This will allow the lathe to always perform with precision,
accuracy and a longer life.
Operation
Spindle Box
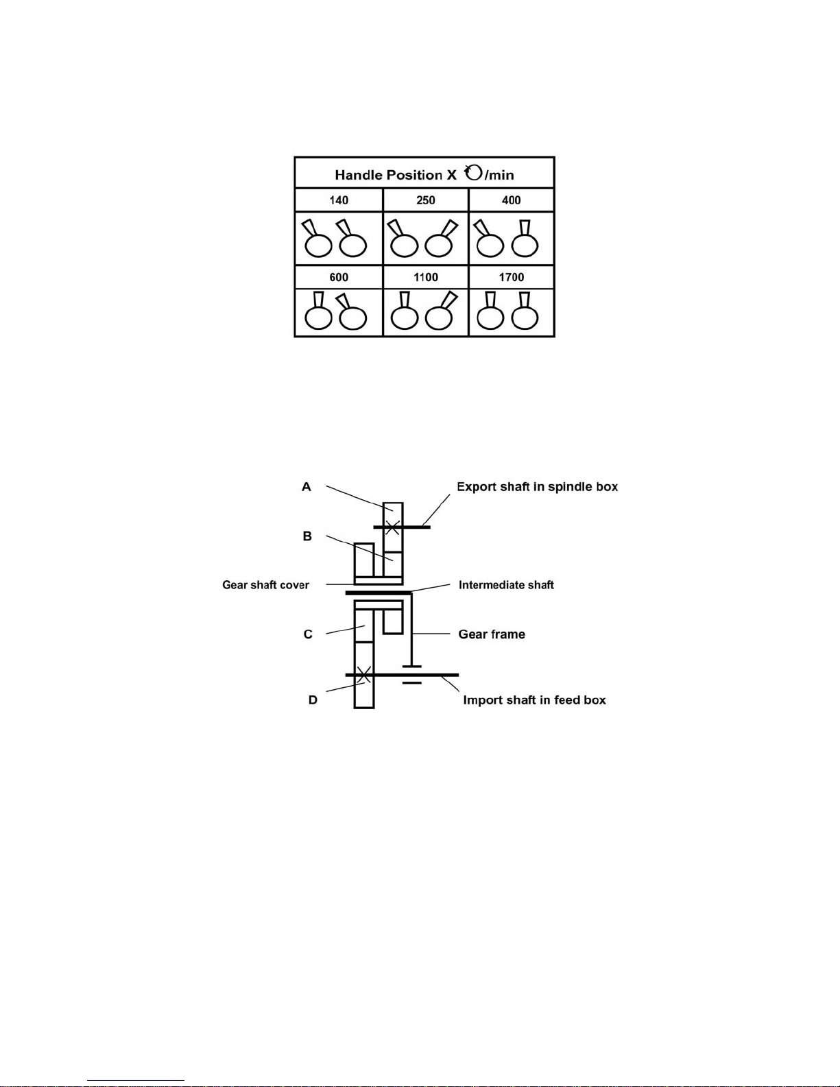
You can move handle (12,13) according to Fig.2 of the handle position control for spindle
rotating speed. If the gears will not bite each other then please turn the 3-jaw chuck by
hand until the gear catches.
Feed Box
Switch (2) is used to operate the forward and reverse motion of the lathe. Switch (1) is a
mini electrical magnetic switch. The power switch cover must be open for the lathe to
operate. After opening the switch press the green button and the lathe will start. For the
emergency stop push the large outer red button and the power will disengage the lathe.
The feed box handle (14) Fig. 1 is used to engage the lead screw.