
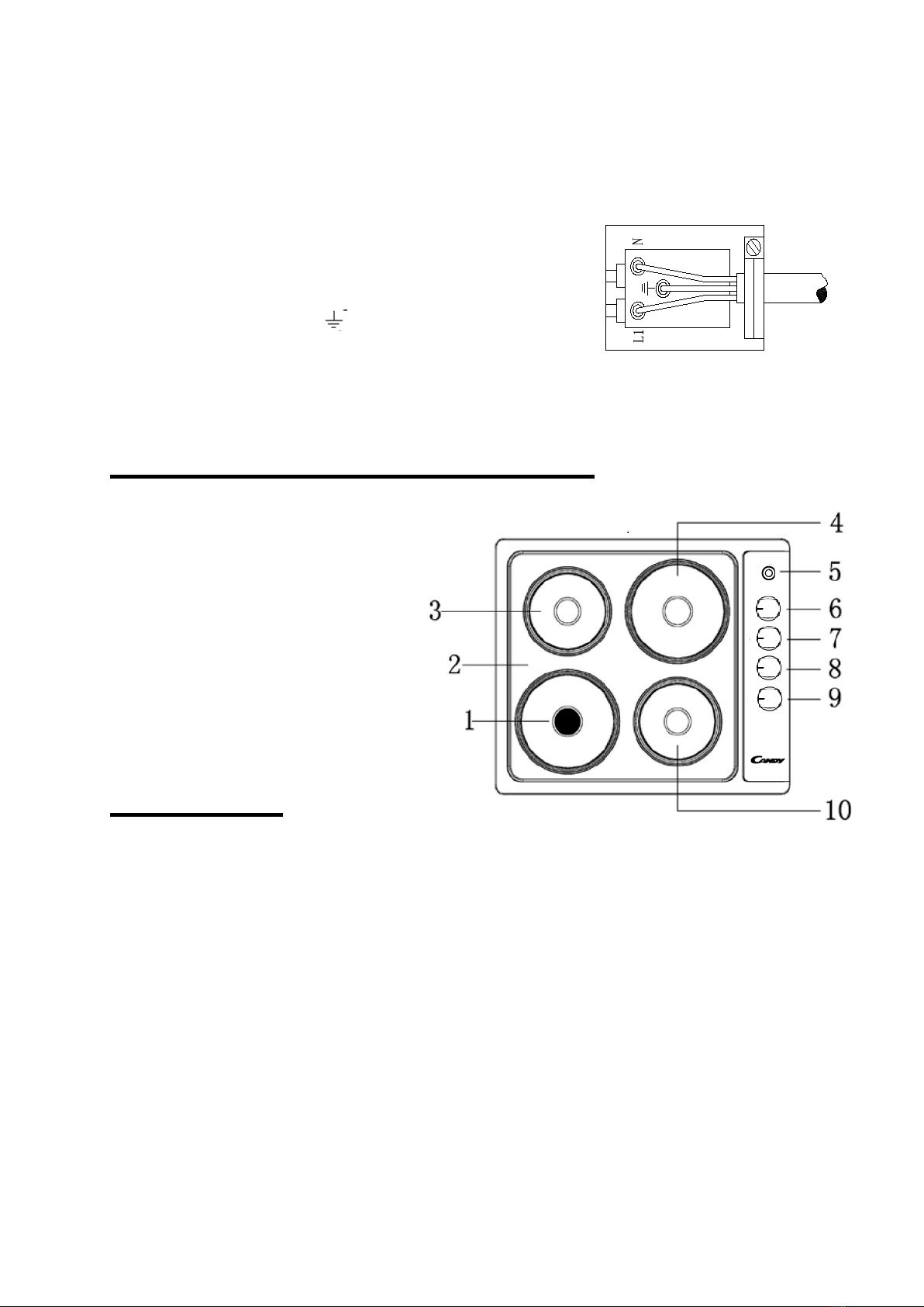
10
1 Avvertenze sulla sicurezza
Questo Manuale di istruzioni per l'utente contiene informazioni importanti, riguardanti
anche la sicurezza e punti di installazione, che consentiranno di sfruttare al massimo
l'elettrodomestico. Conservarlo in un luogo sicuro in modo che possa essere facilmente
consultato in futuro anche da persone che non hanno familiarità con l'uso
dell'elettrodomestico.
Attenzione!
Non utilizzare il piano cottura prima di
aver letto questo manuale di
istruzioni. Il piano cottura è destinato
esclusivamente all'uso domestico.
L'elettrodomestico si surriscalda l'uso.
Prestare attenzione a non toccare la
superficie calda.
Tenere sempre lontani i bambini dal
piano cottura.
Durante l'uso il contatto diretto con il
piano cottura potrebbe provocare
ustioni.
Accertarsi che i componenti di piccole
dimensioni degli elettrodomestici,
compresi i cavi di collegamento, non
tocchino il piano cottura, dal momento
che il materiale isolante degli
elettrodomestici generalmente non
resiste alle alte temperature.
Non lasciare incustodito il piano
cottura quando si frigge. Oli e grassi
possono prendere fuoco a causa del
surriscaldamento o dell'ebollizione.
Non accendere il piano cottura finché
a quando non venga appoggiata una
padella.
Non appoggiare sul piano cottura
pentole di peso superiore a 25 kg.
Non utilizzare il piano cottura in caso
di guasto tecnico. Eventuali guasti
devono essere riparati da una
persona adeguatamente qualificata
e autorizzata.
In caso di incidente causato da un
guasto tecnico, scollegare
l'alimentazione e segnalare il guasto
al centro assistenza per la
riparazione.
Attenersi rigorosamente alle regole
e alle indicazioni contenute in questo
manuale di istruzioni. Non consentire
l'uso del piano cottura a persone che
non conoscono il contenuto di questo
manuale di istruzioni.
Il piano cottura non deve essere pulito
con apparecchi di pulizia a vapore.
IMPORTANTE: i mobili o i vani
adiacenti e tutti i materiali utilizzati
nell'installazione devono essere in
grado di resistere, durante l'uso, a una
temperatura superiore di almeno 85 °C
alla temperatura ambiente
dell'ambiente in cui è installato
l'elettrodomestico.
Il proprietario sarà interamente
responsabile di eventuali danni causati
dall'installazione dell'elettrodomestico
senza tenere conto di questo limite di
temperatura o dal posizionamento di
vani adiacenti a una distanza inferiore
a 4 mm dall'elettrodomestico.
Questo elettrodomestico è conforme
a tutte le normative europee vigenti in
materia di sicurezza. È importante
precisare che questa conformità non
esclude la circostanza che le superfici
dell'elettrodomestico si riscaldano
durante l'uso e trattengono il calore
dopo l'uso.