
INHOUD
VEILIGHEID...................................................................................................................................5
V
OORZORGSMAATREGELEN VOOR GEBRUIK VAN HET TOESTEL
.........................................................5
G
EBRUIK VAN HET APPARAAT
........................................................................................................6
V
OORZORGSMAATREGELEN TEGEN BESCHADIGING
.........................................................................7
V
OORZORGSMAATREGELEN BIJ DEFECT VAN HET APPARAAT
.............................................................8
A
NDERE VOORZORGSMAATREGELEN
..............................................................................................8
BESCHRIJVING VAN HET APPARAAT.......................................................................................9
T
ECHNISCHE KENMERKEN
.............................................................................................................9
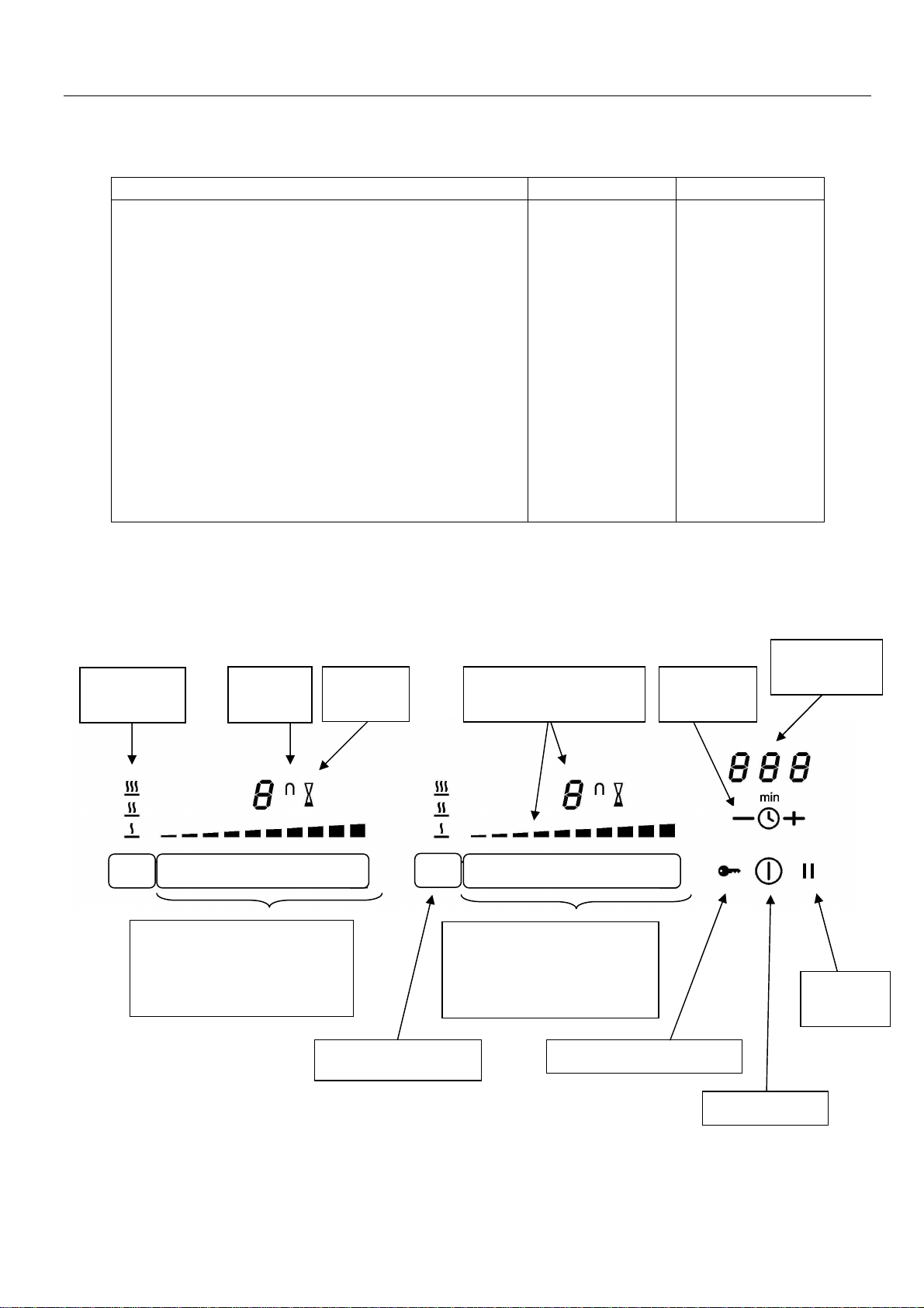
B
EDIENINGSPANEEL
......................................................................................................................9
GEBRUIK VAN HET APPARAAT...............................................................................................10
D
ISPLAY
....................................................................................................................................10
V
ENTILATIE
................................................................................................................................10
IN WERKING STELLEN EN GEBRUIK VAN HET APPARAAT.................................................10
V
OOR HET EERSTE GEBRUIK
........................................................................................................10
P
RINCIPE VAN INDUCTIE
..............................................................................................................10
T
IPTOETSEN
..............................................................................................................................11
S
LIDERBEDIENING EN TIMERINSTELLING
........................................................................................11
I
NWERKINGSTELLING
..................................................................................................................11
D
ETECTIE VAN DE KOOKPOT
........................................................................................................12
A
ANDUIDING RESTWARMTE
..........................................................................................................12
P
OWER FUNCTIE EN
S
UPER
P
OWER FUNCTIE
................................................................................12
T
IMER FUNCTIE
..........................................................................................................................13
P
ROGRAMMEREN VAN DE AANKOOKAUTOMAAT
..............................................................................14
S
TOP
&G
O
F
UNCTIE
....................................................................................................................14
H
ERHALINGSFUNCTIE
.................................................................................................................14
W
ARMHOUDFUNCTIE
..................................................................................................................15
B
RUG EN AUTOMATISCHE BRUGFUNCTIE
.......................................................................................15
G
RILL
F
UNCTIE
..........................................................................................................................16
V
ERGRENDELING VAN HET BEDIENINGSPANEEL
.............................................................................16
KOOKADVIES.............................................................................................................................17
K
WALITEIT VAN DE KOOKPOTTEN
..................................................................................................17
A
FMETINGEN VAN DE KOOKPOTTEN
..............................................................................................17
ONDERHOUD EN REINIGING....................................................................................................18
KLEINE STORINGEN VERHELPEN...........................................................................................18
MILIEUBESCHERMING..............................................................................................................19
INSTALLATIEVOORSCHRIFTEN...............................................................................................20
ELEKTRISCHE AANSLUITING ..................................................................................................21