BERNSTEIN EX802S Manuel utilisateur

DUSCHKABINE EX802/802S
SHOWER CABIN EX802/802S
PAROI DE DOUCHE EX802/802S
PARETE DOCCIA EX802/802S
MONTAGEANLEITUNG - I / 2018 - v1.2
ASSEMBLY INSTRUCTIONS / NOTICE DE MONTAGE / ISTRUZIONI DI MONTAGGIO

2
EX802/EX802S
LIEFERUMFANG
DELIVERY / CONTENU DE LA LIVRAISON / CONTENUTO DELLA CONSEGNA
BENÖTIGTES WERKZEUG
NEEDED TOOL / OUTIL NÉCESSAIRE / STRUMENTO NECESSARIO
Alle Schrauben, die in Verbindung zum Glas stehen, bitte nur per Hand anziehen, nicht maschinell. Ein Richtwert zur
Positionierung der Wandprole bei Nutzung einer Duschtasse sind ca. 10 mm von der Außenkante des Prols bis zur
Außenkante Duschtasse.
Please x the screws on the surface of the glass manually, without borer. Wall proles should be arranged 10 mm to the
external border of the shower tray.
Toutes les vis qui sont conectées au verre sont à serer à la main uniquement. Comme référence pour le positionnement
des prolés de la paroi lors de l’utilisation d’un receveur est d’environ 10 mm bord externe du prolé au bord externe du
receveur.
Non ssare le viti al vetro tramite un avvitatore automatico ma solamente con un avvitatore manuale. Il posizionamento
dei proli della parete è in genere effettuato a 10 mm dal bordo esterno del piatto doccia.
HINWEISE:
WARNING:
REMARQUES:
IMPORTANTE:

3
EX802/EX802S
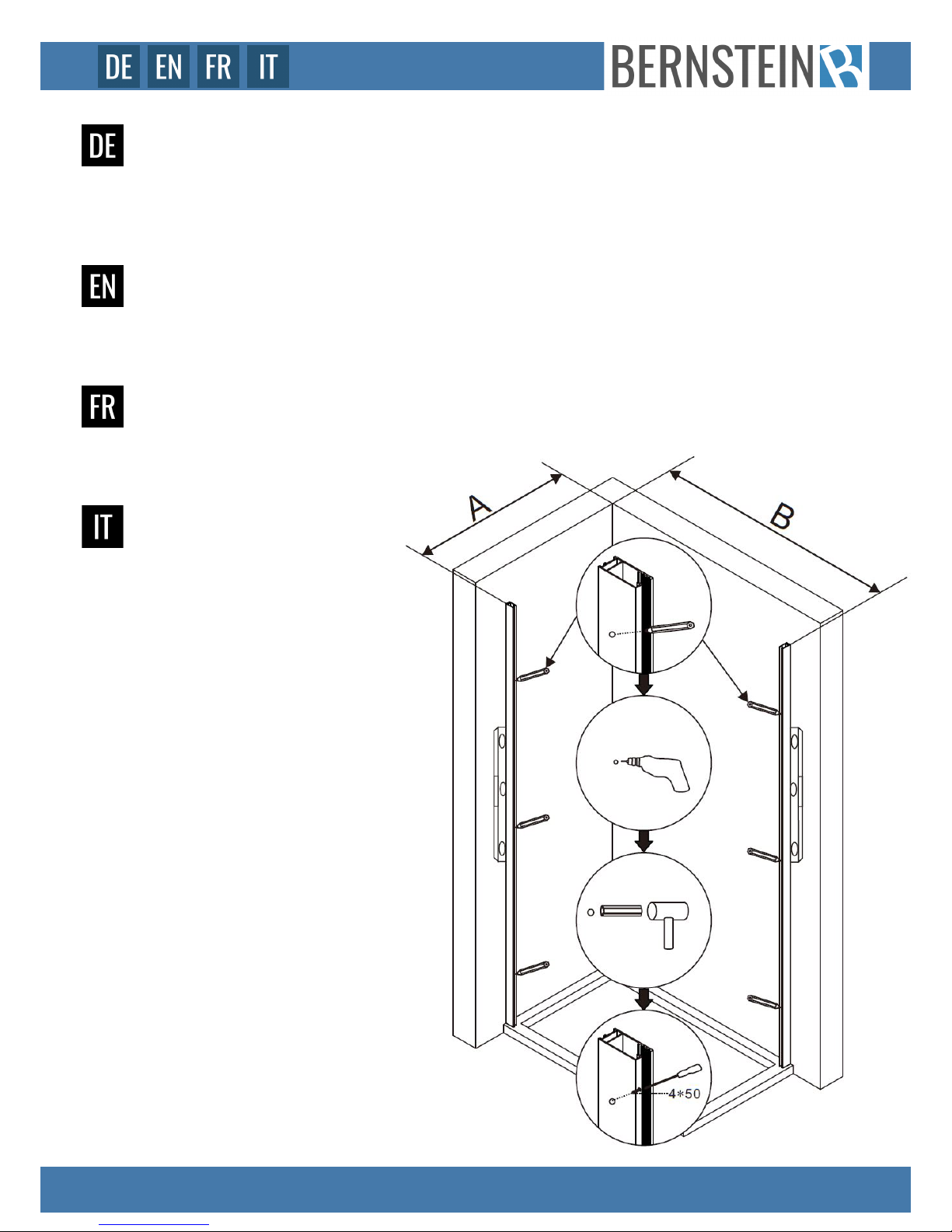
1. Alignez le prol avec le niveau à bulle comme indiqué sur l‘image et marquez les trous avec un stylo.
2. Percer les trous, goujonner et visser le prol.
1. Align the prole with the spirit level as shown in the picture and mark the holes with a pen.
2. Drill the holes and screw the prole using the dowels and screws.
1. Allineare il prolo con la livella come mostrato
nell‘immagine e segnare i fori con una penna.
2. Praticare i fori, tassellare e avvitare il prolo.
MONTAGE:
ASSEMBLY:
ENSEMBLE:
MONTAGGIO:
1. Richten Sie das Prol, wie auf dem Bild zu sehen, mit Hilfe der Wasserwaage aus und markieren Sie die
Bohrlöcher mit einem Stift.
2. Bohren Sie die Löcher, dübeln und verschrauben Sie das Prol.
v
uu

4
EX802/EX802S
Außenseite
Outside / À l‘extérieur / Al di fuori
Innenseite (Nano)
Inside / À l‘intérieur / Dentro
Pfeile zeigen auf der Außenseite nach oben.
Arrows point upwards on the outside.
Les èches pointent vers le haut à l‘extérieur.
Le frecce puntano verso l‘alto all‘esterno.
Ohne Pfeile beidseitig verwendbar.
No arrow. Usable on both sides.
Pas de èche, utilisable des deux côtés.
Nessuna freccia. Reversibile
BITTE BEACHTEN
PLEASE NOTE / À NOTER / NOTA BENE

5
EX802/EX802S
1. Platzieren Sie die kleinen Gummilippen unter den statischen Glaselementen um Spannung zu vermeiden.
2. Schieben Sie die Glaselemente in das Aluminiumprol.
1. Place the small rubber lips under the static glass elements to avoid tension.
2. Slide the glass elements into the aluminum prole.
1. Placez les petites lèvres en caoutchouc sous les éléments en verre statique pour éviter la tension.
2. Faites glisser les éléments en verre dans le prol en aluminium.
1. Posizionare le piccole labbra di gomma sotto gli elementi
di vetro statici per evitare la tensione.
2. Far scorrere gli elementi in vetro nel prolo di alluminio.
HINWEISE:
WARNING:
REMARQUES:
IMPORTANTE:
u
u
v
v

6
EX802/EX802S
u
v
1. Fixez le rail de retenue en L sur la jambe courte avec les vis de l‘intérieur.
2. Fixez la longue patte de l‘intérieur avec la clé hexagonale fournie.
1. Fix the L-retaining rail on the short leg with the screws from the inside.
2. Secure the long leg from the inside with the enclosed hex key.
1. Fissare la guida a L sulla gamba corta con le viti
dall‘interno.
2. Fissare la gamba lunga dall‘interno con la chiave
esagonale inclusa.
MONTAGE:
ASSEMBLY:
ENSEMBLE:
MONTAGGIO:
1. Fixieren Sie die L-Halteschiene am kurzen Schenkel mit den Schrauben von innen.
2. Befestigen Sie den langen Schenkel von innen mit dem beigefügten Sechskantschlüssel.

7
EX802/EX802S
Montieren Sie die Laufrädchen am Glas der Schiebetür. Sollten Sie feststellen, dass die Rädchen nicht gleichmäßig über
die L-Halteschiene gleiten, können Sie diese mit Hilfe des beiliegenden Sechskantschlüssels etwas nachjustieren.
Mount the wheels on the glass of the sliding door. If you notice that the wheels do not slide smoothly over the L-rail, you
can readjust them a little with the help of the enclosed hexagonal wrench.
Montez les roues sur le verre de la porte coulissante. Si vous remarquez que les roues ne glissent pas facilement sur
le rail en L, vous pouvez les réajuster légèrement à l‘aide de la clé hexagonale fournie.
Montare le ruote sul vetro della porta scorrevole.
Se noti che le ruote non scivolano dolcemente sulla
guida a L, puoi regolarle leggermente con l‘aiuto
della chiave esagonale allegata.
HINWEISE:
WARNING:
REMARQUES:
IMPORTANTE:

8
EX802/EX802S
1. Fixez la bande d‘aluminium au bas de la porte vitrée.
2. Mettez la porte sur la piste en acier inoxydable.
3. Fixez les joints magnétiques à la porte vitrée et à la vitre xe à l‘entrée.
4. Installez le rouleau pour protéger la porte contre le remplissage.
5. Fixez maintenant le bouchon sur le rail „L“.
1. Attach the aluminum strip to the bottom of the glass door.
2. Put the door on the stainless steel track.
3. Attach the magnetic seals to the glass door and the xed glass at the entrance.
4. Install the roller to protect the door from being populated.
5. Now attach the stopper to the „L“ rail.
1. Attaccare la striscia di alluminio sul fondo della porta di vetro.
2. Metti la porta sulla pista di acciaio inossidabile.
3. Attaccare le guarnizioni magnetiche alla porta di vetro e il vetro sso all‘ingresso.
4. Installare il rullo per proteggere la porta dall‘essere popolata.
5. Attaccare ora il fermo alla guida „L“.
MONTAGE:
ASSEMBLY:
ENSEMBLE:
MONTAGGIO:
1. Bringen Sie die Aluminium-Leiste unten an der Glastür an.
2. Setzen sie die Tür auf die Edelstahl-Spur.
3. Befestigen Sie die Magnetdichtungen an der Glastür und dem feststehenden Glas am Einstieg.
4. Installieren Sie die Walze um die Tür vor dem Herausspringen zu schützen.
5. Befestigen Sie nun den Stopper an der „L“ Schiene.
u
v
y
w
x

9
EX802/EX802S
1. Installez le joint en aluminium comme dans l‘image voir
en utilisant les supports en plastique.
Pulvériser Silicone sous le joint (voir photo).
2. Fixer le joint sur le côté de la porte vitrée
1. Install the aluminum gasket as in the picture see using the plastic brackets.
Spray that Silicone under the seal (see picture).
2. Fasten the gasket to the side of the glass door
1. Installare la guarnizione in alluminio come nella gura
vedi usando le parentesi di plastica.
Spray quello Silicone sotto il sigillo (vedi gura).
2. Fissare la guarnizione sul lato della porta di vetro .
MONTAGE:
ASSEMBLY:
ENSEMBLE:
MONTAGGIO:
1. Installieren Sie die Aluminium Dichtung wie auf dem Bild zu sehen mithilfe der Kunststoffhalterungen.
Spritzen Sie das Silikon unter die Dichtung (siehe Bild).
2. Befestigen Sie die Dichtung seitlich an der Glastür
u
v

10
EX802/EX802S
1. Placez les joints entre le verre et le prol mural.
1. Place the gaskets between the glass and the wall prole.
1. Posizionare le guarnizioni tra il vetro e il prolo della parete.
MONTAGE:
ASSEMBLY:
ENSEMBLE:
MONTAGGIO:
1. Setzen Sie die Dichtungen zwischen das Glas und das Wandprol.
u
Ce manuel convient aux modèles suivants
1
Table des matières
Autres manuels BERNSTEIN Autre




















