
6
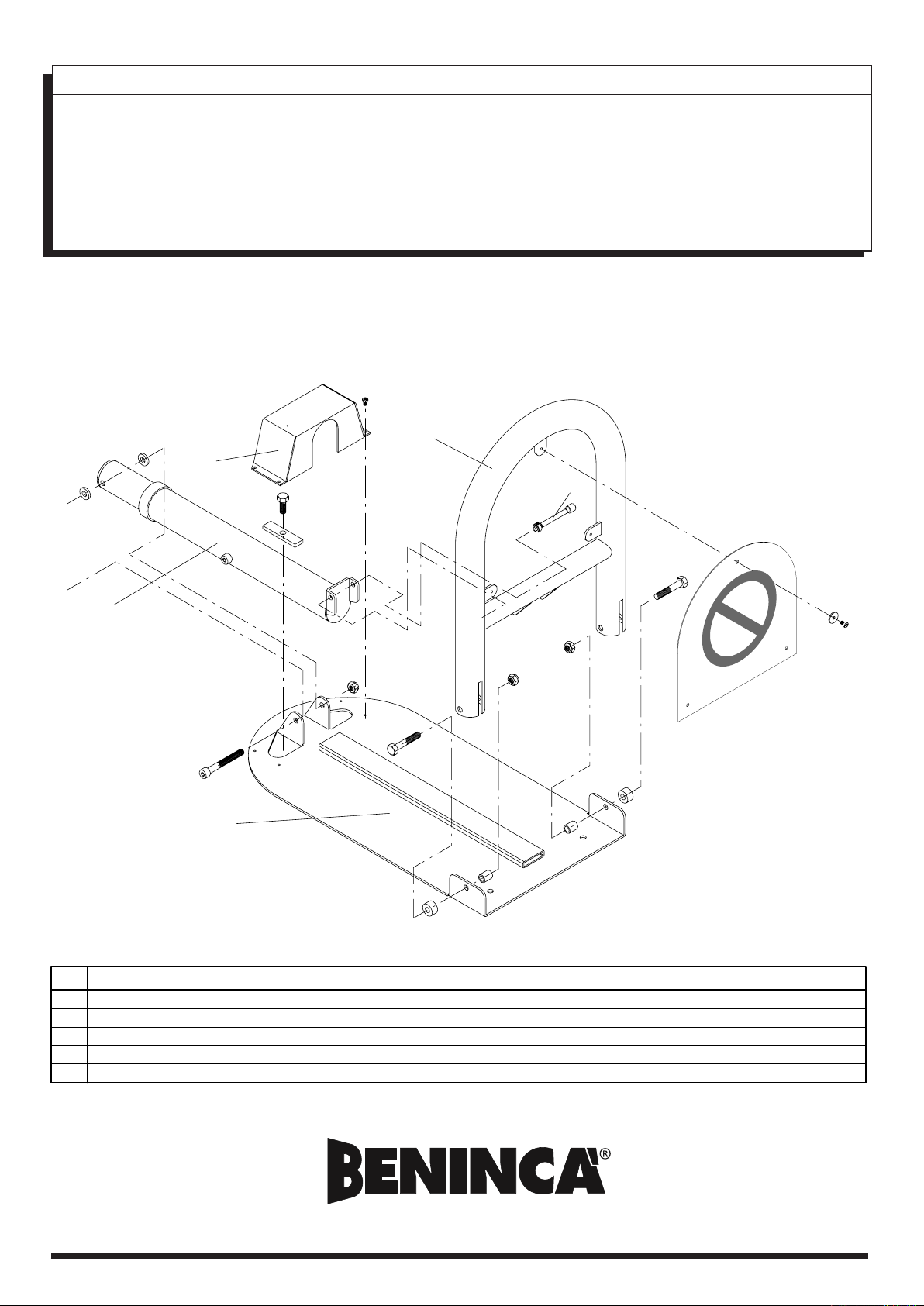
1. Installation (fig. 1)
• Wherever it is not provided, prepare a base in cement (min 700x450mm) with a tube for the running of power supply
cables (2x1.5mm2 for distances lower than 20 metres; 2x2.5mm2 for greater distances).
• Remove the removable guard “C”.
• Fit the operator to the ground by means of 4 screw anchors and relevant screws “V” (M8 max).
Use the base as a template for the front holes. Conversely, for the rear holes, the plates “P” permit to make not very
accurate holes. In any case, make sure that, once the above plates have been fitted, they do not hinder the instal-
lation of the cover “C”.
• Connect the power supply cable coming from the expansion module DA.E (terminals 1 and 2) to terminal “M” (for an
easier operation, terminal “M” can be detached from the removable guard to carry out the wiring. After connection,
retighten the terminal in its correct position).
N.B.: No polarity should be kept into account.
• Replace the removable wire guard “C”.
2. Manual release (fig. 1)
To carry out the manual operation, back-off the dowel “S” (with the wrench supplied) and remove pin “T”.
3. Accidental hits (Fig. 1)
The VE.SOR is provided with a break point (pin “T”) which safeguards the automatic system in the event of accidental
hits, hence reducing the damages to a minimum.
4. Accessories
• Power supply card DA.SO4 (with the expansion modules, up to 4 systems can be controlled).
• Expansion module DA.E (one for each automatic system).
• Card for battery recharge DA.RB.
CAUTION
All Benincá products are covered by insurance policy for any possible damages to objects and persons caused by con-
struction faults under condition that the entire system be marked CE and only Benincá parts be used.
-----------------------------------------------
1. Installation (Abb. 1)
• Wenn nicht vorhanden, einen Platz aus Zement fertigen (min. 700x450mm), und ein Rohr für die Speisekabel auslegen
(2x1.5mm2 wenn kürzer als 20 Meter; 2x2.5mm2 wenn länger).
• Kasten “C” abnehmen.
• Das Betätigungsgerät am Boden mit 4 Dübeln und den Schrauben “V” (M8 max.) befestigen.
Die Grundplatte als Schablone für die vorderen Löcher verwenden; für die hinteren Löcher braucht die Position der
Bohrungen durch die Platten „P“ nicht so genau vorgenommen zu werden. Lediglich darauf achten, daß nach der
Befestigung der Kasten „C“ noch richtig angebracht werden kann.
• Speisekabel von dem Erweiterungsmodul DA.E (Klemmen 1 und 2) an die Klemme ”M” schließen (um bequemer
zu arbeiten, kann der Kasten zur Verkabelung abgenommen werden; am Ende, den Kasten wieder an seinem Platz
festschrauben). N.B.: Die Polarität braucht nicht beachtet zu werden.
• Kasten “C” zum Schutz der Leiter wieder positionieren.
2. Manuell entsichern (Abb. 1)
Um die manuelle Betätigung vorzunehmen, genügt es den Dübel “S” (mit dem mitgelieferten Schlüssel) lockern und den
Stift “T” heraus ziehen.
3. Zufällige Stöße (Abb. 1)
VE.SOR ist mit einer Bruchstelle (Stift “T”) versehen, die die Automatik vor zufälligen Stößen schützt und den Schaden
auf ein Minimum beschränkt.
4. Zubehörteile
• Speisekarte DA.SO4 (mit Erweiterungsmodulen, kann bis zu 4 Automatiken steuern).
• Erweiterungsmodul DA.E (ein Modul pro Automatik).
• Karte Batterieladung DA.RB.
BITTE BEACHTEN
Alle Produkte BENINCA’ wurden mit einem Versicherungsschein versehen, der alle eventuellen Schäden an Dingen oder
Personen abdeckt, die durch Herstellungsdefekte hervorgerufen wurden, vorausgesetzt, das Gerät besitzt die Kenn-
zeichnung EU und es wurden original BENINCA’ Einzelkomponenten verwendet.