
2
integral water wash system cleans the inside of
the grease extraction chamber either by manual
activation of the Wash Start button or by a
programmable timer. The duration of the wash is
electrically controlled. The wash system is also
activated by an electrical thermostat or a manual
switch in the event of a fire condition. A surface
fire extinguishing system is required and may be
factory supplied.
Auto Wash control panels are provided with these
systems. Wiring diagrams are provided with this
manual.
Installation shall be in accordance with NFPA 96.
D.Airflow Requirements
Minimum exhaust airflow requirements and
maximum make-up airflow requirements [where
air is introduced directly inside the canopy] are
shown on the chart below. These flow rates were
established under laboratory conditions. Greater
exhaust airflows and/or reduced make-up airflows
may be required for complete capture.
CFM REQUIREMENTS
400°F Cooking 600°F Cooking 700°F Cooking
Model No. Surface Equip. Surface Equip. Surface Equip.
AFWO,AFBO 200 300 525
AFDO,AFWP
AFBP,AFDP
AFWE,AFDE
AFBE
AFWI,AFBI 250[175] N/R N/R
AFDI,AFWD
AFBD,AFDD
AFIO,AFIP 250 400 600
AFIE
AFII,AFID 300[150] N/R N/R
AXWO,AXBO 200 275 525
AXDO,AXWP
AXBP,AXDP
AXWE,AXDE
AXBE
AXWI,AXBI 250[175] N/R N/R
AXDI,AXWD
AXBD,AXDD
AXIO,AXIP 250 400 600
AXII 300[150] N/R N/R
AWWO,AWWP 194 270 *525
AWWE,AWDO
AWDP,AWDE
AWBO,AWBP
AWBE
AWWI,AWBI 250[190] 270[146] N/R
AWDI,AWWD
AWBD,AWDD
AWTE,AWTP 400 420 N/R
AWTO
N/R = Not Recommended
*=Manufacturer's test results not yet submitted to U.L. for capture tests.
E.Fire Extinguishing Systems
There are two basic types of ventilator fire
extinguishing systems in use today:
Wet Chemical and Water Mist. Wet Chemical
Systems may be all or partially factory installed
[by the Fire System Manufacturer]; final hook up
and certification at job site is done by the Fire
System Manufacturer's local representative.
These systems must be periodially inspected,
and critical parts replaced. It is suggested that a
service contract be purchased from the local
representative. For further details refer to the
manufacturer's technical manual.
AVTEC manufactures and installs a water mist
fire extinguishing system, "MIST-A-FIRE", that
connects to the building fire sprinkler system
[must be "wet" type system]. Final connect of this
system must be done in the field by the sprinkler
contractor or authorized plumber. A
certification/inspection report is done by an
authorized AVTEC representative. Periodic
inspection is generally required, but replacement
of parts and periodic maintenance is virtually
eliminated. For further details, refer to the
AVTEC MIST-A-FIRE Installation and Operating
Technical Manual.
II. INSTALLING THE VENTILATOR
The ventilator is supplied with brackets to facilitate
the attachment of hanger rods to the vent. Hanger
rods should be attached to all brackets to ensure
proper support.
A.Ascertain that the ceiling/roof structure is strong
enough to support the weight of the hood and
support system. The approximate weight of the
hood is shown below:
45 lbs/linear ft. for hoods w/o AMU plenums.
55 lbs/linear ft. for hoods w/AMU plenums.
125 lbs for fire control cabinet.
B.Carefully uncrate the hood so as not to dent or
scratch the outer surface.
C.Position the hood on the floor in approximately
its final installed location.
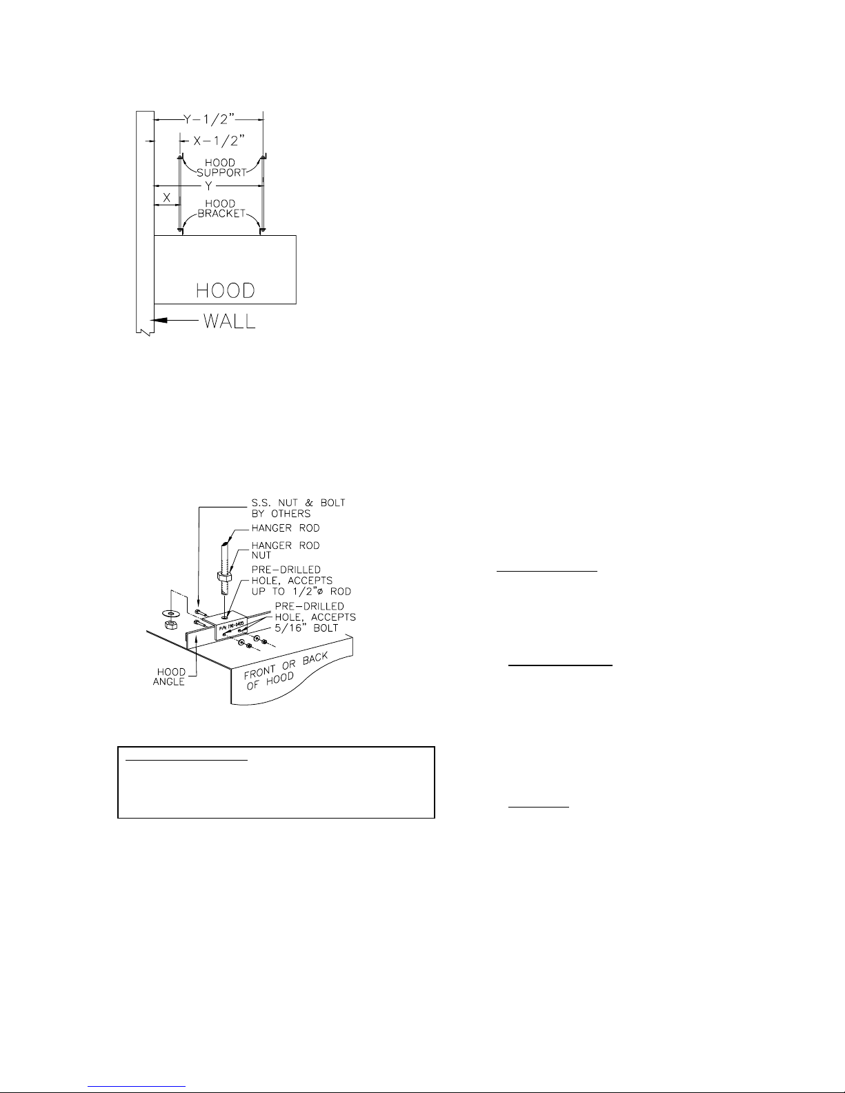
D.Use 1/2" threaded rods to hang the hood. The
hanger rods should be approximately 1/2" closer
to the wall at the structural attachment location
than at the top of the hood. [see fig. #4] This
ensures that the hood is held tightly against the
wall.
Note! Do not remove Support Brace until Ventilator
installation is complete. Upon completion of
installation, dispose of Support Brace and replace the
Acorn Nuts to their original locations.